| ||||||||||||||||||||||||||||
Скачать ОССПЖ 2001 Отраслевые сметные цены на перевозки грузов для строительстваДата актуализации: 10.08.2017
|
| Обозначение: | ОССПЖ 2001 |
| Обозначение англ: | 2001 |
| Статус: | действует |
| Название рус.: | Отраслевые сметные цены на перевозки грузов для строительства |
| Дата добавления в базу: | 12.02.2016 |
| Дата актуализации: | 05.05.2017 |
| Дата введения: | 01.06.2011 |
| Область применения: | Отраслевые сметные цены на перевозки грузов для строительства разработаны в ценах по состоянию на 01.01.2000 г. в качестве приложения к сметным нормативам "Отраслевые сметные цены на материалы, изделия и конструкции" |
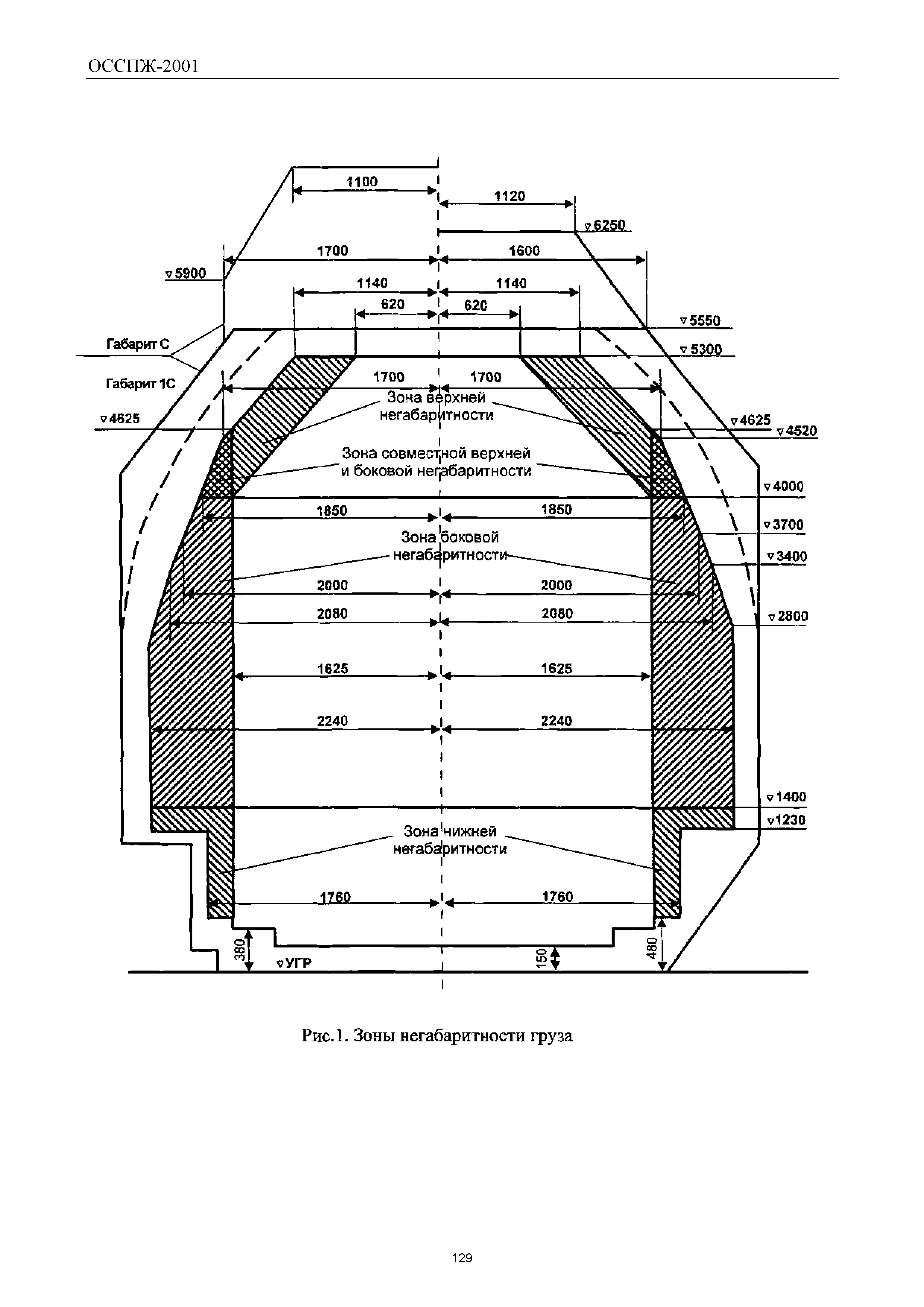
| Оглавление: | I. Общие положения Раздел 1. сметные цены на погрузо-разгрузочные работы Раздел 2. Сметные цены на тару, упаковку и реквизит Раздел 3. Сметные цены на перевозку грузов автомобильным транспортом Раздел 4. Сметные цены на перевозку грузов тракторами с прицепами Раздел 5. сметные цены на перевозку грузов железнодорожным транспортом II. Отраслевые сметные цены на перевозки грузов для строительства Раздел 1. Сметные цены на погрузо-разгрузочные работы Раздел 2. Сметные цены на тару, упаковку и реквизит Раздел 3. Сметные цены на перевозку грузов автомобильным транспортом Раздел 4. Сметные цены на перевозку грузов тракторами с прицепами Раздел 5. сметные цены на перевозку грузов железнодорожным транспортом III. Приложения Приложение 1. Затраты по доставке кранов на железнодорожном ходу Приложение 2. Сметные цены на реквизит, учитываемые при каждой последующей перевалке Приложение 3. Перечень районов Крайнего Севера и местностей, приравненных к ним по условиям транспортирования Приложение 4. Поясные коэффициенты к сметным ценам на перевозку грузов автомобильным транспортом Приложение 5. Номенклатура и классификация грузов, перевозимых автомобильным транспортом Приложение 6. Коэффициенты использования грузоподъемности автомобиля по классам груза Приложение 7. Коэффициенты к сметным ценам при перевозке грузов специализированными автотранспортными средствами Приложение 8. Поясные коэффициенты к сметным ценам на перевозку грузов тракторами с прицепами Приложение 9. Дополнительная плата за порожний пробег тракторов с прицепами Приложение 10. Тарифные классы грузов и нормы загрузки вагонов (крытых, платформ, полувагонов) Приложение 11. Степень и зона (вид) негабаритности груза Приложение 12. Транспортные расходы при перевозке звеньев рельсошпальной решетки, рельсовых плетей бесстыкового пути и блоков стрелочных переводов Приложение 13. Поправочные коэффициенты к сметной цене подачи и уборки вагонов Приложение 14. дополнительные транспортные расходы по доставке гравия, щебня, песка и камня бутового платформами (полувагонами) до места строительства Приложение 15. Расстояния от станции отправления до места производства работ, в пределах которых сметная стоимость перевозки материалов включается в стоимость строительно-монтажных работ Приложение 16. Затраты на перевозку балластных материалов и грунта дренирующего хоппер-дозаторами и думпкарами от станции отправления до станции назначения Приложение 17. Затраты по подаче и уборке вагонов на станции назначения и от станции назначения к месту производства работ при одновременной подаче четырех вагонов в группе Приложение 18. Коэффициенты к затратам по подаче и уборке вагонов на станции назначения и от станции назначения к месту производства работ при одновременной подаче более четырех вагонов в группе Приложение 19. Кратчайшие тарифные расстояния между основными станциями (транзитными пунктами) железных дорог Российской Федерации |
| Разработан: | ОАО РЖД НО Национальная ассоциация стоимостного инжиниринга |
| Утверждён: | 31.01.2011 ОАО РЖД (178р) |
| Расположен в: |















































































































































































