| ||||||||||||||||||||||||||||||||||
Скачать Методические указания по наладке и обслуживанию гидравлических регуляторов Союзтехэнерго (ОРГРЭС) в системах теплоснабженияДата актуализации: 10.08.2017 |
| Статус: | не действует |
| Название рус.: | Методические указания по наладке и обслуживанию гидравлических регуляторов Союзтехэнерго (ОРГРЭС) в системах теплоснабжения |
| Название англ.: | Procedural Guidelines for Adjustment and Maintenance of Hydraulic Regulators in Piped Heat Supply Systems |
| Дата добавления в базу: | 21.05.2015 |
| Дата актуализации: | 05.05.2017 |
| Дата введения: | 01.06.1998 |
| Область применения: | Методические указания предназначены для эксплуатационного, ремонтного и наладочного персонала, обслуживающего гидравлические средства автоматизации тепловых сетей, тепловых пунктов и других узлов систем теплоснабжения, а также для проектных и монтажных организаций. |
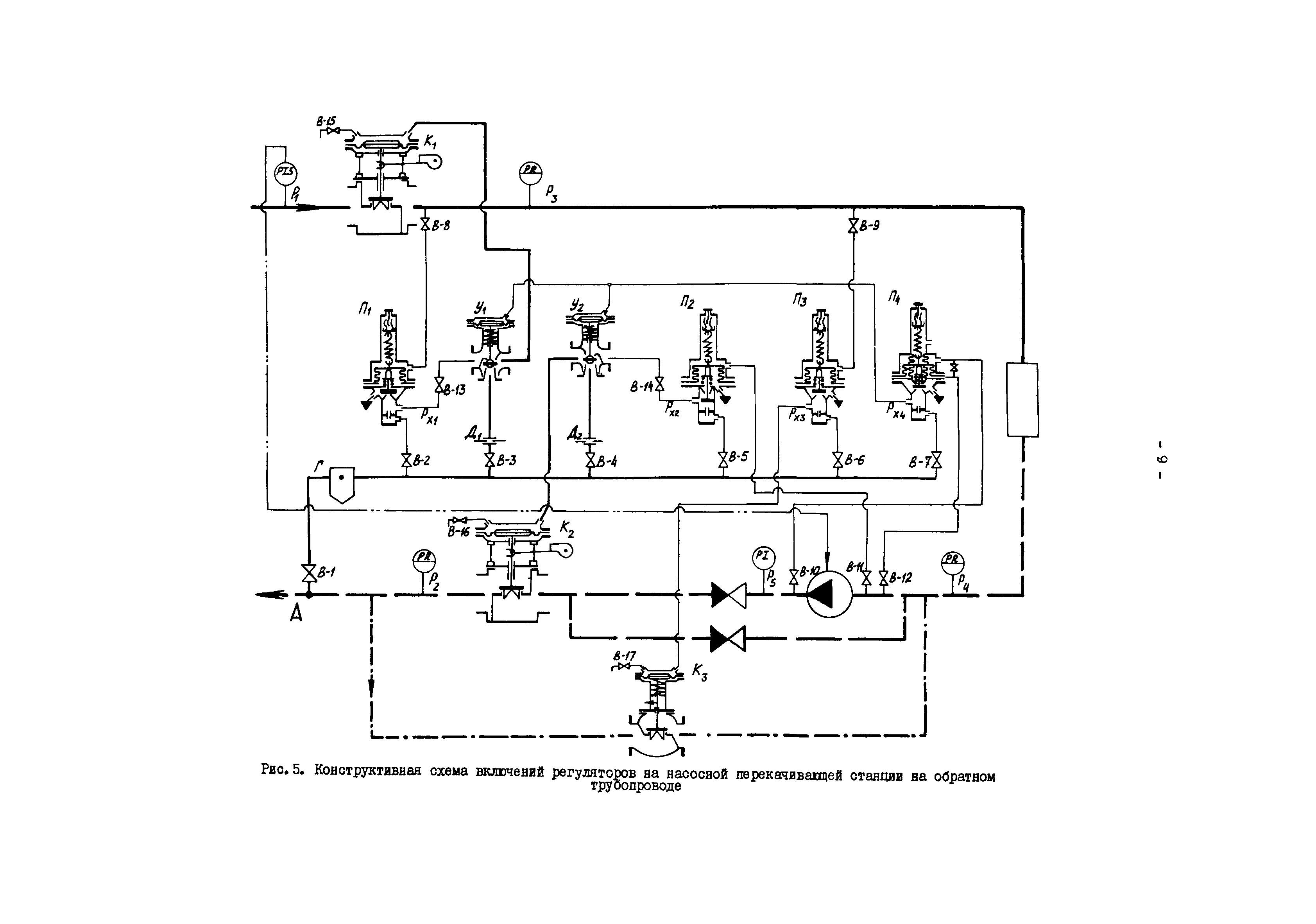
| Оглавление: | 1. Введение 2. Область применения регуляторов 3. Схемы включения и принципы действия регуляторов 4. Наладка регуляторов 5. Обслуживание регуляторов Приложение 1. Обозначения графические, буквенные в схемах Приложение 2. Основные технические характеристики регуляторов Приложение 3. Условия применения средств автоматизации Приложение 4. Клапаны регулирующие типа РК—I (ИК—25) Приложение 5. Прибор регулирующий типа РД—3а Приложение 6. Прибор терморегулирующий типа ТМП Приложение 7. Регулятор типа УРРД Приложение 8. Регулятор типа УРРД—М Приложение 9. Регулятор типа РТБ Приложение 10. Клапан смесительный с защитой (КСЗ) Приложение 11. Перечень заводов—изготовителей Приложение 12. Возможные неисправности регуляторов и методы устранения Приложение 13. Технические требования при монтаже регуляторов Приложение 14. Метод определения скорости перемещения регулирующего органа Список использованной литературы |
| Разработан: | Союзтехэнерго |
| Утверждён: | 11.12.1985 Союзтехэнерго |
| Издан: | Союзтехэнерго (1987 г. ) |
| Расположен в: | |
| Заменяет собой: |
|
| Чем заменён: | |
| Нормативные ссылки: |
|




















































