| ||||||||||||||||||||||||||||
Скачать ТТК К-4-22-1 Разбивка котлованов для анкерно-угловых железобетонных опор с цилиндрическими стойками наружным диаметром 800 мм ВЛ 110 - 330 кВДата актуализации: 10.08.2017
|
| Обозначение: | ТТК К-4-22-1 |
| Обозначение англ: | К-4-22-1 |
| Статус: | не установлен срок действия |
| Название рус.: | Разбивка котлованов для анкерно-угловых железобетонных опор с цилиндрическими стойками наружным диаметром 800 мм ВЛ 110 - 330 кВ |
| Дата добавления в базу: | 01.10.2014 |
| Дата актуализации: | 05.05.2017 |
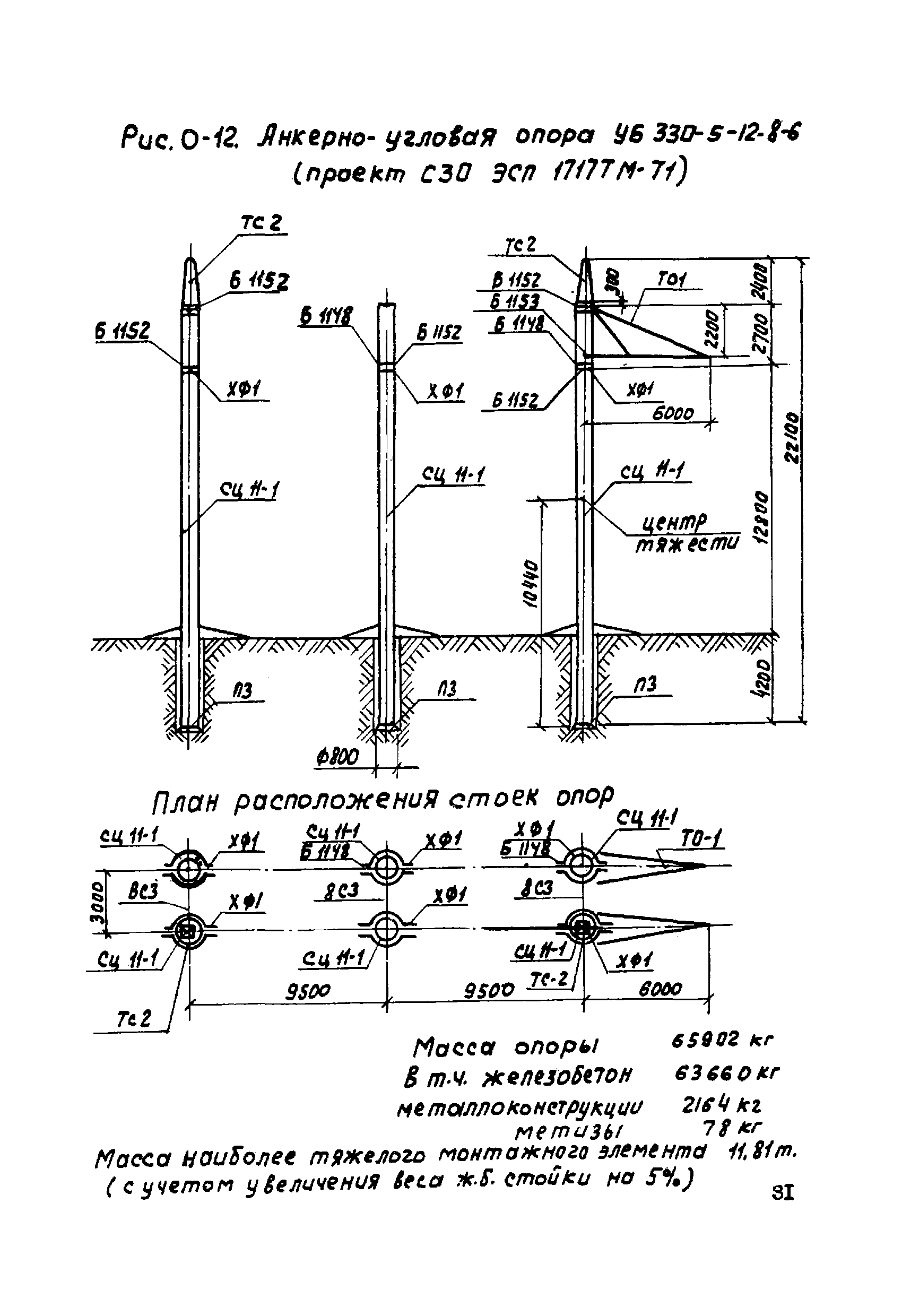
| Область применения: | Технологическая карта служит руководством при разбивке котлованов анкерно-угловых опор на строительстве линий электропередачи, а также пособием для проектирования производства работ |
| Оглавление: | 1 Область применения 2 Организация и технология строительного процесса 3 Технико-экономические показатели 4 Материально-технические ресурсы (для одного звена) 4.1 Инструменты и материалы |
| Разработан: | Институт Оргэнергострой |
| Утверждён: | Институт Оргэнергострой |
| Расположен в: | |
| Нормативные ссылки: |
















































