| ||||||||||||||||||||||||||
Скачать ТТК К-I-16-10 Засыпка фундаментов под анкерно-угловые трехстоечные опорыДата актуализации: 10.08.2017
|
| Обозначение: | ТТК К-I-16-10 |
| Обозначение англ: | К-I-16-10 |
| Статус: | отменен |
| Название рус.: | Засыпка фундаментов под анкерно-угловые трехстоечные опоры |
| Дата добавления в базу: | 01.10.2014 |
| Дата актуализации: | 05.05.2017 |
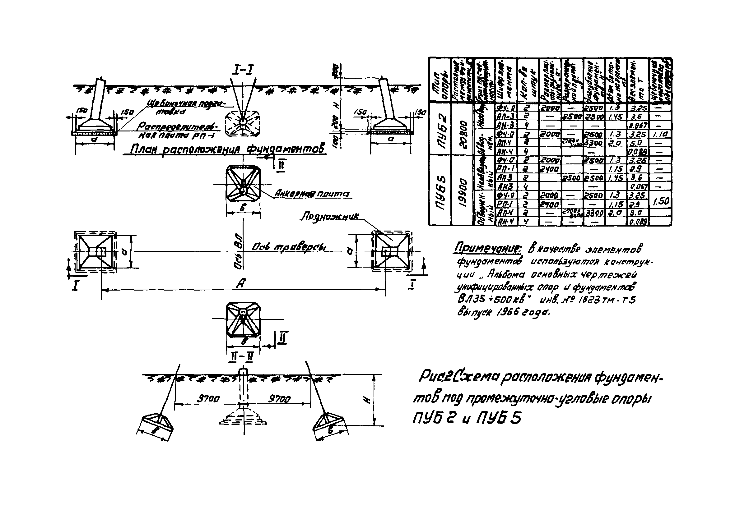
| Область применения: | Карта служит руководством при засыпке фундаментов под анкерно-угловые трехстоечные опоры ВЛ 500 кВ. Карта предназначена также в качестве пособия при проектировании производства работ |
| Оглавление: | Область применения Технико-экономические показатели на 100 м3 засыпки Организация и технология производства работ Организация и методы труда рабочих Материально-технические ресурсы (на одно звено рабочих) Инструменты и материалы Потребность в основных эксплуатационных материалах Калькуляция трудозатрат на засыпку фундаментов и уплотнение грунта засыпки Затраты труда и механизмов на засыпку фундаментов и уплотнение грунта засыпки |
| Разработан: | Институт Оргэнергострой |
| Утверждён: | Институт Оргэнергострой |
| Расположен в: |


















