| ||||||||||||||||||||||||||||||||||
 Скачать Р 50.2.087-2013 Государственная система обеспечения единства измерений. Электроэнцефалографы, электроэнцефалоскопы и электроэнцефалоанализаторы. Методика поверкиДата актуализации: 10.08.2017
 | 
| Обозначение: |   Р 50.2.087-2013 | 
| Обозначение англ: |   R 50.2.087-2013 | 
| Статус: | введен впервые | 
| Название рус.: | Государственная система обеспечения единства измерений. Электроэнцефалографы, электроэнцефалоскопы и электроэнцефалоанализаторы. Методика поверки | 
| Название англ.: | State systems for ensuring the uniformity of measurements. Electroencephalographs, electroencephalscopes and electroencephalanalyzers. Verifacation procedure | 
| Дата добавления в базу: | 21.05.2015 | 
| Дата актуализации: | 05.05.2017 | 
| Дата введения: | 01.01.2015 | 
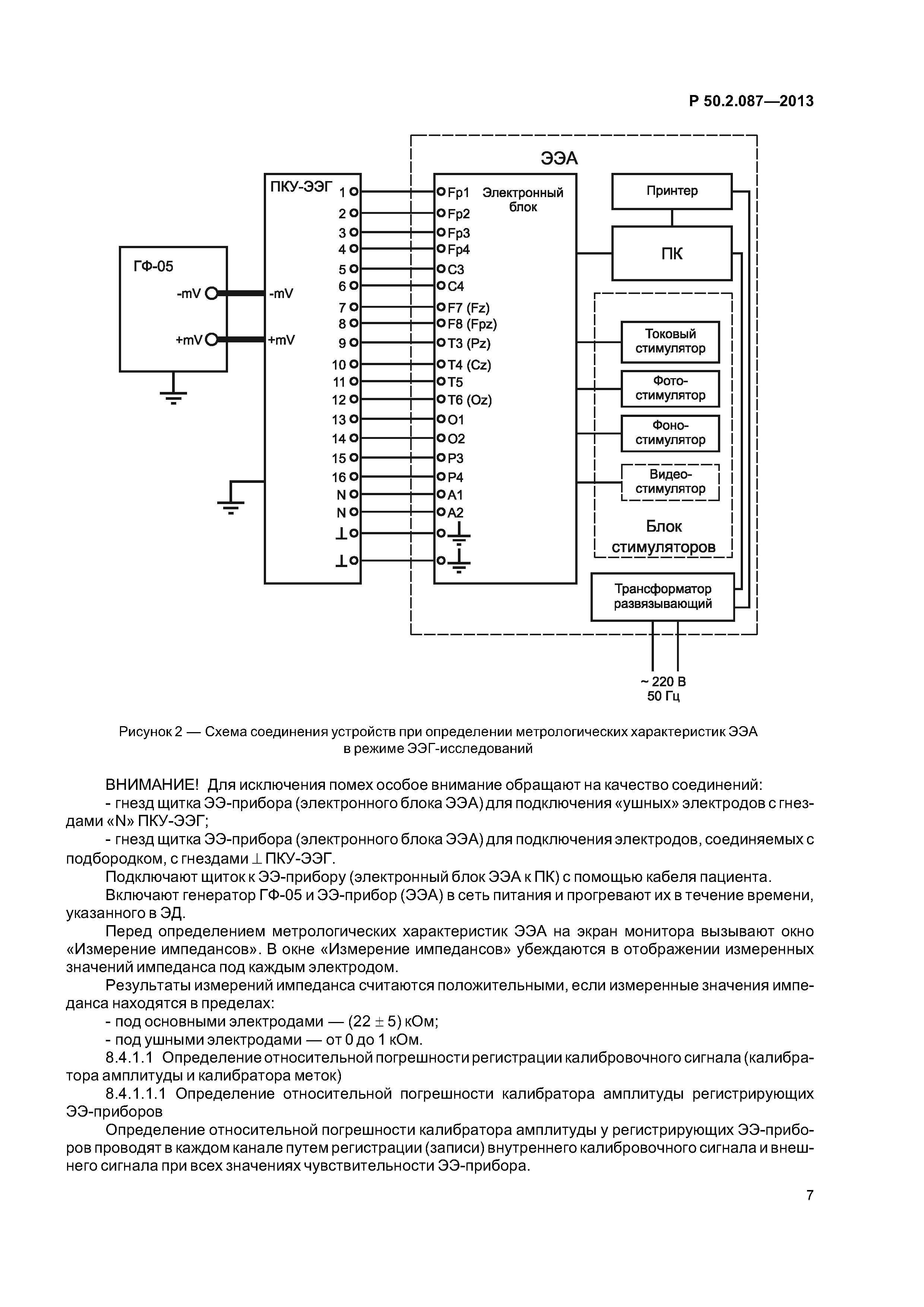
| Область применения: | Рекомендации распространяются на электроэнцефалографические приборы и комплексы (электроэнцефалографы, электроэнцефалоскопы и электроэнцефалоанализаторы, в том числе, компьютеризированные) (далее - ЭЭ-приборы), как отечественного, так и зарубежного производства, предназначенные для регистрации, измерения и анализа электроэнцефалографических сигналов (ЭЭГ) и вызванных потенциалов (ВП) головного мозга на электро-, фото-, фоно-, видеостимуляцию и применяемые в диагностических целях, и устанавливает методику их первичной и периодической поверок на местах применения или (и) в стационарных условиях. Межповерочный интервал устанавливают при утверждении типа средств измерений и он должен быть указан в эксплуатационной документации. Рекомендации распространяются также на каналы ЭЭГ и ВП мозга нейрокартографов и других сложных комплексов, предназначенных для исследования функций головного мозга. | 
| Оглавление: | 1 Область применения 2 Нормативные ссылки 3 Термины, определения и сокращения 4 Операции поверки 5 Средства поверки 6 Требования безопасности и к квалификации поверителей 7 Условия поверки и подготовка к ней 8 Проведение поверки и обработка результатов измерений 8.1 Внешний осмотр 8.2 Опробование регистрирующих 33-приборов 8.3 Опробование электроэнцефалоанализаторов 8.4 Определение метрологических характеристик 8.4.1 Определение метрологических характеристик в режиме ЗЭГ-исследований 8.4.2 Определение метрологических характеристик в режимах исследования вызванных потенциалов (ВП) 9 Оформление результатов поверки Приложение А (обязательное) Схема электрическая принципиальная ПКУ-ЭЭГ Приложение Б (обязательное) Нормируемые параметры испытательных сигналов в режимах исследования вызванных потенциалов Приложение В (обязательное) Схема электрическая принципиальная ПКУ-ЭМГ Приложение Г (рекомендуемое) Форма протокола поверки Библиография  | 
| Разработан: |  ФГУП ВНИИОФИ АНО ВНИИИМТ АМТН РФ ФГБУ ВНИИИМТ Росздравнадзора  | 
| Утверждён: | 06.09.2013 Федеральное агентство по техническому регулированию и метрологии (1017-ст) | 
| Издан: |  Стандартинформ (2015 г. ) | 
| Расположен в: | |
| Нормативные ссылки: | 
  | 






























