Информационная система
«Ёшкин Кот»

Скачать базу одним архивом
Скачать обновления
История создания базы
Карта сайта

Скачать Типовой проект 411-2-182.87 Альбом I. Общая пояснительная записка. Технологические чертежи. Архитектурно-строительные решения. Конструкции железобетонные

Дата актуализации: 10.08.2017

Типовой проект 411-2-182.87

Альбом I. Общая пояснительная записка. Технологические чертежи. Архитектурно-строительные решения. Конструкции железобетонные

Обозначение: Типовой проект 411-2-182.87
Обозначение англ: 411-2-182.87
Статус:не определен законодательством
Название рус.:Альбом I. Общая пояснительная записка. Технологические чертежи. Архитектурно-строительные решения. Конструкции железобетонные
Дата добавления в базу:01.10.2014
Дата актуализации:05.05.2017
Дата введения:03.01.1986
Оглавление:Содержание альбома
Пояснительная записка
Технология производства
   Общие данные
   Спецификация
   План расположения технологического оборудования
   План расположения технологического оборудования в осях 1 - 9
   План расположения технологического оборудования в осях 4 - 11. План ленточных конвейеров
   План на отм. 0.000. Система технологического пароснабжения
Архитектурные решения
   Общие данные
   План на отм. 0.000
   Фрагмент 1. План на отм. 3.600. Деталь входа для t = минус 40 градусов Цельсия. Деталь крыльца
   Разрезы. Узлы
   Фасады
   Развертка стены по оси 10. План отверстий на 1 этаже (0.000). План отверстий на 2 этаже (3.600). Детали
   Венткамера П1. План на отм. 5.500. Сечения. Узел 1
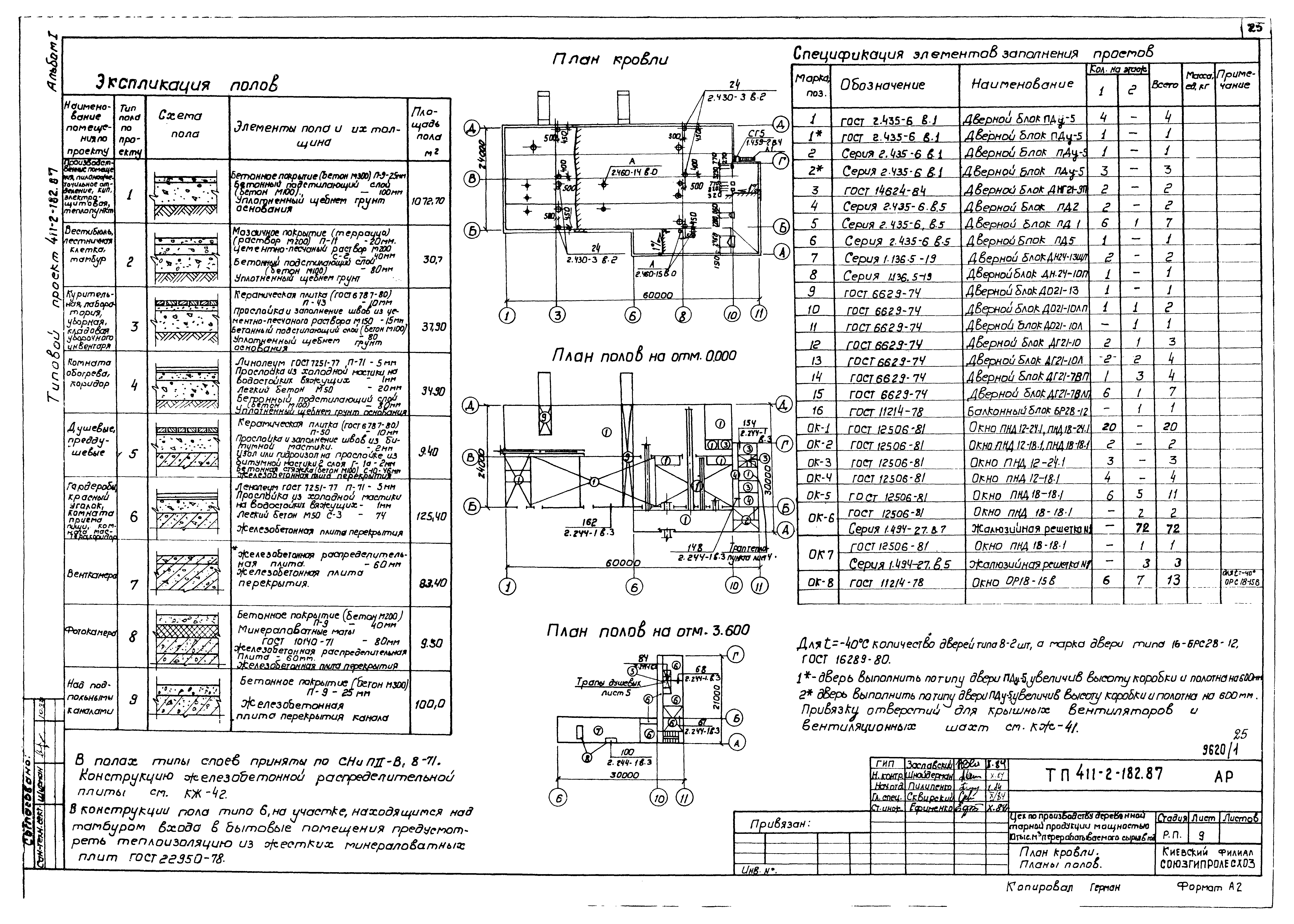
   План кровли. План полов
   Ведомость перемычек
   Спецификация перемычек
Конструкции железобетонные
   Общие данные
   План фундаментов
   Сечения монолитных фундаментов 1-1 - 7-7
   Сечения монолитных фундаментов 8-8 - 15-15
   Сечения сборных фундаментов 1-1 - 9-9 для t = минус 20 градусов Цельсия
   Сечения сборных фундаментов 1-1 - 9-9 для t = минус 30 градусов Цельсия
   Сечения сборных фундаментов 1-1 - 9-9 для t = минус 40 градусов Цельсия
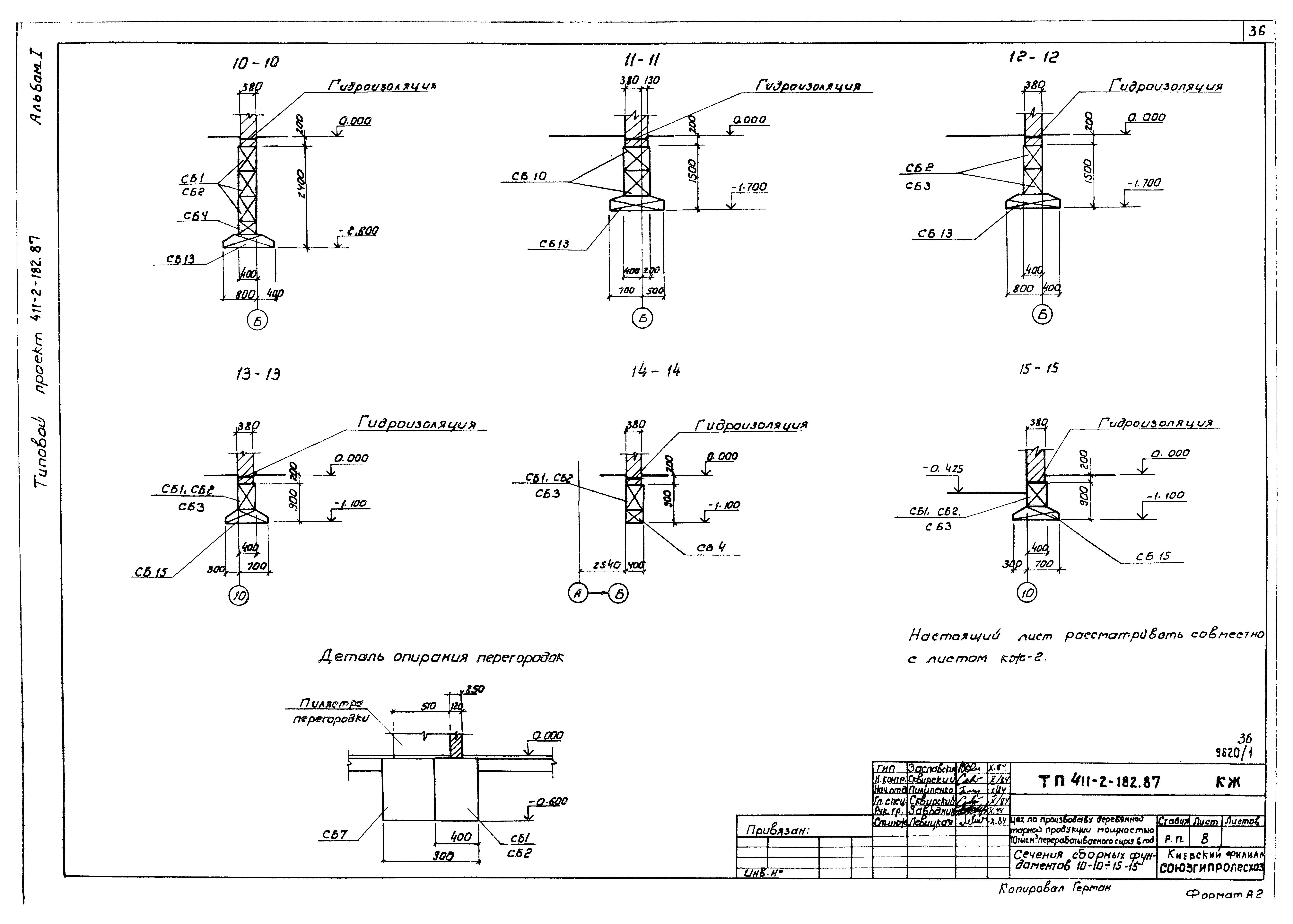
   Сечения сборных фундаментов 10-10 - 15-15
   Раскладка блоков для t = минус 20 градусов Цельсия
   Раскладка блоков для t = минус 30 градусов Цельсия
   Раскладка блоков для t = минус 40 градусов Цельсия
   Фундаменты Фм1 - Фм5
   Фундаменты Фм6 - Фм8
   Фундаменты Фм9 - Фм12
   Фундаменты Фм13 - Фм15
   Фундаменты Фм16 - Фм19
   Фундаменты Фм20 - Фм22
   Схема расположения каналов и фундаментов под оборудование в осях 1 - 5
   Схема расположения каналов и фундаментов под оборудование в осях 5 - 11
   Сечения 1-1 - 9-9
   Приямок траверсной тележки
   Схема расположения фундаментов под оборудование на отм. - 2.050
   Схема расположения фундаментов под оборудование на отм. - 2.900
   Эстакада у лесорамы. Схема расположения фундаментов бревнотаски вне цеха
   Фундамент под оборудование ФОм1. Опалубочный чертеж
   Фундамент под оборудование ФОм1. Армирование
   Фундамент под оборудование ФОм2
   Фундаменты под оборудование ФОм3 - ФОм7
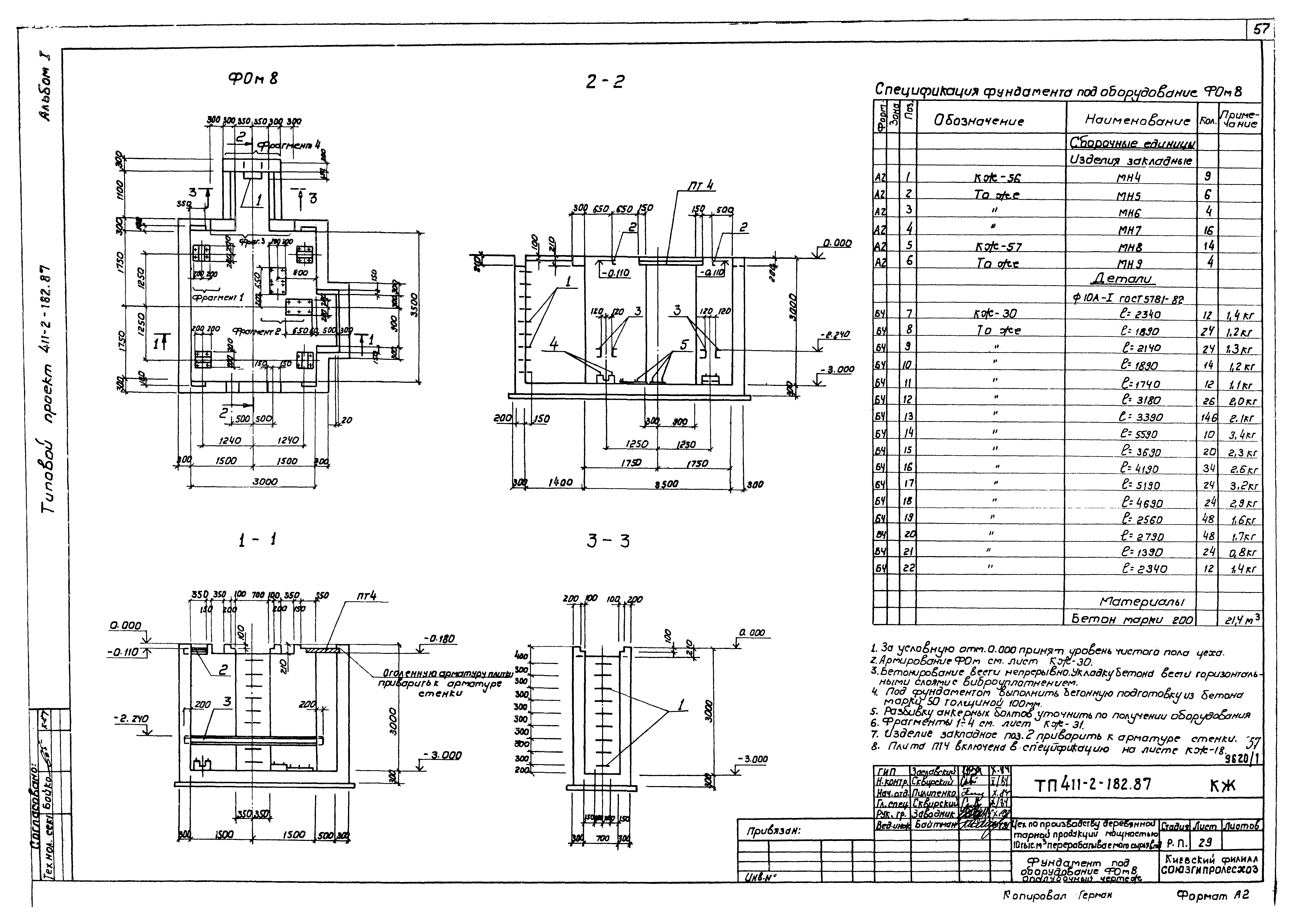
   Фундамент под оборудование ФОм8. Опалубочный чертеж
   Фундамент под оборудование ФОм8. Армирование
   Фундамент под оборудование ФОм8. Фрагменты планов 1 - 4
   Фундамент под оборудование ФОм9
   Фундаменты под оборудование ФОм10 - ФОм12
   Фундаменты под оборудование ФОм13 - ФОм16
   Фундаменты под оборудование ФОм17 - ФОм21
   Фундаменты под оборудование ФОм22 - ФОм25
   Схемы расположения стеновых панелей. Спецификация
   Фрагменты 1 - 4. Узел А. Спецификации
   Фрагменты 5 - 14
   Схема расположения колонн и балок покрытия. Разрезы 1-1 - 4-4
   Схема расположения плит покрытия
   Схема расположения плит перекрытия и лестницы. Узлы 1, 2
   Монолитные участки Ум1 и Ум2
   Монолитные участки Ум3, Ум4 и Ум6
   Колонны К1 - К5
   Балки покрытия Б1 - Б3. Плиты покрытия П2, П7 - П11
   Подвесные пути по оси 2 и в осях 6 - 8
   Схема расположения пневмотранспорта
   Эстакады транспортеров для выноса отходов. Верхнее строение ВС1
   Узлы верхнего строения ВС1
   Короб ленточного транспортера КД1
   Опора под бункер ОБ1. Узел 1
   Узлы 2, 3, 6. Стойки СК1, СК2
   Переходной мостик Пм1. Лестница Л1
   Молниезащита
   Монтажные элементы МС1 - МС7. Изделия закладные МН1 - МН7, Т1
   Изделия закладные МН8 - МН17
   Изделия закладные МН18 - МН28. Каркасы КР1, КР2
   Щиты Щ1 - Щ4. Защитное обрамление столбов Ом1, Ом2
Разработан: Киевский филиал Союзгипролесхоз
Утверждён:20.02.1985 Гослесхоз СССР (USSR Gosleskhoz 21)
Расположен в:Техническая документация Строительство Справочные документы Типовые строительные конструкции, изделия и узлы Общероссийский строительный каталог Промышленные предприятия, здания и сооружения Предприятия, здания и сооружения промышленности и электроэнергетики Промышленность деревообрабатывающая Здания общего назначения
Типовой проект 411-2-182.87Типовой проект 411-2-182.87Типовой проект 411-2-182.87Типовой проект 411-2-182.87Типовой проект 411-2-182.87Типовой проект 411-2-182.87Типовой проект 411-2-182.87Типовой проект 411-2-182.87Типовой проект 411-2-182.87Типовой проект 411-2-182.87Типовой проект 411-2-182.87Типовой проект 411-2-182.87Типовой проект 411-2-182.87Типовой проект 411-2-182.87Типовой проект 411-2-182.87Типовой проект 411-2-182.87Типовой проект 411-2-182.87Типовой проект 411-2-182.87Типовой проект 411-2-182.87Типовой проект 411-2-182.87Типовой проект 411-2-182.87Типовой проект 411-2-182.87Типовой проект 411-2-182.87Типовой проект 411-2-182.87Типовой проект 411-2-182.87Типовой проект 411-2-182.87Типовой проект 411-2-182.87Типовой проект 411-2-182.87Типовой проект 411-2-182.87Типовой проект 411-2-182.87Типовой проект 411-2-182.87Типовой проект 411-2-182.87Типовой проект 411-2-182.87Типовой проект 411-2-182.87Типовой проект 411-2-182.87Типовой проект 411-2-182.87Типовой проект 411-2-182.87Типовой проект 411-2-182.87Типовой проект 411-2-182.87Типовой проект 411-2-182.87Типовой проект 411-2-182.87Типовой проект 411-2-182.87Типовой проект 411-2-182.87Типовой проект 411-2-182.87Типовой проект 411-2-182.87Типовой проект 411-2-182.87Типовой проект 411-2-182.87Типовой проект 411-2-182.87Типовой проект 411-2-182.87Типовой проект 411-2-182.87Типовой проект 411-2-182.87Типовой проект 411-2-182.87Типовой проект 411-2-182.87Типовой проект 411-2-182.87Типовой проект 411-2-182.87Типовой проект 411-2-182.87Типовой проект 411-2-182.87Типовой проект 411-2-182.87Типовой проект 411-2-182.87Типовой проект 411-2-182.87Типовой проект 411-2-182.87Типовой проект 411-2-182.87Типовой проект 411-2-182.87Типовой проект 411-2-182.87Типовой проект 411-2-182.87Типовой проект 411-2-182.87Типовой проект 411-2-182.87Типовой проект 411-2-182.87Типовой проект 411-2-182.87Типовой проект 411-2-182.87Типовой проект 411-2-182.87Типовой проект 411-2-182.87Типовой проект 411-2-182.87Типовой проект 411-2-182.87Типовой проект 411-2-182.87Типовой проект 411-2-182.87Типовой проект 411-2-182.87Типовой проект 411-2-182.87Типовой проект 411-2-182.87Типовой проект 411-2-182.87Типовой проект 411-2-182.87Типовой проект 411-2-182.87Типовой проект 411-2-182.87Типовой проект 411-2-182.87Типовой проект 411-2-182.87Типовой проект 411-2-182.87Типовой проект 411-2-182.87Типовой проект 411-2-182.87Типовой проект 411-2-182.87

© 2013 Ёшкин Кот :-) Карта сайта