| ||||||||||||||||||||||||||
Скачать В3-20 Временные рекомендации по применению кондиционеров КНУ12 и КНУ18 в системах кондиционирования воздухаДата актуализации: 10.08.2017
|
| Обозначение: | В3-20 |
| Обозначение англ: | В3-20 |
| Статус: | не установлен срок действия |
| Название рус.: | Временные рекомендации по применению кондиционеров КНУ12 и КНУ18 в системах кондиционирования воздуха |
| Дата добавления в базу: | 01.10.2014 |
| Дата актуализации: | 05.05.2017 |
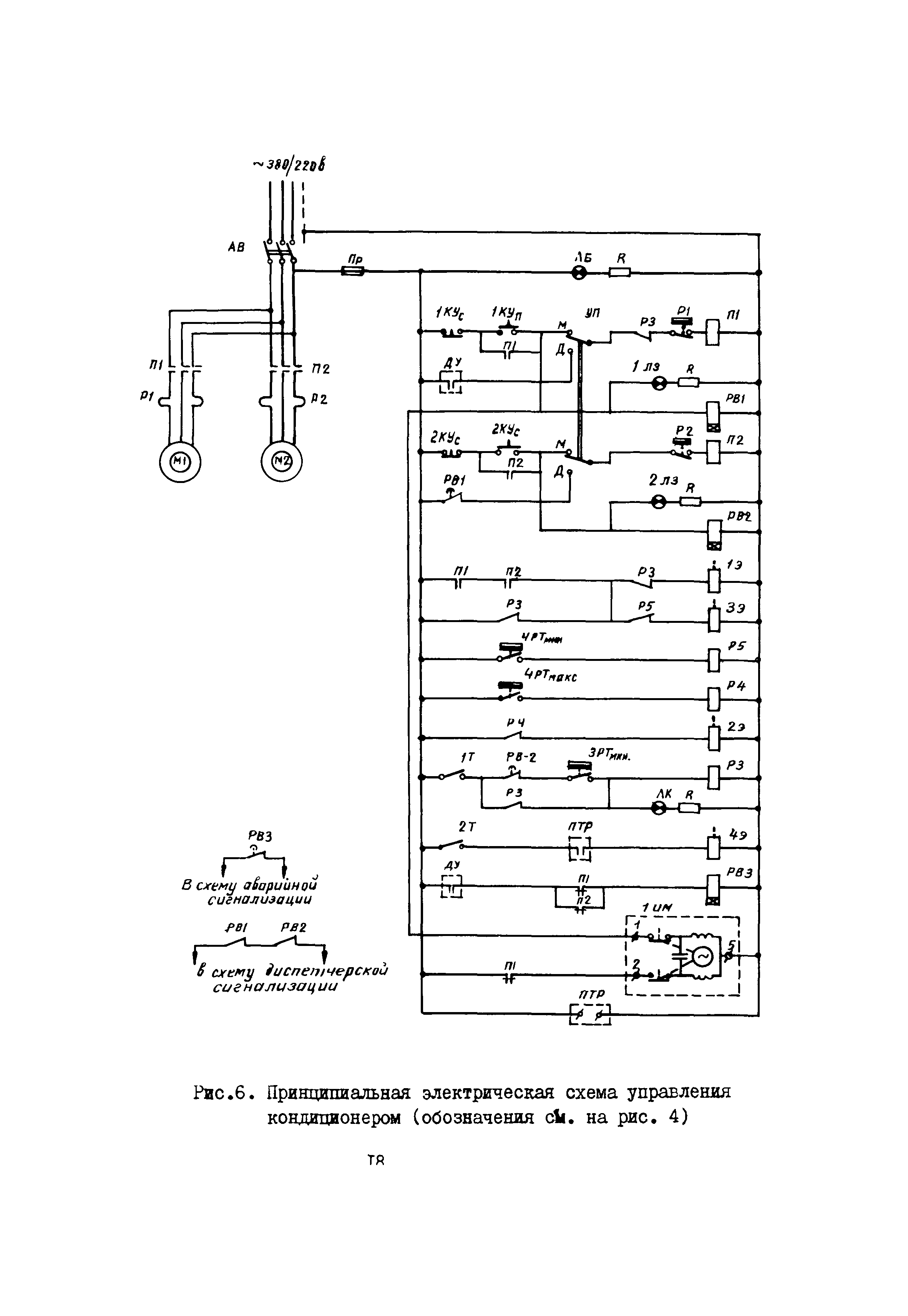
| Область применения: | В документе приводятся описания конструкций кондиционеров; их конструктивные характеристики; данные для теплотехнических, аэродинамических и гидравлических расчетов элементов кондиционеров; методика и пример проверочного расчета воздухоохладителя. Документ предназначен для организации проектирующих, монтирующих и эксплуатирующих системы кондиционирования воздуха |
| Оглавление: | 1. Конструктивные характеристики кондиционеров КНУ12 и КНУ18 2. Система автоматизации 3. Паспортные технические характеристики 4. Данные для расчета основных элементов кондиционеров КНУ12 и КНУ18 5. Методика проверочных расчетов воздухоохладителей кондиционеров КНУ12 и КНУ18 6. Рекомендации по проектированию систем КВ с применением кондиционеров КНУ12 и КНУ18 7. Литература |
| Разработан: | ГПИ Сантехпроект Госстроя СССР |
| Утверждён: | ГПИ Сантехпроект |
| Расположен в: |













































