Информационная система
«Ёшкин Кот»

Скачать базу одним архивом
Скачать обновления
История создания базы
Карта сайта

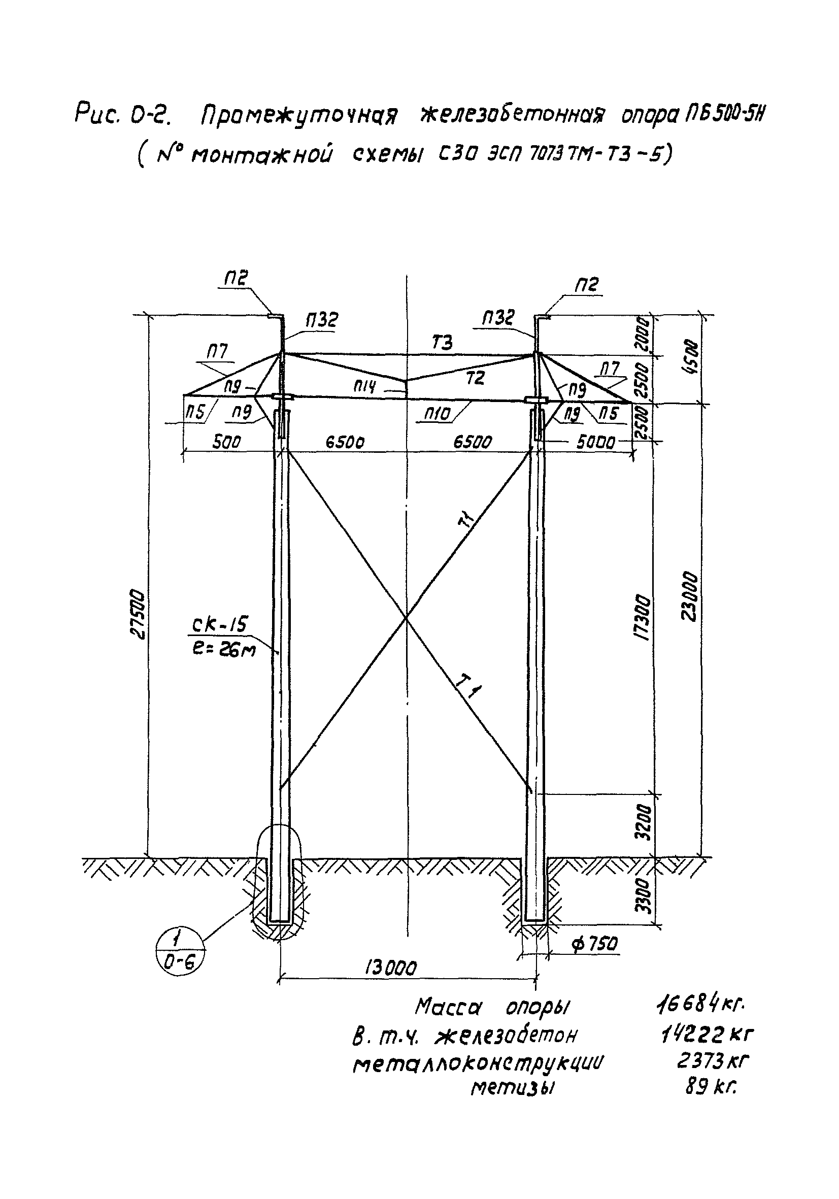
Скачать ТТК К-4-21-4 Монтаж промежуточных железобетонных опор ПБ 330-7Н, ПБ 500-5Н и ПБ 500-7Н. Установка промежуточных железобетонных опор ПБ 330-7Н автомобильным краном К-162 со стрелой 14 м и трактором Т-100М

Дата актуализации: 10.08.2017

ТТК К-4-21-4

Монтаж промежуточных железобетонных опор ПБ 330-7Н, ПБ 500-5Н и ПБ 500-7Н. Установка промежуточных железобетонных опор ПБ 330-7Н автомобильным краном К-162 со стрелой 14 м и трактором Т-100М

Обозначение: ТТК К-4-21-4
Обозначение англ: К-4-21-4
Статус:cправочные материалы, мп, тпр
Название рус.:Монтаж промежуточных железобетонных опор ПБ 330-7Н, ПБ 500-5Н и ПБ 500-7Н. Установка промежуточных железобетонных опор ПБ 330-7Н автомобильным краном К-162 со стрелой 14 м и трактором Т-100М
Дата добавления в базу:01.10.2014
Дата актуализации:05.05.2017
Область применения:Технологическая карта разработана на установку свободностоящих портальных промежуточных железобетонных опор типа ПБ 330-7Н автокраном К-162 со стрелой 14 м и трактором Т-100М. Карта служит руководством при строительстве линий электропередачи, а также пособием для проектирования проектов производства работ.
Оглавление:1. Область применения
2. Организация и технология строительного процесса
3. Технико-экономические показатели на установку одной опоры
4. Материально-технические ресурсы
Разработан: Институт Оргэнергострой
Утверждён:28.10.1981 Минэнерго СССР (USSR Minenergo 336)
Расположен в:Техническая документация Строительство Справочные документы Технологические карты Линии электропередачи
ТТК К-4-21-4ТТК К-4-21-4ТТК К-4-21-4ТТК К-4-21-4ТТК К-4-21-4ТТК К-4-21-4ТТК К-4-21-4ТТК К-4-21-4ТТК К-4-21-4ТТК К-4-21-4ТТК К-4-21-4ТТК К-4-21-4ТТК К-4-21-4ТТК К-4-21-4ТТК К-4-21-4ТТК К-4-21-4ТТК К-4-21-4ТТК К-4-21-4ТТК К-4-21-4ТТК К-4-21-4ТТК К-4-21-4ТТК К-4-21-4ТТК К-4-21-4ТТК К-4-21-4ТТК К-4-21-4ТТК К-4-21-4ТТК К-4-21-4

© 2013 Ёшкин Кот :-) Карта сайта