Информационная система
«Ёшкин Кот»

Скачать базу одним архивом
Скачать обновления
История создания базы
Карта сайта

Скачать ГОСТ 31195.2.5-2012 Соединительные устройства для низковольтных цепей бытового и аналогичного назначения. Часть 2-5. Дополнительные требования к соединительным коробкам (присоединения и/или ответвления медных проводников) для зажимов или соединительных устройств

Дата актуализации: 10.08.2017

ГОСТ 31195.2.5-2012

Соединительные устройства для низковольтных цепей бытового и аналогичного назначения. Часть 2-5. Дополнительные требования к соединительным коробкам (присоединения и/или ответвления медных проводников) для зажимов или соединительных устройств

Обозначение: ГОСТ 31195.2.5-2012
Обозначение англ: GOST 31195.2.5-2012
Статус:введен впервые
Название рус.:Соединительные устройства для низковольтных цепей бытового и аналогичного назначения. Часть 2-5. Дополнительные требования к соединительным коробкам (присоединения и/или ответвления медных проводников) для зажимов или соединительных устройств
Название англ.:Connecting devices for low voltage circuits for household and similar purposes. Part 2-5. Particular requirements for connecting boxes ( junction and/or tapping of copper conductors) for terminals of connecting devices
Дата добавления в базу:01.10.2014
Дата актуализации:05.05.2017
Дата введения:01.01.2014
Область применения:Стандарт распространяется на соединительные коробки присоединения и/или ответвления медных проводников: - с неподвижными (составляющими единое целое или встроенными) контактными зажимами или соединительными устройствами; - с неподвижными контактными зажимами или соединительными устройствами; - с незакрепленными (плавающими) контактными зажимами или соединительными устройствами. Стандарт не распространяется: - на монтажные корпуса или кожуха для изделий бытовой и аналогичной стационарной установки.
Оглавление:1 Область применения
2 Нормативные ссылки
3 Определения
4 Общие требования
5 Общие требования к испытаниям
6 Основные характеристики
7 Классификация
8 Маркировка
9 Защита от поражения электрическим током и обеспечение заземления
10 Соединение проводников
11 Конструкция
12 Устойчивость к старению, влажности, проникновению твердых частиц и защита от попадания воды
13 Сопротивление и электрическая прочность изоляции
14 Механическая прочность
15 Превышение температуры
16 Нагревостойкость
17 Пути утечки тока, воздушные зазоры и расстояния через заливочную массу
18 Теплостойкость и огнестойкость
19 Стойкость к токам поверхностного разряда
20.101 Коррозиеустойчивость
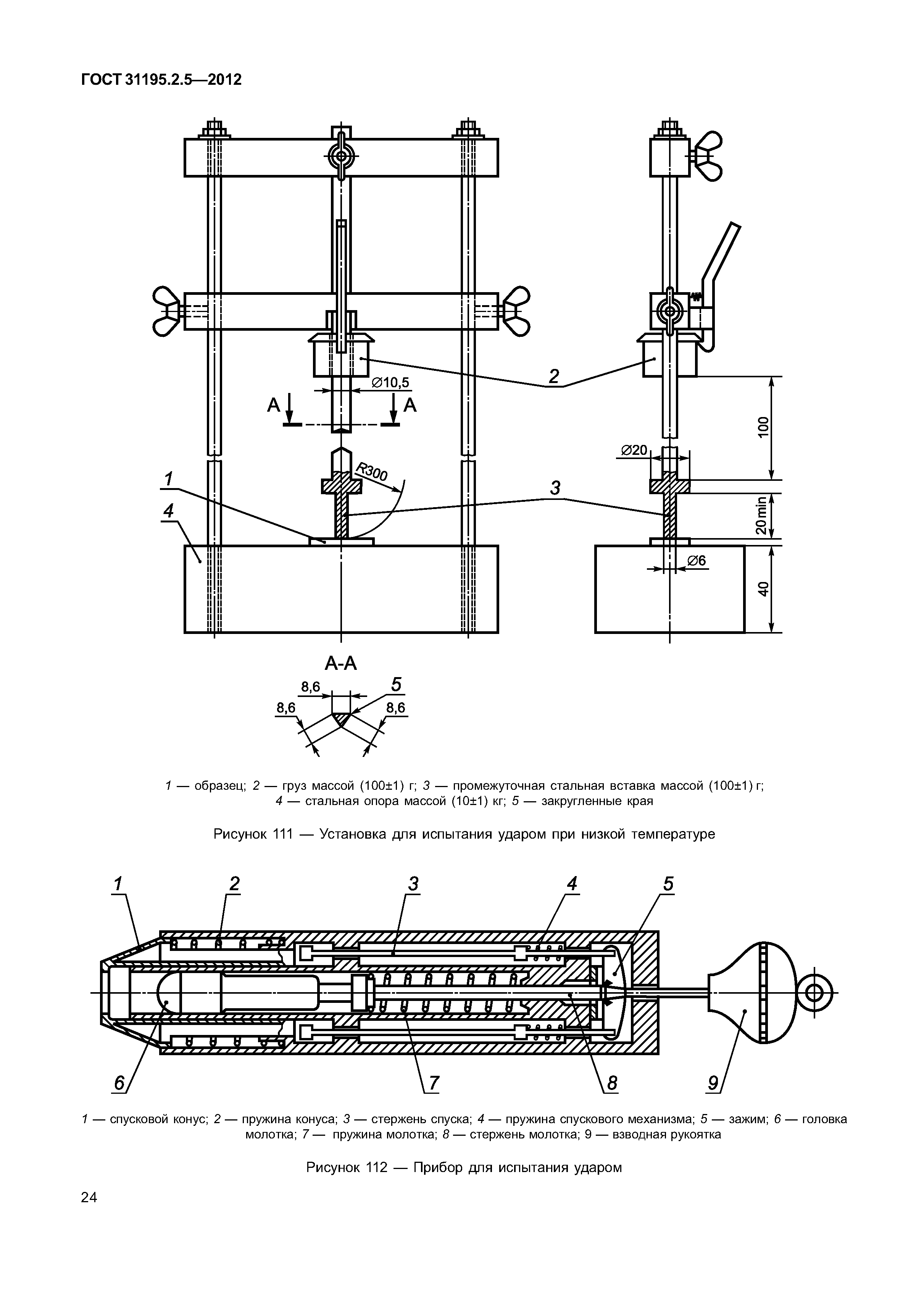
Рисунки
Приложение А (обязательное) Последовательность испытаний и число испытуемых образцов
Приложение В (справочное) Примеры соединительных коробок
Приложение С (справочное) Примеры открытой и скрытой установок коробок
Приложение D (обязательное) Дополнительные требования к коробкам бытового и аналогичного назначения, устанавливаемые в стандартах и технических условиях на изделия конкретных типов и учитывающие потребности экономик стран, упомянутых в предисловии как проголосовавших за принятие межгосударственного стандарта
Библиография
Разработан: ФГУП ВНИИНМАШ
Утверждён:24.05.2012 Межгосударственный Совет по стандартизации, метрологии и сертификации (Inter-Governmental Council on Standardization, Metrology, and Certification 41)
15.11.2012 Федеральное агентство по техническому регулированию и метрологии (856-ст)
Издан: Стандартинформ (2013 г. )
Расположен в:Техническая документация Электроэнергия ЭЛЕКТРОТЕХНИКА Электрическая арматура Соединительные устройства Экология ЭЛЕКТРОТЕХНИКА Электрическая арматура Соединительные устройства
Список изменений:
ГОСТ 31195.2.5-2012ГОСТ 31195.2.5-2012ГОСТ 31195.2.5-2012ГОСТ 31195.2.5-2012ГОСТ 31195.2.5-2012ГОСТ 31195.2.5-2012ГОСТ 31195.2.5-2012ГОСТ 31195.2.5-2012ГОСТ 31195.2.5-2012ГОСТ 31195.2.5-2012ГОСТ 31195.2.5-2012ГОСТ 31195.2.5-2012ГОСТ 31195.2.5-2012ГОСТ 31195.2.5-2012ГОСТ 31195.2.5-2012ГОСТ 31195.2.5-2012ГОСТ 31195.2.5-2012ГОСТ 31195.2.5-2012ГОСТ 31195.2.5-2012ГОСТ 31195.2.5-2012ГОСТ 31195.2.5-2012ГОСТ 31195.2.5-2012ГОСТ 31195.2.5-2012ГОСТ 31195.2.5-2012ГОСТ 31195.2.5-2012ГОСТ 31195.2.5-2012ГОСТ 31195.2.5-2012ГОСТ 31195.2.5-2012ГОСТ 31195.2.5-2012ГОСТ 31195.2.5-2012ГОСТ 31195.2.5-2012ГОСТ 31195.2.5-2012

Текстовое изменение Поправка от 20.02.2016

Поправка

© 2013 Ёшкин Кот :-) Карта сайта