| ||||||||||||||||||||||||||||||||||
Скачать ГОСТ ISO 2531-2012 Трубы, фитинги, арматура и их соединения из чугуна с шаровидным графитом для водо- и газоснабжения. Технические условияДата актуализации: 10.08.2017
|
| Обозначение: | ГОСТ ISO 2531-2012 |
| Обозначение англ: | 2531-2012 |
| Статус: | действует |
| Название рус.: | Трубы, фитинги, арматура и их соединения из чугуна с шаровидным графитом для водо- и газоснабжения. Технические условия |
| Название англ.: | Ductile iron pipes, fittings, accessories and their joints for water or gas applications. Specifications |
| Дата добавления в базу: | 01.10.2014 |
| Дата актуализации: | 05.05.2017 |
| Дата введения: | 01.01.2014 |
| Область применения: | Стандарт устанавливает требования и методы испытаний труб и соединительных частей из чугуна с шаровидным графитом и их соединений, используемых для изготовления трубопроводов: -для транспортирования воды (например, питьевой воды) или газа (например, природного газа); - работающих под давлением или без давления; - прокладываемых под землей или наземных. |
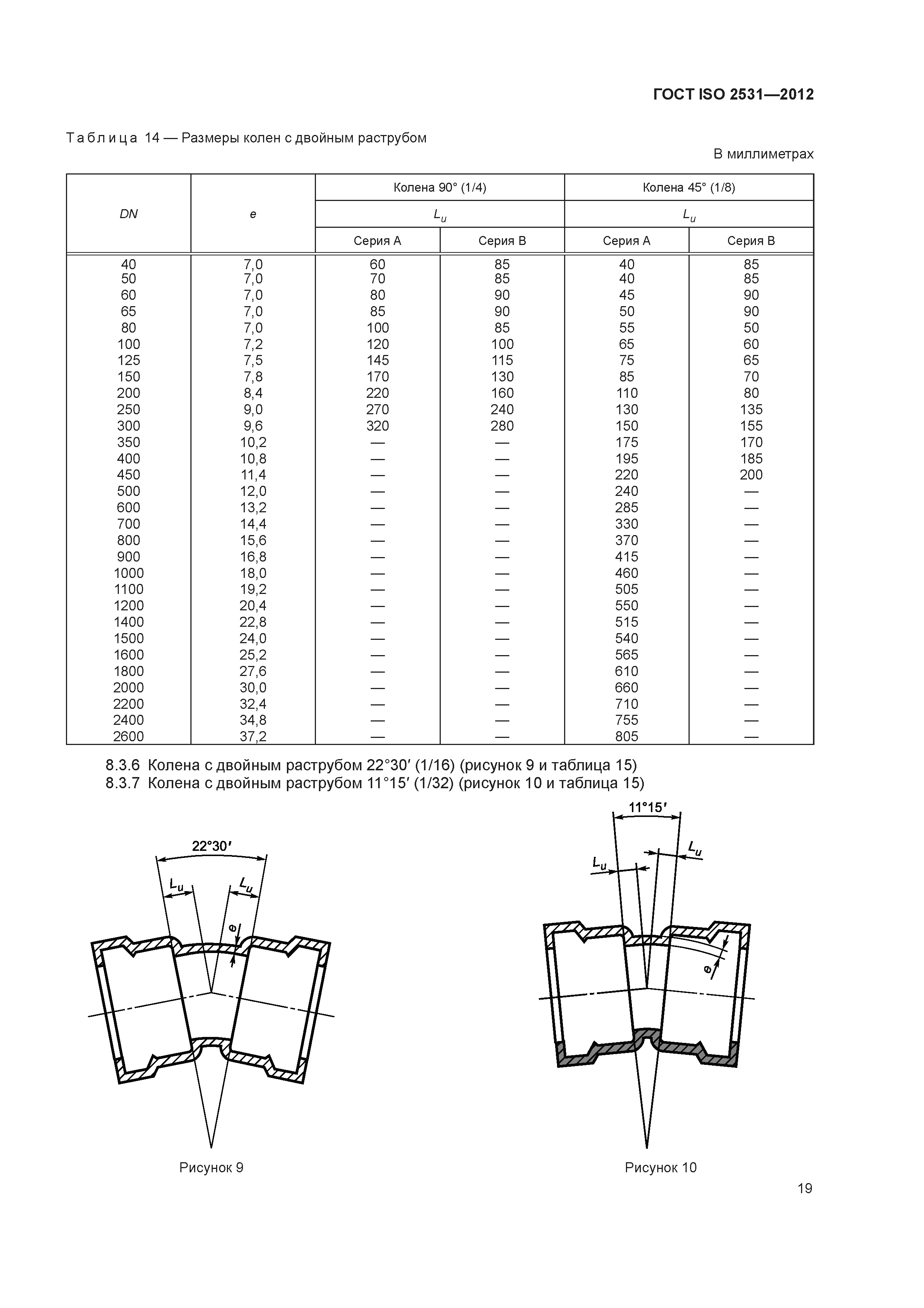
| Оглавление: | 1 Область применения 2 Нормативные ссылки 3 Термины и определения 4 Технические требования 4.1 Общие положения 4.2 Требования к размерам 4.3 Характеристики материала 4.4 Покрытия труб 4.5 Покрытия соединительных частей 4.6 Маркировка 5 Требования герметичности 5.1 Трубы и соединительные части 5.2 Гибкие соединения 6 Методы испытаний 6.1 Размеры 6.2 Кривизна труб 6.3 Испытания на растяжение 6.4 Испытания на твердость 6.5 Испытания на герметичность труб и соединительных частей для водоснабжения 6.6 Испытание на герметичность труб и соединительных частей для газоснабжения 7 Типовые испытания 7.1 Герметичность соединений при испытании внутренним давлением 7.2 Герметичность соединений при испытании внешним давлением 8 Таблицы размеров 8.1 Трубы с раструбом и трубы с охватываемым концом 8.2 Фланцевые трубы 8.3 Соединительные части для раструбных соединений 8.4 Соединительные части для фланцевых соединений Приложение А (справочное) Область применения, характеристики грунта Приложение В (справочное) Область применения, характеристики воды Приложение С (справочное) Жесткость труб и диаметральный прогиб Приложение ДА (справочное) Сведения о соответствии межгосударственных стандартов ссылочным международным стандартам |
| Разработан: | ОАО РосНИТИ |
| Утверждён: | 15.03.2012 Межгосударственный Совет по стандартизации, метрологии и сертификации (Inter-Governmental Council on Standardization, Metrology, and Certification 49) 05.06.2013 Федеральное агентство по техническому регулированию и метрологии (132-ст) |
| Издан: | Стандартинформ (2013 г. ) |
| Расположен в: | |
| Нормативные ссылки: |
|












































