Скачать Серия 1.865.1-4/80 Выпуск 5. Железобетонные стаканы с отверстиями диаметром 400, 700 и 1000 мм для крепления дефлекторов и зонтов. Рабочие чертежиДата актуализации: 10.08.2017 Серия 1.865.1-4/80
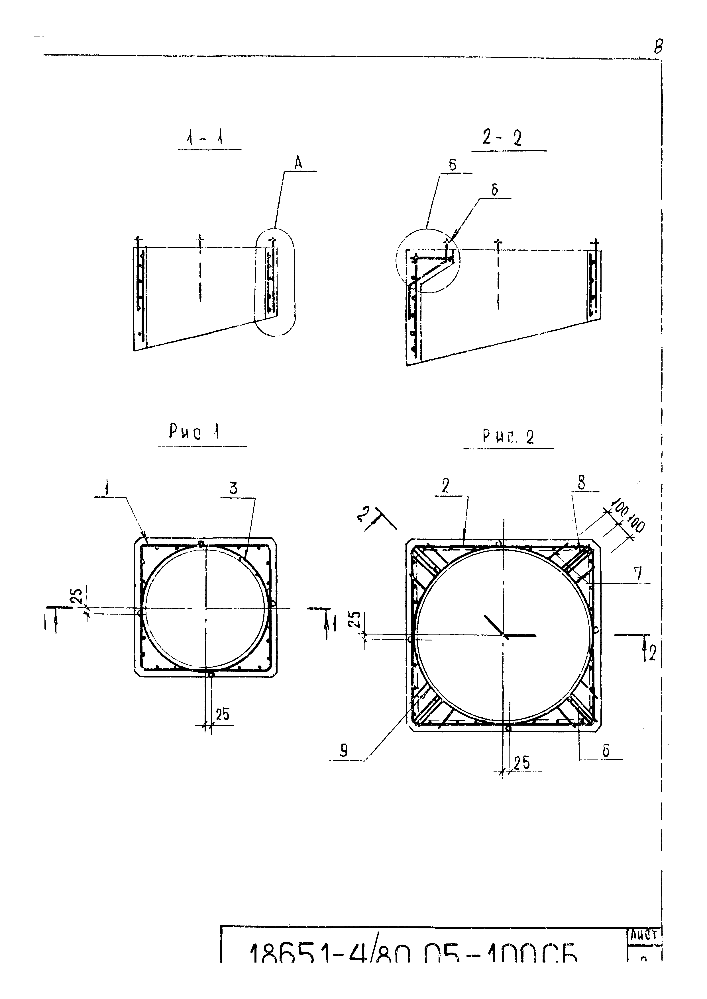
Выпуск 5. Железобетонные стаканы с отверстиями диаметром 400, 700 и 1000 мм для крепления дефлекторов и зонтов. Рабочие чертежиОбозначение: | Серия 1.865.1-4/80 | Обозначение англ: | Series 1.865.1-4/80 | Статус: | заменен | Название рус.: | Выпуск 5. Железобетонные стаканы с отверстиями диаметром 400, 700 и 1000 мм для крепления дефлекторов и зонтов. Рабочие чертежи | Дата добавления в базу: | 01.10.2014 | Дата актуализации: | 05.05.2017 | Дата введения: | 01.03.1986 | Оглавление: | 1.865.1-4/80.05ПЗ Пояснительная записка 1.865.1-4/80.05-100 Стакан железобетонный 1.865.1-4/80.05-100СБ Стакан железобетонный 1.865.1-4/80.05-110 Сетка арматурная С (С1, С2) 1.865.1-4/80.05-110СБ Сетка арматурная С (С1, С2) 1.865.1-4/80.05-120 Сетка арматурная С3 1.865.1-4/80.05-120СБ Сетка арматурная С3 1.865.1-4/80.05-130 Сетка арматурная С (С4, С5) 1.865.1-4/80.05-130СБ Сетка арматурная С (С4, С5) 1.865.1-4/80.05-140 Изделие закладное М1 1.865.1-4/80.05-150 Изделие закладное М2 1.865.1-4/80.05-160 Анкер А (А1, А2) 1.865.1-4/80.05-170 Изделие закладное М3 1.865.1-4/80.05-180 Изделие закладное М4 1.865.1-4/80.05-101 Стержень арматурный 1.865.1-4/80.05-102 Стержень арматурный 1.865.1-4/80.05-100ВМС Выборка стали | Разработан: | НИИЖБ ГипроНИсельхоз (Институт Гипронисельхоз ) ЦНИИЭП сельстрой Министерства сельского строительства СССР
| Утверждён: | 23.06.1981 Госстрой СССР (Государственный комитет Совета Министров СССР по делам строительства) (USSR Gosstroy 105)
| Расположен в: |
| Чем заменён: | |
                       
|