| ||||||||||||||||||||||||||||||
Скачать Общемашиностроительные нормативы времени и режимов резания на токарно-автоматные работы. Часть II. Токарные многошпиндельные горизонтальные патронные полуавтоматы, токарные многошпиндельные вертикальные полуавтоматы, токарно-револьверные полуавтоматы, автоматы продольного точения. Среднесерийное, крупносерийное и массовое производствоДата актуализации: 10.08.2017 |
| Статус: | не действует |
| Название рус.: | Общемашиностроительные нормативы времени и режимов резания на токарно-автоматные работы. Часть II. Токарные многошпиндельные горизонтальные патронные полуавтоматы, токарные многошпиндельные вертикальные полуавтоматы, токарно-револьверные полуавтоматы, автоматы продольного точения. Среднесерийное, крупносерийное и массовое производство |
| Дата добавления в базу: | 01.10.2014 |
| Дата актуализации: | 05.05.2017 |
| Дата введения: | 01.01.1997 |
| Область применения: | Сборник содержит методические указания инструкции по расчету режимов резания и нормативов времени дня расчета технически обоснованных норм времени на операций выполняемые на токарных многошпиндельных горизонтальных патронных полуавтоматах, токарных многошпиндельных вертикальных полуавтоматах, токарно-револьверных полуавтоматах, автоматах продольного точения дня условий среднесерийного, крупносерийного и массового производства. Нормативы предназначены дня нормирования труда попуавтоматчиков и автоматчиков, работающих на токарных многошпиндельных револьверных полуавтоматах и автоматах продольного точения. Нормативы охватывают труд автоматчиков, токарей-полуавтоматчиков. |
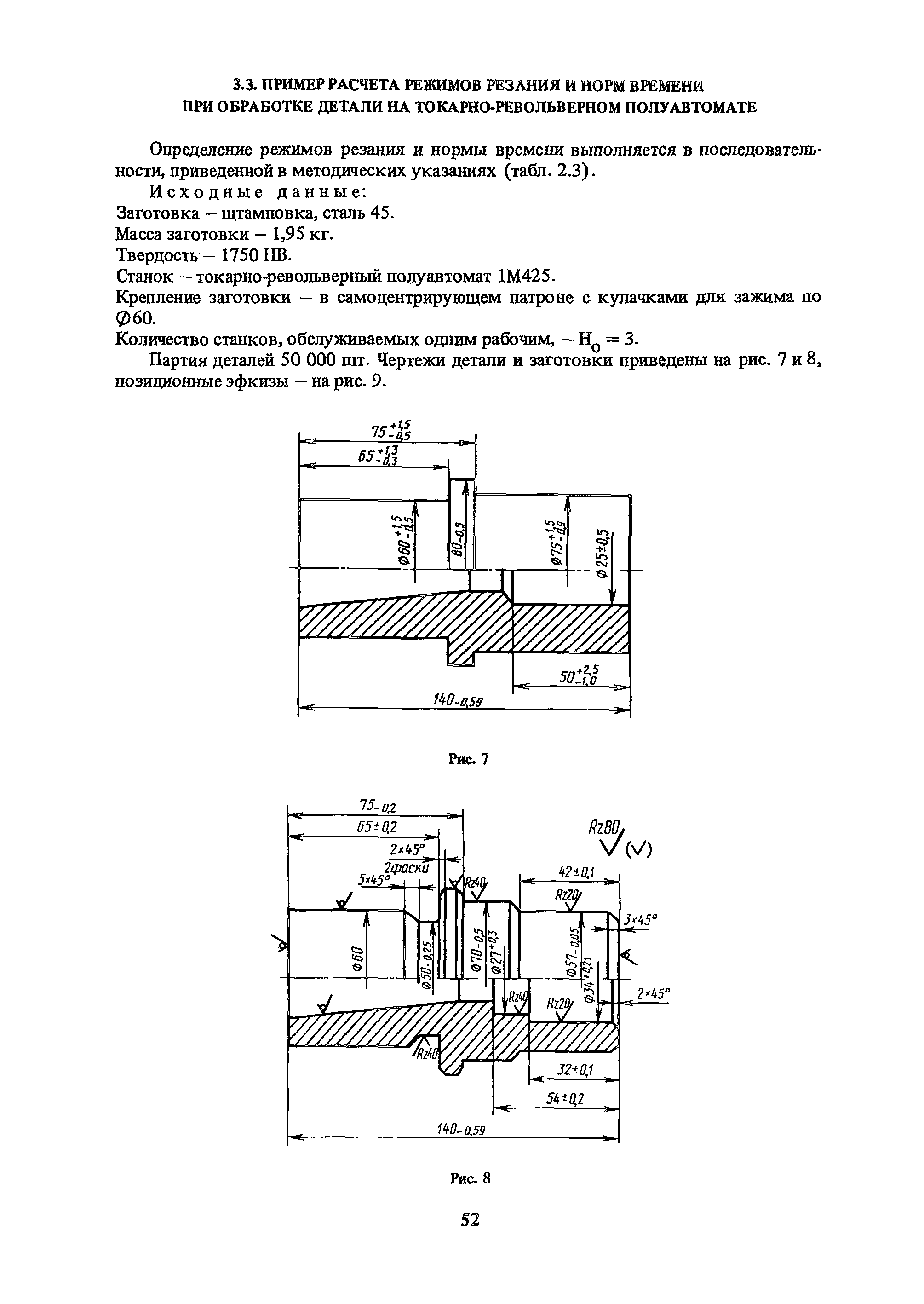
| Оглавление: | Условные обозначения 1. Общая часть 1.1. Назначение и структура нормативов 1.2. Общие технологические условия 1.3. Нормативы режимов резания 1.4. Нормативы времени 2. Методические указания 2.1. Инструкция по расчету режимов резания и нормы времени дня токарных многошпиндельных горизонтальных патронных полуавтоматов 2.2. Инструкция по расчету режимов резания и нормы времени дня токарных многошпиндельных вертикальных полуавтоматов 2.3. Инструкция по расчету режимов резания и нормы времени дня токарно-револьверных полуавтоматов 2.4. Инструкция по расчету режимов резания, нормы времени дня автоматов продольного точения 3. Примеры расчета режимов резания и норм времени 3.1. Пример расчета режимов резания и нормы времени при обработке детали на токарном многошпиндельном горизонтальном патронном полуавтомате 3.2. Пример расчета режимов резания и норм времени при обработке детали на токарном многошпиндельном вертикальном полуавтомате 3.3. Пример расчета режимов резания и норм времени при обработке детали на токарно-револьверном полуавтомате 3.4. Пример расчета режимов резания и норм времени при обработке детали на автомате продольного точения 4. Нормативная часть 4.1. Общие технологические условия 4.2. Нормативы режимов резания 4.3. Нормативы времени Приложение 1. Величина подвода, врезания и перебега инструментов Приложение 2. Определение длины рабочего хода для автоматов продольного точения. Приложение 3. Расчет ожидаемой стойкости инструментов Приложение 4. Паспортные данные станков Листы 1 - 6. Модель 1Б240П-6К Листы 7 - 12. Модель 1283 Листы 13 - 17. Модель 1М425 Листы 18 - 27. Модель 1П16 (1П16А) х Приложение 5. Рекомендация по назначению плана обработки поверхности на токарных многошпиндельных автоматах и полуавтоматах |
| Разработан: | Челябинский политехнический институт ЦБНТ |
| Утверждён: | 13.12.1989 Государственный комитет СССР по труду и социальным вопросам (409) 13.12.1989 Секретариат ВЦСПС (25-12) |
| Издан: | Издательство Экономика (1989 г. ) |
| Расположен в: | |
| Заменяет собой: |
|
| Нормативные ссылки: |
|



































































































































































































































