| ||||||||||||||||||||||||||
Скачать Руководство по проектированию новых городовДата актуализации: 10.08.2017 |
| Статус: | cправочные материалы, мп, тпр |
| Название рус.: | Руководство по проектированию новых городов |
| Дата добавления в базу: | 01.10.2014 |
| Дата актуализации: | 05.05.2017 |
| Область применения: | В документе изложены основы организации проектирования новых городов, раскрываются функции проектирования в системе управления градостроительным процессом, состав и задачи проектных работ по этапам развития нового города и организационные формы проектирования для новых городов разных типов. Для проектировщиков и научных работников, занимающихся проблемами новых и интенсивно развивающихся городов. |
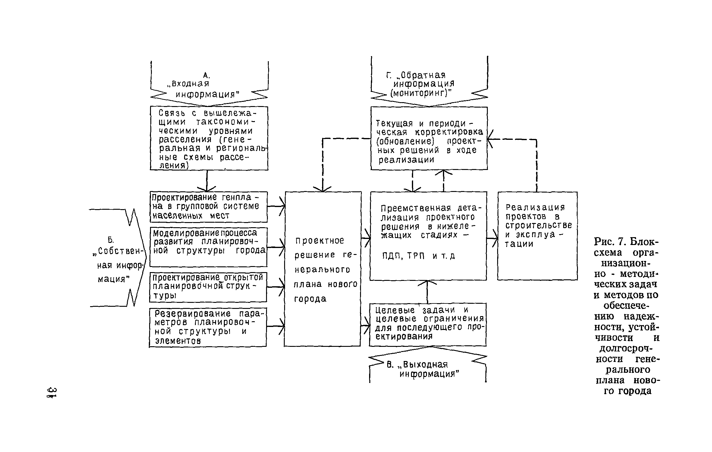
| Оглавление: | Введение 1. Общие положения 2. Функции проектирования 2.1. Выбор территории 2.2. Составление задания на проектирование 2.3. Обследования 2.4. Состав и стадия градостроительных проектных решений 2.5. Согласование проектной документации 2.6. Контроль за реализацией проектов 3. Задачи проектирования в обеспечении надежности и устойчивости генерального плана нового города 3.1. Общая схема задач (состав и соподчиненность) 3.2. Связь с вышележащими проектно-градостроительными уровнями - Генеральной и региональными схемами расселения, а также ТПК 3.3. Проектирование нового города в групповой системе населенных мест 3.4. Градостроительные резервы 3.5. Градостроительный прогноз и моделирование развития структуры города 3.6. Целевые задачи и ограничения для последующего проектирования, преемственность проектных решений 3.7. Текущая и периодическая корректировка (обновление) проектов 4. Задачи проектных работ в начальный период развития нового города 4.1. Основные этапы становления нового города 4.2. Подготовительный этап 4.3. Пусковой этап и первая очередь строительства 4.4. Последующие этапы 5. Организация проектирования 5.1. Координация участников 5.2. Авторский коллектив и служба главного инженера проекта города 5.3. Работа на площадке строительства Список литературы |
| Разработан: | ЦНИИП градостроительства |
| Утверждён: | ЦНИИП градостроительства Госгражданстроя |
| Издан: | Стройиздат (1982 г. ) |
| Расположен в: | |
| Нормативные ссылки: |



















































































