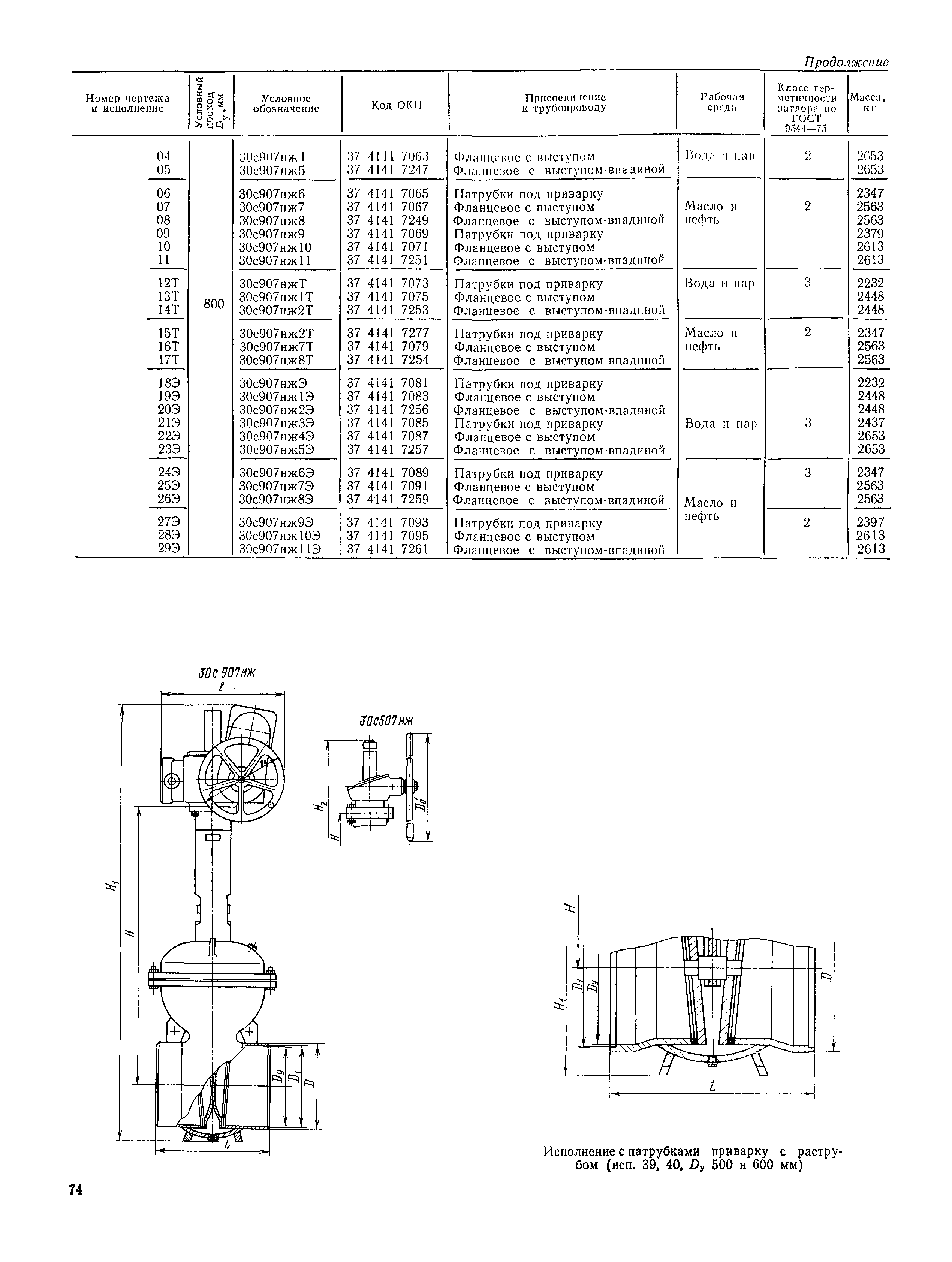
| ||||||||||||||||||||||||||||
Скачать Часть II Книга 2. Задвижки из углеродистой и коррозионно-стойкой сталейДата актуализации: 10.08.2017
|
| Обозначение: | Часть II |
| Обозначение англ: | Часть II |
| Статус: | действует |
| Название рус.: | Книга 2. Задвижки из углеродистой и коррозионно-стойкой сталей |
| Дата добавления в базу: | 01.09.2013 |
| Дата актуализации: | 05.05.2017 |
| Область применения: | Каталог содержит описание серийно изготовляемых задвижек из углеродистой и коррозионно-стойкой сталей. Каталог предназначен для инженерно-технических работников проектных организаций, проектирующих предприятий, на которых применяют промышленную трубопроводную арматуру; предприятий, изготавливающих и эксплуатирующих эту арматуру, а также работников плановых и сбытовых организаций. |
| Оглавление: | Введение Общие сведения Задвижки из углеродистой и коррозионно-стойкой сталей Таблица значений коэффициента гидравлического сопротивления для задвижек Приложение. Опросный лист |
| Разработан: | ЦКБА ЦИНТИхимнефтемаш |
| Утверждён: | ЦКБА |
| Издан: | ЦИНТИХИМНЕФТЕМАШ (1990 г. ) |
| Расположен в: |

























































































































































