Информационная система
«Ёшкин Кот»

Скачать базу одним архивом
Скачать обновления
История создания базы
Карта сайта

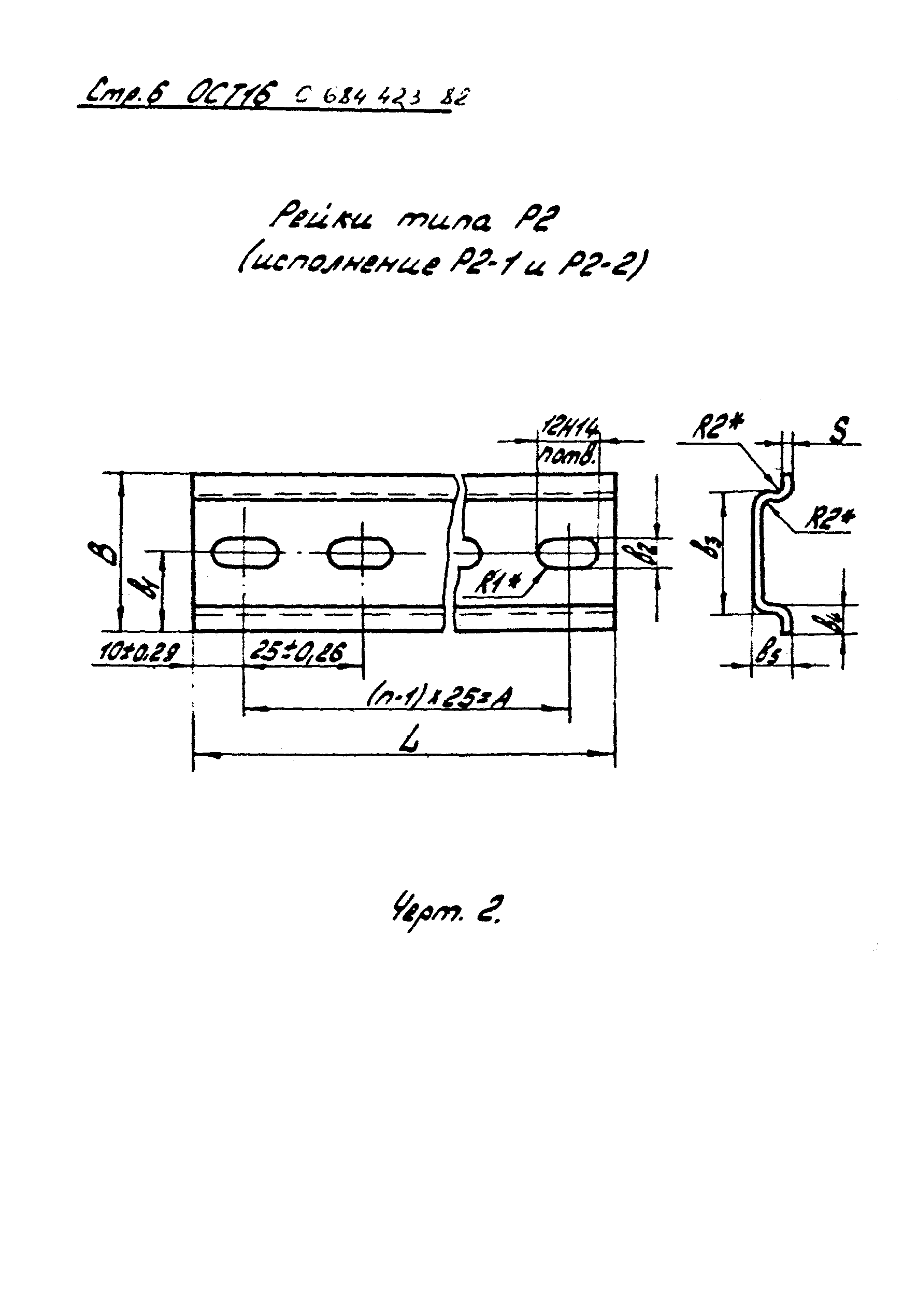
Скачать ОСТ 16 0.684.423-82 Рейки для аппаратов электрических и зажимов контактных наборных. Конструкция и размеры

Дата актуализации: 10.08.2017

ОСТ 16 0.684.423-82

Рейки для аппаратов электрических и зажимов контактных наборных. Конструкция и размеры

Обозначение: ОСТ 16 0.684.423-82
Обозначение англ: OST 16 0.684.423-82
Статус:истек срок действия
Название рус.:Рейки для аппаратов электрических и зажимов контактных наборных. Конструкция и размеры
Дата добавления в базу:01.09.2013
Дата актуализации:05.05.2017
Дата введения:01.01.1989
Область применения:Стандарт распространяется на рейки, предназначенные для установки на них низковольтных коммутационных электрических аппаратов, а также контактных наборных зажимов и блоков на них, изготавливаемых по ГОСТ 19132-80, общего назначения
Принят: ВНИПИ Тяжпромэлектропроект
Главтехуправление МЭ и Э СССР
ЭНИМС
УПЦ-5 ЛП ВОС
РСПКБ
Расположен в:Техническая документация Строительство Стандарты Отраслевые стандарты и технические условия Отраслевые стандарты
Нормативные ссылки:
ОСТ 16 0.684.423-82ОСТ 16 0.684.423-82ОСТ 16 0.684.423-82ОСТ 16 0.684.423-82ОСТ 16 0.684.423-82ОСТ 16 0.684.423-82ОСТ 16 0.684.423-82ОСТ 16 0.684.423-82ОСТ 16 0.684.423-82ОСТ 16 0.684.423-82ОСТ 16 0.684.423-82ОСТ 16 0.684.423-82ОСТ 16 0.684.423-82ОСТ 16 0.684.423-82ОСТ 16 0.684.423-82ОСТ 16 0.684.423-82ОСТ 16 0.684.423-82ОСТ 16 0.684.423-82ОСТ 16 0.684.423-82ОСТ 16 0.684.423-82

© 2013 Ёшкин Кот :-) Карта сайта