| ||||||||||||||||||||||||||||||||||
Скачать МУ 34-70-100-85 Методические указания по проведению пусконаладочных работ на тепломеханическом оборудовании машинных залов атомных электростанцийДата актуализации: 10.08.2017
|
| Обозначение: | МУ 34-70-100-85 |
| Обозначение англ: | MU 34-70-100-85 |
| Статус: | истек срок действия |
| Название рус.: | Методические указания по проведению пусконаладочных работ на тепломеханическом оборудовании машинных залов атомных электростанций |
| Дата добавления в базу: | 01.09.2013 |
| Дата актуализации: | 05.05.2017 |
| Дата введения: | 01.01.1986 |
| Дата окончания срока действия: | 01.01.1989 |
| Область применения: | Методические указания предназначены для инженерно-технического персонала ПО "Союзтехэнерго" м его предприятий при организации и проведении пусконаладочных работ на тепломеханическом оборудовании машинных залов АЭС с реакторами типа ВВЭР и РБМК. |
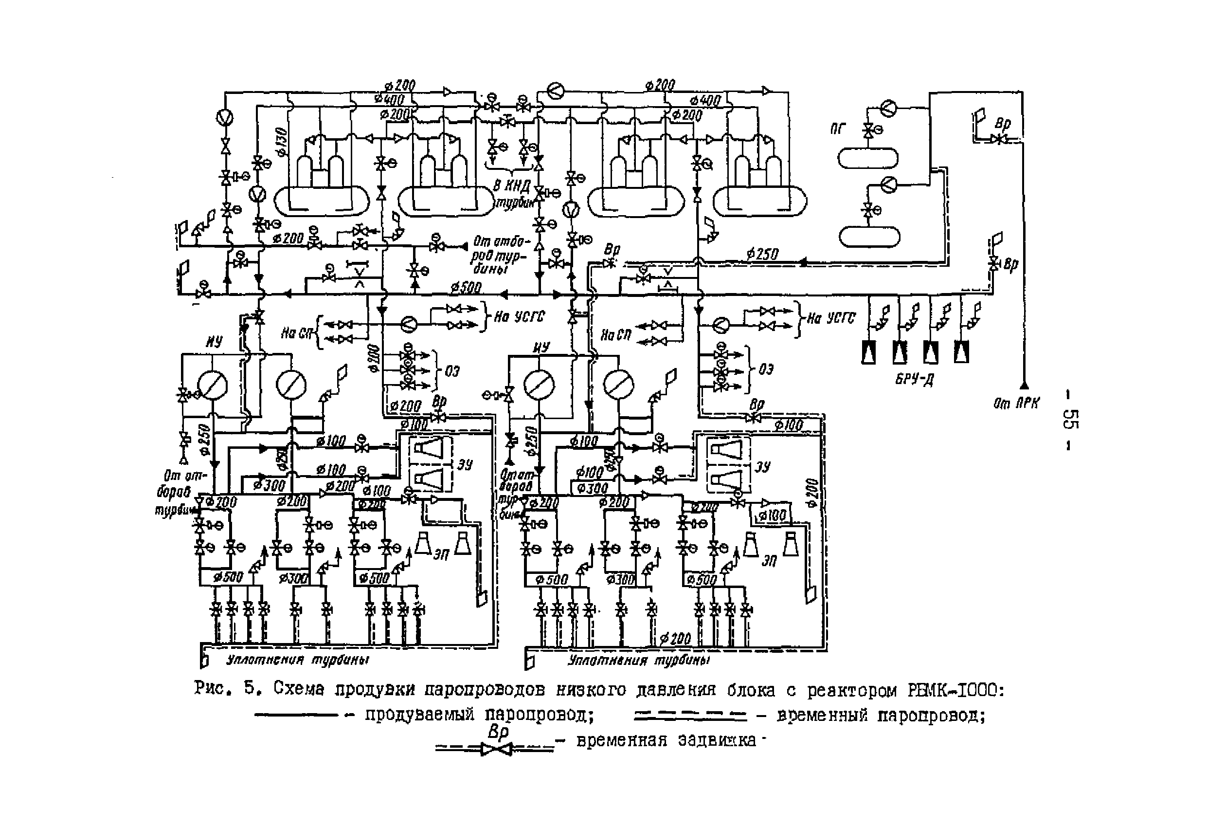
| Оглавление: | Перечень сокращений и условных обозначений 1 Общие положения 2 Особенности тепловых схем турбоустановок блоков с реакторами ВВЭР-1000 и РБМК-1000 3 Этапы пусконаладочных работ 4 Объем и последовательность проведения пусконаладочных работ на системах и оборудовании машзалов АЭС 5 Химическая промывка конденсатно-питательного тракта блоков с реакторами РБМК-1000 6 Химическая промывка контура охлаждения обмоток статора генератора 7 Химическая промывка маслопроводов 8 Безреагентные водные промывки 9 Паровая продувка паропроводов 10 Пуск и опробование систем и оборудования турбоустановки Приложение 1. Примерны перечень разрабатываемой технической документации для машзалов АЭС Приложение 2. Номенклатура пусконаладочных работ Приложение 3. Примерный сетевой график ПНР по машзалу блока РБМК-1000 Приложение 4. Примерный сетевой график ПНР по машзалу блока ВВЭР-1000 Приложение 5. Методика расчета параметров паровой продувки паропроводов Приложение 6. Технология пробного пуска турбоагрегата К-1000-60/1500-1 при неработающем реакторе Список использованной литературы |
| Разработан: | СПО Союзтехэнерго |
| Утверждён: | 03.07.1985 СПО Союзтехэнерго |
| Издан: | СПО Союзтехэнерго (1986 г. ) |
| Расположен в: | |
| Нормативные ссылки: |
|





































































































































