| ||||||||||||||||||||||||||||||||||
Скачать ГОСТ Р 54254-2010 Материалы углеродные. Метод определения теплопроводности при комнатной температуреДата актуализации: 10.08.2017
|
| Обозначение: | ГОСТ Р 54254-2010 |
| Обозначение англ: | GOST R 54254-2010 |
| Статус: | действует |
| Название рус.: | Материалы углеродные. Метод определения теплопроводности при комнатной температуре |
| Название англ.: | Carbon materials. Test method for thermal conductivity at room temperaturе |
| Дата добавления в базу: | 01.09.2013 |
| Дата актуализации: | 05.05.2017 |
| Дата введения: | 01.07.2012 |
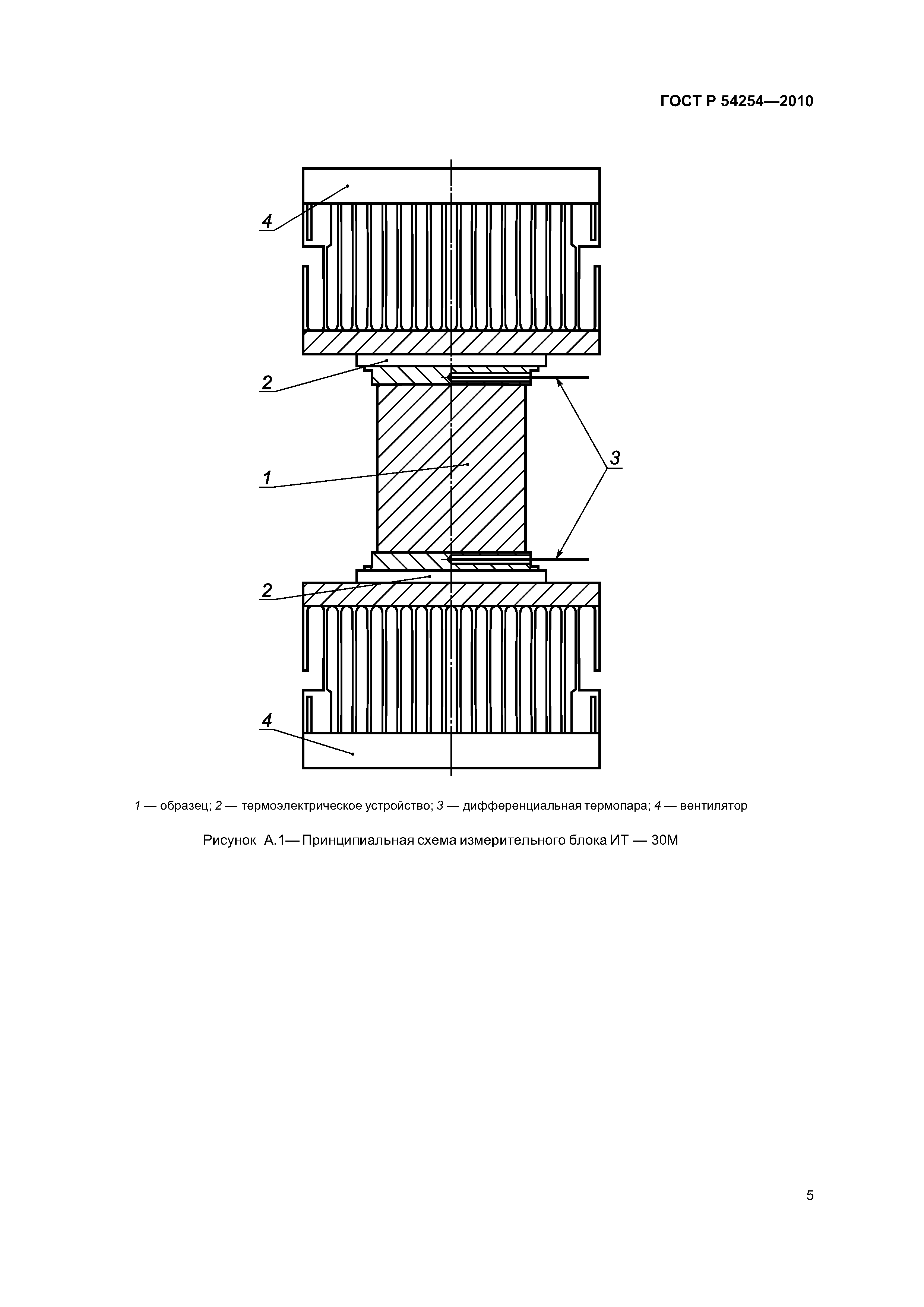
| Область применения: | Стандарт устанавливает метод определения теплопроводности углеродных материалов в квазистационарном режиме в диапазоне 2,5 - 250 Вт/(мК) при температуре окружающей среды с использованием измерителя теплопроводности типа ИТ-30М. |
| Оглавление: | 1 Область применения 2 Нормативные ссылки 3 Термины, определения и обозначения 4 Оборудование и материалы 5 Подготовка к проведению испытания 6 Проведение испытания 7 Обработка и оформление результатов испытаний 8 Протокол испытаний Приложение А (справочное) Измеритель теплопроводности цифровой ИТ-30М для определения теплопроводности углеродных материалов |
| Разработан: | ОАО Уралэлектродир |
| Утверждён: | 23.12.2010 Федеральное агентство по техническому регулированию и метрологии (1055-ст) |
| Издан: | Стандартинформ (2013 г. ) |
| Расположен в: | |
| Нормативные ссылки: |
|







