| ||||||||||||||||||||||||||||
Скачать ТТК 07.17.02 Монтаж металлических лестниц, площадок и ограждений в зданиях высотой до 25 м стреловыми кранамиДата актуализации: 10.08.2017
|
| Обозначение: | ТТК 07.17.02 |
| Обозначение англ: | 07.17.02 |
| Статус: | не установлен срок действия |
| Название рус.: | Монтаж металлических лестниц, площадок и ограждений в зданиях высотой до 25 м стреловыми кранами |
| Дата добавления в базу: | 01.09.2013 |
| Дата актуализации: | 05.05.2017 |
| Дата введения: | 20.10.1970 |
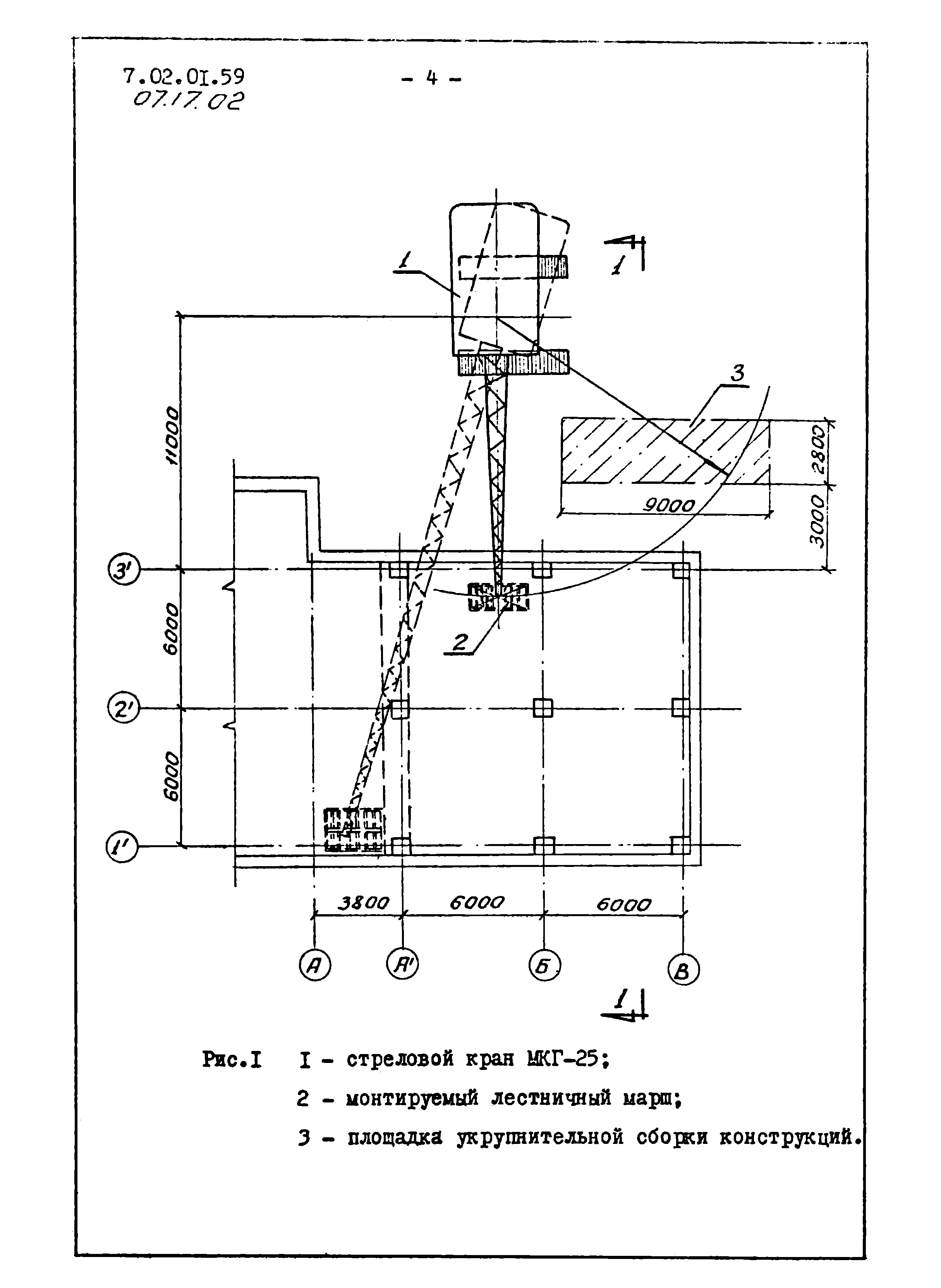
| Область применения: | Типовая технологическая карта применяется при организации строительства и производстве работ по монтажу металлических лестниц, площадок и ограждений в зданиях высотой до 25 метров стреловыми кранами на гусеничном ходу. |
| Оглавление: | 1. Область применения 2. Технико-экономические показатели строительного процесса 3. Организация и технология строительного процесса 4. Организация и методы труда рабочих 5. Материально-технические ресурсы 1. Основные материалы, полуфабрикаты и строительные детали |
| Разработан: | Трест Оргтехстрой Главлипецкстроя Минтяжстроя СССР |
| Утверждён: | 05.10.1970 Минтяжстрой СССР (USSR Mintyazhstroy 20-2-II/1149) 05.10.1970 Минпромстрой СССР (USSR Minpromstroy 20-2-II/1149) 05.10.1970 Минстрой СССР (USSR Minstroy 20-2-II/1149) |
| Расположен в: |













