| ||||||||||||||||||||||
Скачать Руководство по проектированию инженерно-технического оборудования убежищ гражданской обороныДата актуализации: 10.08.2017 |
| Статус: | действует |
| Название рус.: | Руководство по проектированию инженерно-технического оборудования убежищ гражданской обороны |
| Дата добавления в базу: | 01.09.2013 |
| Дата актуализации: | 05.05.2017 |
| Область применения: | В руководстве рассматривается применение положений "Указаний по проектированию убежищ гражданской обороны" (СН 405-70) в части устройства инженерно-технического оборудования (вентиляции, отопления, водоснабжения, канализации, электроснабжения и защищенных дизельных электростанций). Приводятся примеры расчетов и рекомендации из выбору оборудования. Руководство предназначено для специалистов, занимающихся проектированием и строительством убежищ гражданской обороны. |
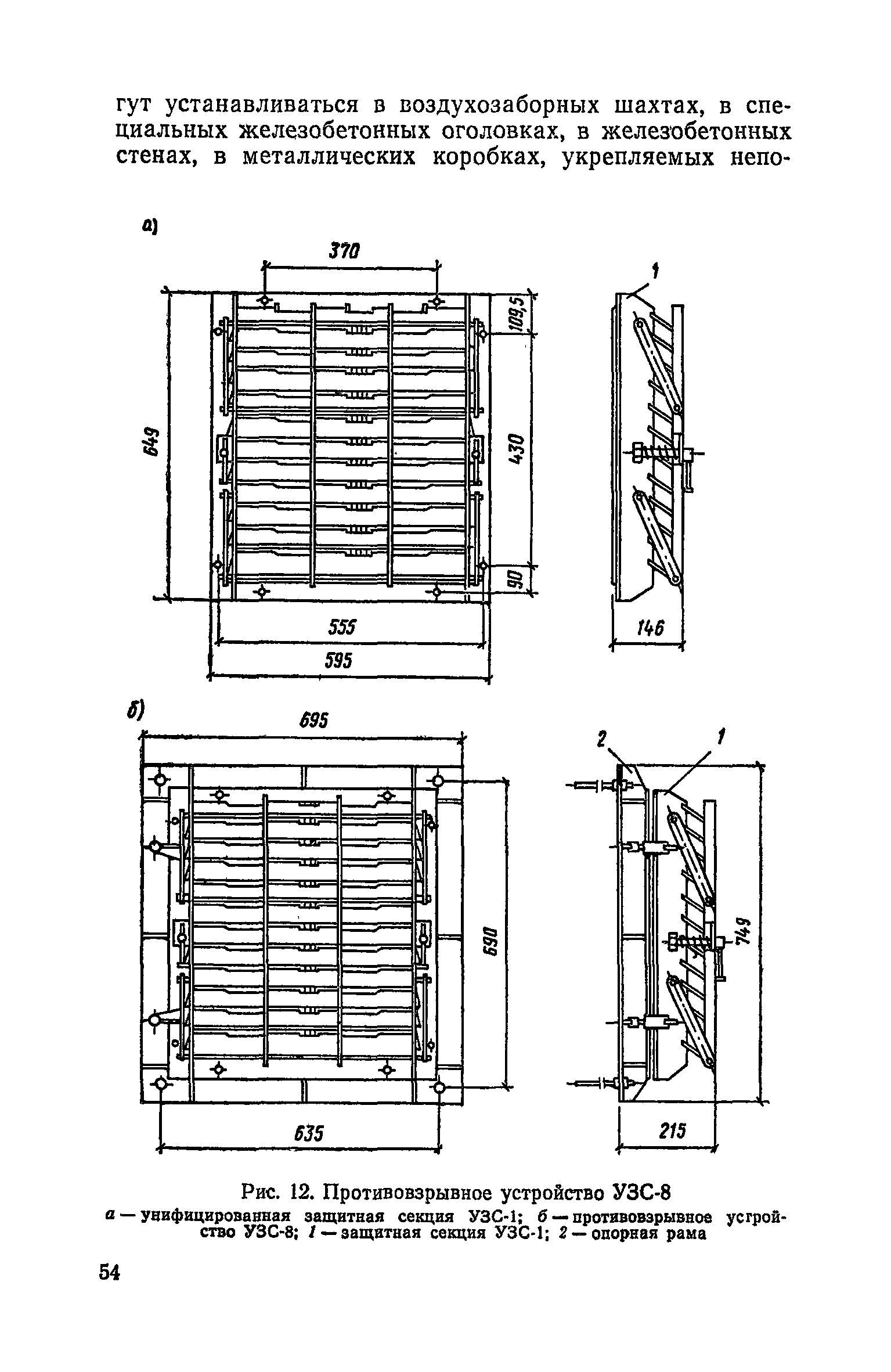
| Оглавление: | Введение 1. Общие положения 2. Вентиляция и отопление 3. Водоснабжение и канализация 4. Электроснабжение 5. Защищенные дизельные электростанции (ДЭС) Приложение 1. Среднемесячные температуры и теплосодержания наружного воздуха самого жаркого месяца Приложение 2. Средние температуры грунта в южных районах СССР за август Приложение 3. Экономическая эффективность воздухоохлаждающих установок |
| Разработан: | Сантехпроект Госстроя СССР |
| Издан: | Стройиздат (1974 г. ) |
| Расположен в: |








































































































































































