| ||||||||||||||||||||||
Скачать Рекомендации по проектированию водных лечебно-оздоровительных комплексов в приморских рекреационных зонахДата актуализации: 10.08.2017 |
| Статус: | не действует |
| Название рус.: | Рекомендации по проектированию водных лечебно-оздоровительных комплексов в приморских рекреационных зонах |
| Дата добавления в базу: | 01.09.2013 |
| Дата актуализации: | 05.05.2017 |
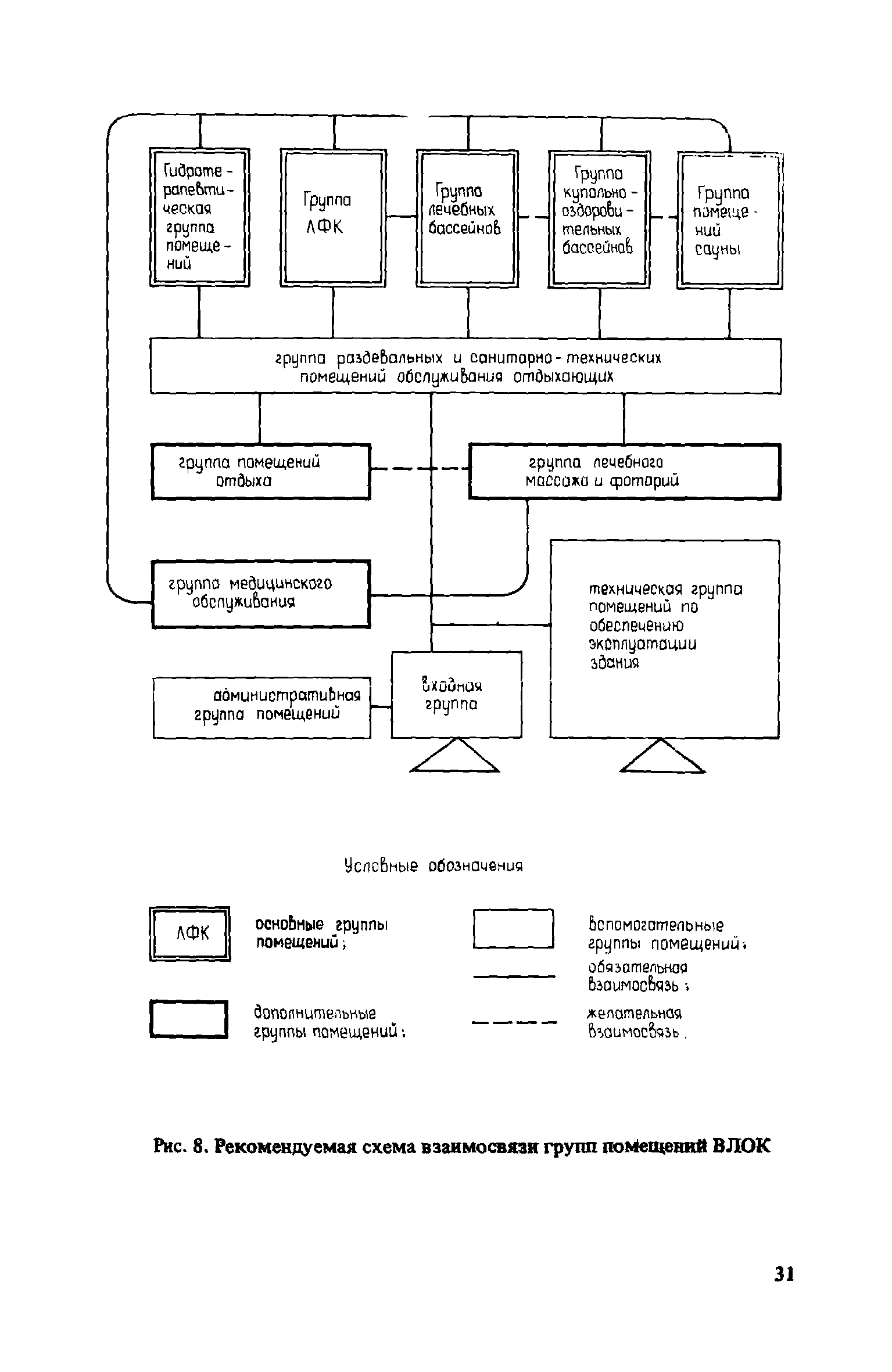
| Область применения: | В документе приведены номенклатура помещений, схемы взаимосвязи функциональных групп помещений для каждого из рекомендуемых типов ВЛОК. Выявлены предпосылки создания водных лечебно-оздоровительных комплексов (ВЛОК) в приморских рекреационных зонах, разработана их типопогическая классификация, даны предложения по созданию основных перспективных типов ВЛОК — для строительства в курортнооздоровительном учреждения, в курортном комплексе и на курорте. Для архитекторов, инженеров и научных работников, работающих в области проектирования курортно-оздоровительных сооружений, при проектировании водных лечебно-оздоровительных комплексов и лечебно-оздоровительных бассейнов. |
| Оглавление: | Введение 1. Общие положения 2. Типологическая классификация и номенклатура водных лечебно-оздоровительных комплексов 3. Размещение водных лечебно-оздоровительных комплексов в реакционной зоне и организация генерального плана 4. Функционально-планировочная структура водных лечебно-оздоровительных комплексов, номенклатура помещений и их параметры 5. Объемно-планировочные и композиционные приемы проектирования 6. Основные конструктивные решения |
| Разработан: | НИЛЭП ОИСИ |
| Издан: | Стройиздат (1984 г. ) |
| Расположен в: |












































