| ||||||||||||||||||||
Скачать Рекомендации по кодированию информации о дефектах и повреждениях металлических конструкцийДата актуализации: 10.08.2017 |
| Статус: | не действует |
| Название рус.: | Рекомендации по кодированию информации о дефектах и повреждениях металлических конструкций |
| Дата добавления в базу: | 01.09.2013 |
| Дата актуализации: | 05.05.2017 |
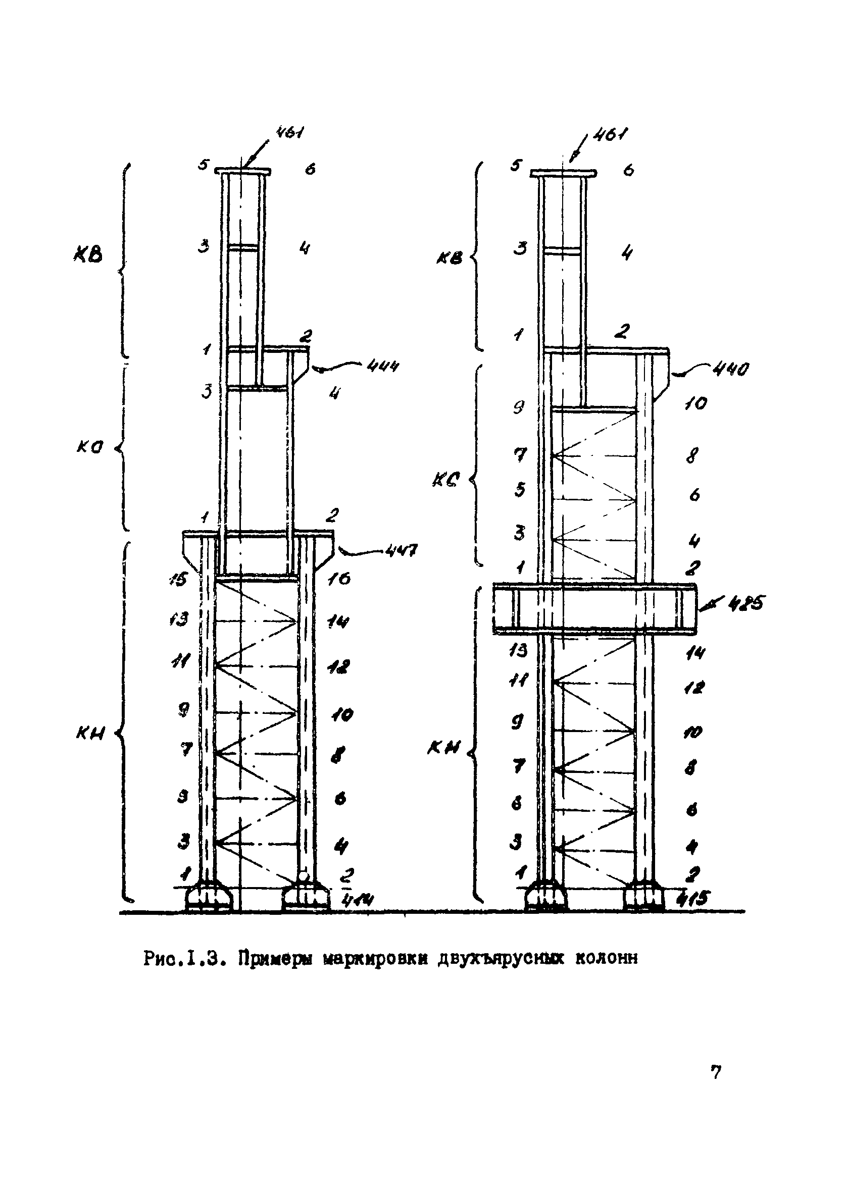
| Оглавление: | I Правила маркировки металлоконструкций производственных зданий и их элементов 1.1 Разбивочные оси здания и системы координат 1.2 Маркировка конструкций в системе всего здания 1.3 Маркировка узлов и элементов конструкций 1.4 Особенности маркировки конструкций 1.5 Назначение разбивочных осей здания при отсутствии проектной документации II Правила кодирования информации о дефектах и повреждениях 2.1 Общие указания 2.2 Порядок заполнения бланка SIGM - 1/1Б 2.3 Порядок выполнения бланка SIGM - 2/1Б 2.4 Порядок заполнения бланка SIGM - 3/1Б Приложение 1. Таблицы для кодирования условий эксплуатации конструкций Приложение 2. Коды основных параметров конструкций Приложение 3. Классификация дефектов и повреждений металлических конструкций Приложение 4. Маркировка конструктивных узлов колонн приложение 5. Пример заполнения бланков кодирования |
| Разработан: | ЦНИИпроектстальконструкция Госстроя |
| Утверждён: | 05.10.1984 Союзметаллостройниипроект (Soyuzmetallostroyniiproject ) |
| Расположен в: |

































































































