Информационная система
«Ёшкин Кот»

Скачать базу одним архивом
Скачать обновления
История создания базы
Карта сайта

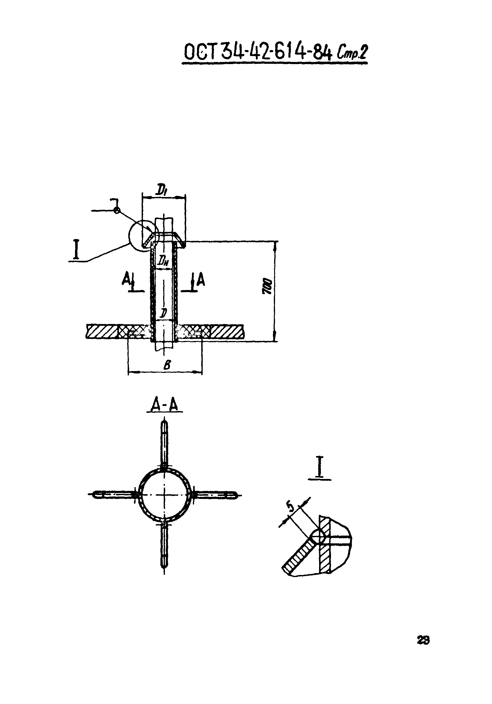
Скачать ОСТ 34-42-614-84 Втулка с колпаком для прохода через крышу. Типы и основные размеры

Дата актуализации: 10.08.2017

ОСТ 34-42-614-84

Втулка с колпаком для прохода через крышу. Типы и основные размеры

Обозначение: ОСТ 34-42-614-84
Обозначение англ: OST 34-42-614-84
Статус:не действует
Название рус.:Втулка с колпаком для прохода через крышу. Типы и основные размеры
Дата добавления в базу:01.09.2013
Дата актуализации:05.05.2017
Дата введения:01.07.1985
Дата окончания срока действия:01.07.1990
Область применения:Стандарт распространяется на втулки с колпаком для прохода через крышу, предназначенные для крепления трубопроводов ТЭС и АЭС с Дн 57 - 1420 мм, с параметрами среды: температурой не более 50 градусов Цельсия и давлением не более 4,0 Мпа.
Разработан: ПТИ Энергомонтажпроект Минэнерго СССР
Ленинградский филиал ПТИ Энергомонтажпроект
Утверждён:22.11.1984 Министерство энергетики и электрификации СССР (USSR Ministry of Energy and Electrical Power 154а)
Принят: ВО Союзэнергомонтаж
ВГНИПИИ Атомтеплоэлектропроект
Трест Теплоэнергооборудование
Расположен в:Техническая документация Строительство Стандарты Отраслевые стандарты и технические условия Отраслевые стандарты
ОСТ 34-42-614-84ОСТ 34-42-614-84ОСТ 34-42-614-84ОСТ 34-42-614-84ОСТ 34-42-614-84ОСТ 34-42-614-84ОСТ 34-42-614-84ОСТ 34-42-614-84ОСТ 34-42-614-84ОСТ 34-42-614-84ОСТ 34-42-614-84ОСТ 34-42-614-84ОСТ 34-42-614-84ОСТ 34-42-614-84ОСТ 34-42-614-84ОСТ 34-42-614-84ОСТ 34-42-614-84ОСТ 34-42-614-84ОСТ 34-42-614-84ОСТ 34-42-614-84ОСТ 34-42-614-84ОСТ 34-42-614-84ОСТ 34-42-614-84ОСТ 34-42-614-84ОСТ 34-42-614-84ОСТ 34-42-614-84ОСТ 34-42-614-84ОСТ 34-42-614-84ОСТ 34-42-614-84ОСТ 34-42-614-84ОСТ 34-42-614-84ОСТ 34-42-614-84ОСТ 34-42-614-84

© 2013 Ёшкин Кот :-) Карта сайта