| ||||||||||||||||||||||||||||||||||
Скачать ОСТ 24.271.25-74 Фильтры осветлительные вертикальные однокамерные. Конструкция и основные размеры. Технические требованияДата актуализации: 10.08.2017
|
| Обозначение: | ОСТ 24.271.25-74 |
| Обозначение англ: | OST 24.271.25-74 |
| Статус: | не действует |
| Название рус.: | Фильтры осветлительные вертикальные однокамерные. Конструкция и основные размеры. Технические требования |
| Дата добавления в базу: | 01.09.2013 |
| Дата актуализации: | 05.05.2017 |
| Дата введения: | 01.07.1975 |
| Дата окончания срока действия: | 01.07.1980 |
| Область применения: | Стандарт распространяется на фильтры осветлительные вертикальные однокамерные давлением 6 кгс/см2 и диаметром 1000, 1400, 2600, 3000 и 3400 мм, предусмотренные ОСТ 24.271.21. |
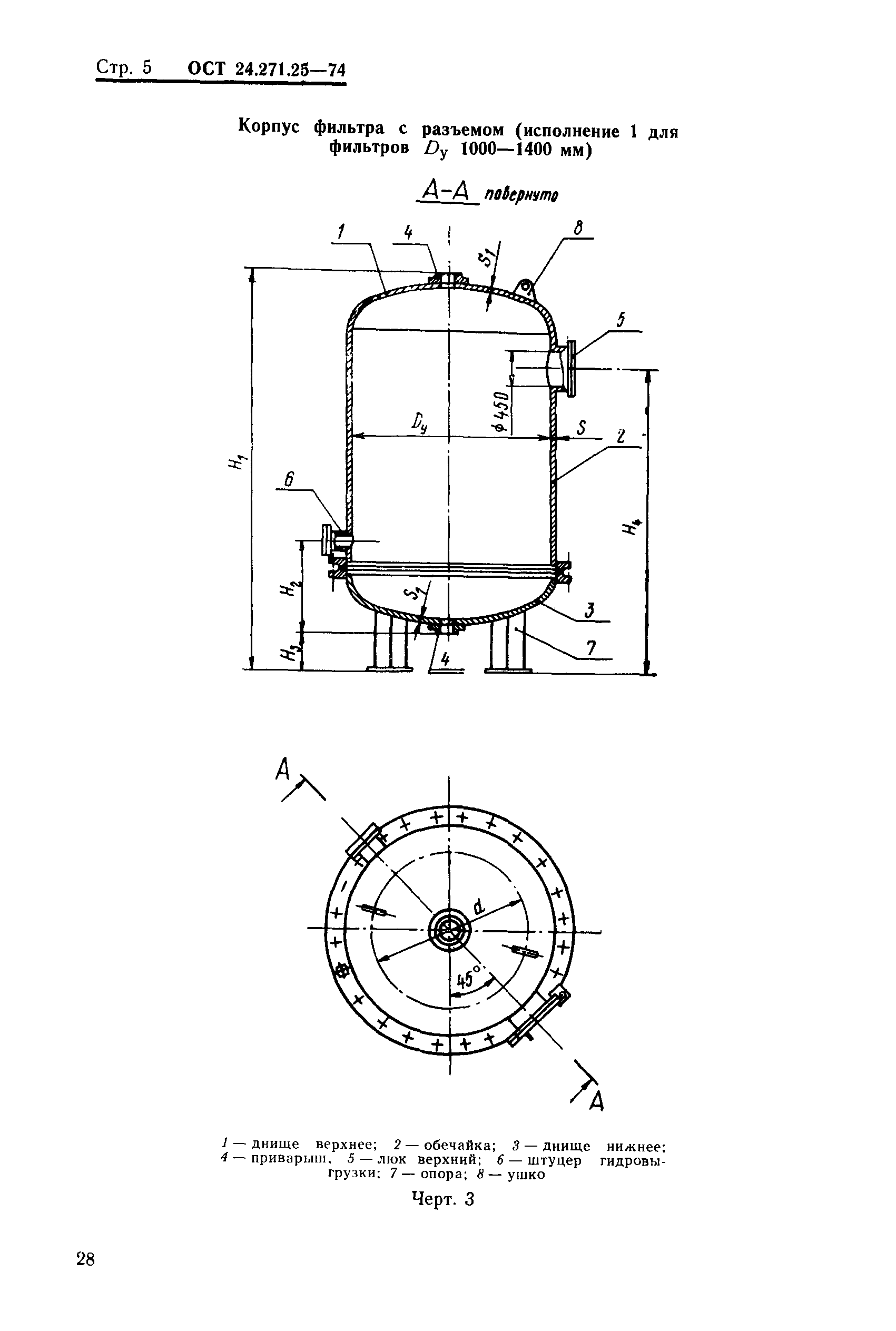
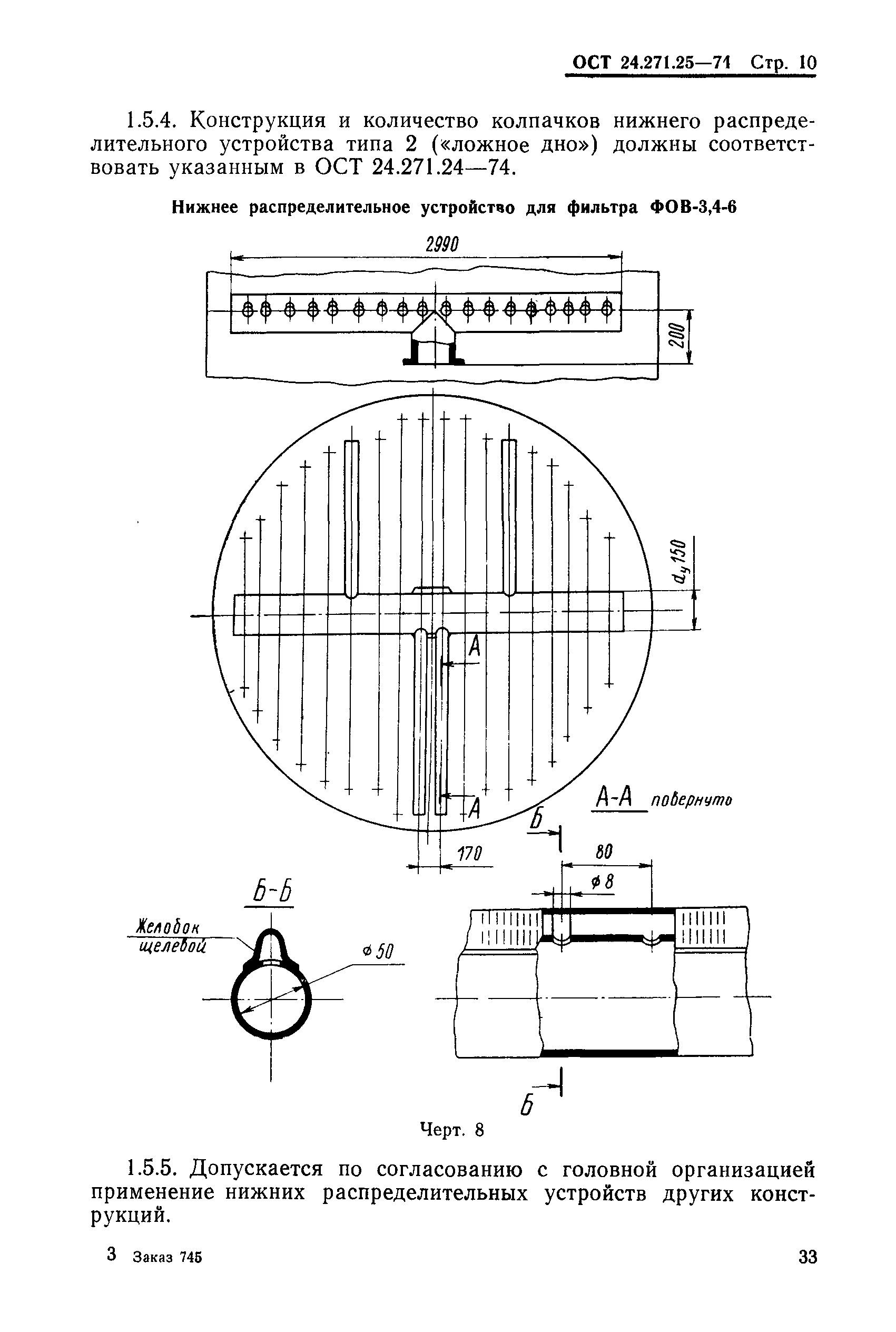
| Оглавление: | 1. Конструкция и основные размеры 1.2 Конструкция и основные размеры фронта фильтра 1.3 Конструкция и основные размеры корпусов фильтров 1.4 Конструкция и основные размеры верхних распределительных устройств 1.5 Типы, конструкция и основные размеры нижних распределительных устройств 2. Технические требования |
| Разработан: | Центральный научно-исследовательский и проектно-конструкторский котлотурбинный институт им. И.И. Ползунова |
| Утверждён: | 30.01.1974 Министерство тяжелого, энергетического и транспортного машиностроения (ВК-002/1143) |
| Принят: | Министерство энергетики и электрификации СССР (USSR Ministry of Energy and Electrical Power ) |
| Расположен в: | |
| Нормативные ссылки: |
|













