Информационная система
«Ёшкин Кот»

Скачать базу одним архивом
Скачать обновления
История создания базы
Карта сайта

Скачать СТО 70238424.27.040.018-2009 Турбина паровая К-300-240-1(2) ХТГЗ. Технические условия на капитальный ремонт. Нормы и требования

Дата актуализации: 10.08.2017

СТО 70238424.27.040.018-2009

Турбина паровая К-300-240-1(2) ХТГЗ. Технические условия на капитальный ремонт. Нормы и требования

Обозначение: СТО 70238424.27.040.018-2009
Обозначение англ: STO 70238424.27.040.018-2009
Статус:проект
Название рус.:Турбина паровая К-300-240-1(2) ХТГЗ. Технические условия на капитальный ремонт. Нормы и требования
Дата добавления в базу:01.10.2014
Дата актуализации:05.05.2017
Область применения:Стандарт распространяется на капитальный ремонт турбин паровых К-300-240-1 и К-З00-240-2 ОАО “Турбоатом” - правопреемника ХТГЗ и предназначен для применения генерирующими компаниями, эксплуатирующими организациями на тепловых электростанциях, ремонтными и иными организациями, осуществляющими ремонтное обслуживание оборудования электростанций.
Оглавление:1 Область применения
2 Нормативные ссылки
3 Термины, определения, обозначения и сокращения
4 Общие положения
5 Общие технические сведения
6 Общие технические требования
7 Требования к составным частям
   7.1 Корпусные части цилиндра ВД (карты 1, 3, 4, 6, 7, 9, 10, 11, 14, 15)
   7.2 Корпусные части цилиндра СД (карты 1, 3, 4, 6, 7, 9, 10, 11, 14, 15)
   7.3 Корпусные части цилиндра НД (карты 2, 5, 6, 8 - 13, 15)
   7.4 Роторы ВД, СД и НД (карта 16)
   7.5 Передний подшипник (карты 17, 18, 20, 23, 27)
   7.6 Средний подшипник (карты 17 - 20, 22 - 27)
   7.7 Опорные подшипники (карты 18, 20, 21, 23, 27)
   7.8 Валоповоротное устройство (карта 28)
   7.9 Цилиндр ВД (карта 29)
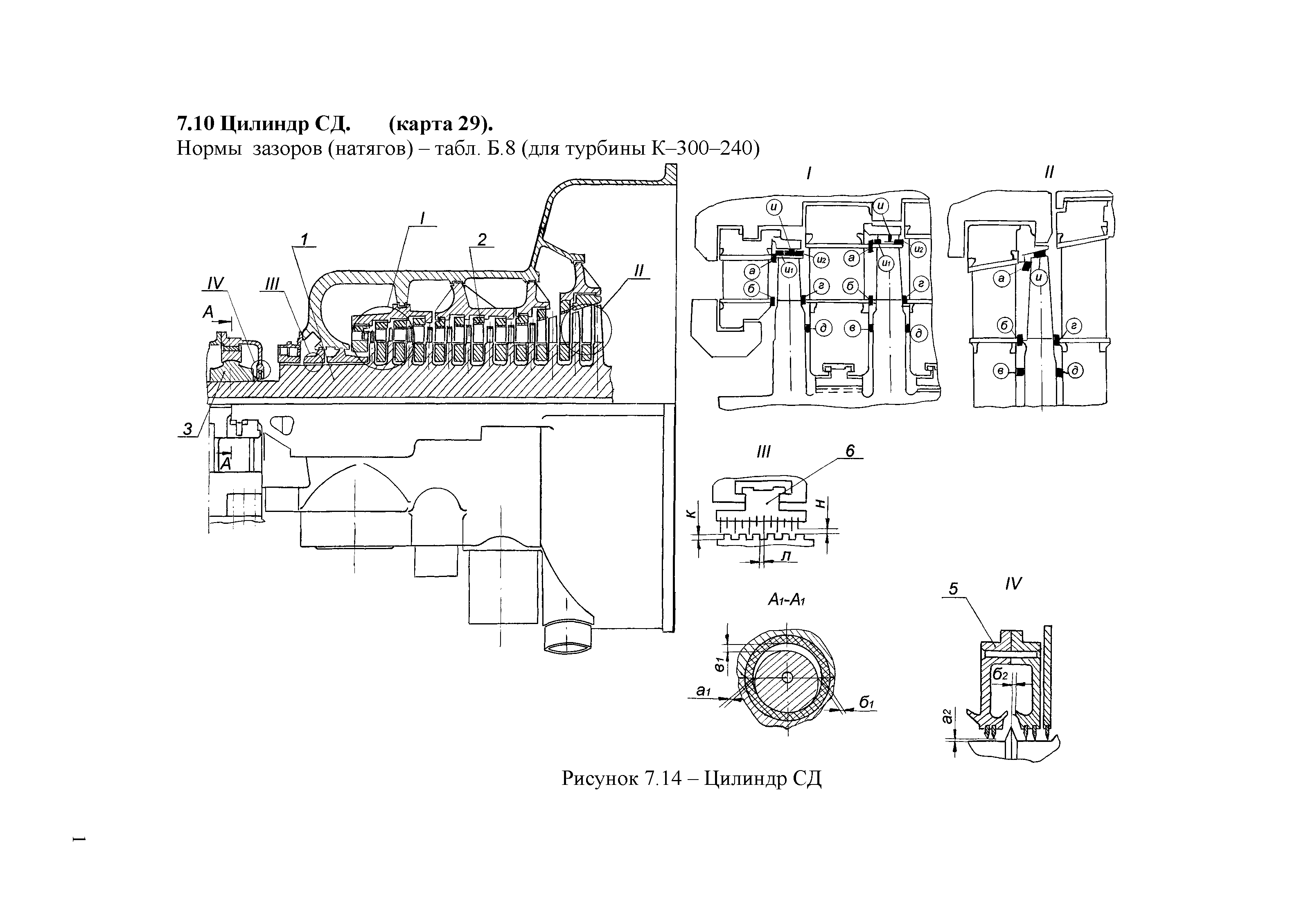
   7.10 Цилиндр СД (карта 29)
   7.11 Цилиндр НД (карта 29)
   7.12 Насос импульсный (карты 30, 31)
   7.13 Муфта "сигнализатор вращения - насос" (карта 32)
   7.14 Регулятор скорости (карты 33, 39)
   7.15 Золотник взведения (карта 39)
   7.16 Регулятор давления свежего пара (карта 39)
   7.17 Электропривод (карта 39)
   7.18 Промежуточный золотник (карта 39)
   7.19 Золотник с ускорителем главного сервомотора (карты 33, 38, 39)
   7.20 Золотник с ускорителем блока сервомоторов промперегрева (карты 33, 38, 39)
   7.21 Электрогидравлический преобразователь (карта 39)
   7.22 Автомат безопасности (карта 40)
   7.23 Исполнительный механизм автомата безопасности (карты 34, 37, 39, 41)
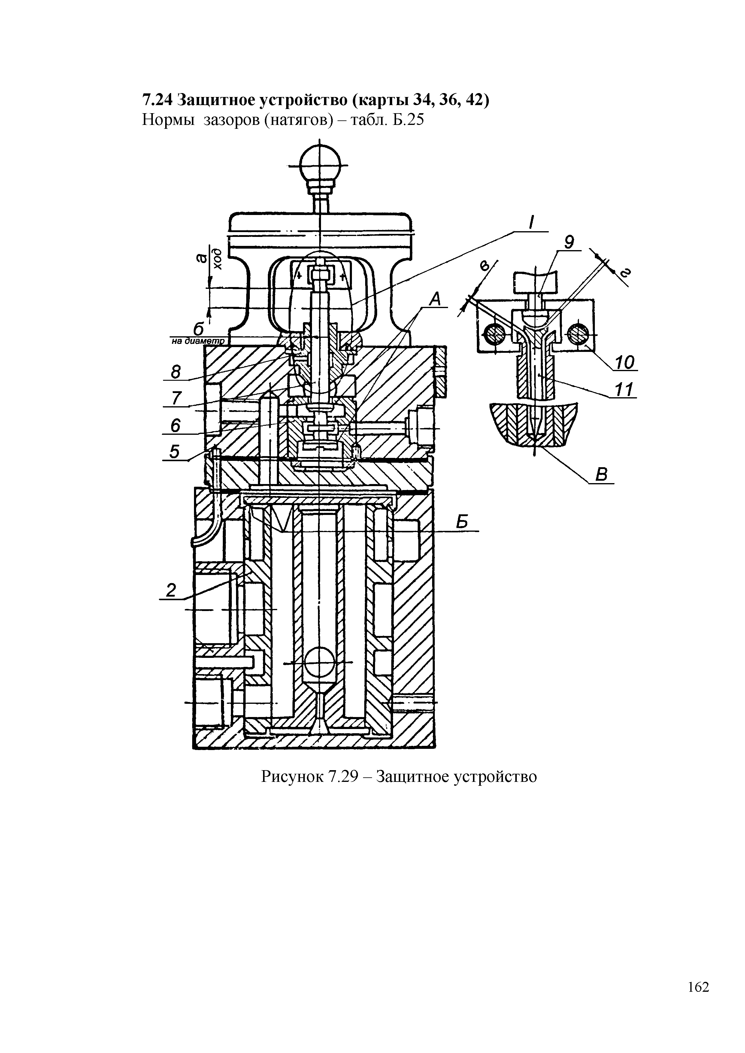
   7.24 Защитное устройство (карты 34, 36, 42)
   7.25 Выключатель стопорного клапана. Выключатель стопорного клапана промперегрева (карты 34, 36, 42)
   7.26 Клапан расхаживания (карты 34, 36, 42)
   7.27 Блок парораспределения (карты 34, 36, 37, 38, 43 - 48)
   7.28 Сервомотор регулирующих клапанов (карты 34, 36, 38, 43)
   7.29 Сервомотор стопорного клапана (карты 36, 43)
   7.30 Распределительное устройство (карты 36, 37, 44)
   7.31 Клапан стопорный (карты 34, 45 - 48)
   7.32 Клапан регулирующий (карты 34, 45, 46, 48)
   7.33 Клапан промперегрева с блоком сервомоторов (карты 34, 36, 38, 43, 45 - 48)
   7.34 Блок сервомоторов промперегрева (карты 34, 36, 38, 43)
   7.35 Клапан промперегрева (карты 34, 45 - 48)
8 Требования к сборке и к отремонтированному изделию
9 Испытания и показатели качества отремонтированной турбины
10 Требования к обеспечению безопасности
11 Оценка соответствия
Приложение А (обязательное). Сводная таблица по замене материалов деталей турбины
Приложение Б (обязательное). Нормы зазоров (натягов)
Приложение В (рекомендуемое). Перечень средств измерения, упомянутых в стандарте
Приложение Г (обязательное). Об устранении недопустимых поворотов опоры подшипника 2 турбин К-300-240-1 и К-300-240-2 ПОТ ХТЗ
Приложение Д (обязательное). О сборке, центровке муфт и системы РВД-РСД турбин К-300-240 ПОАТ ХТЗ и К-200-130 ПОТ ЛМЗ
Приложение Е (справочное). Перечень чертежей, использованных при разработке стандарта
Библиография
Разработан: ЗАО ЦКБ Энергоремонт
Утверждён: НП ИНВЭЛ
Расположен в:Техническая документация
Нормативные ссылки:
СТО 70238424.27.040.018-2009СТО 70238424.27.040.018-2009СТО 70238424.27.040.018-2009СТО 70238424.27.040.018-2009СТО 70238424.27.040.018-2009СТО 70238424.27.040.018-2009СТО 70238424.27.040.018-2009СТО 70238424.27.040.018-2009СТО 70238424.27.040.018-2009СТО 70238424.27.040.018-2009СТО 70238424.27.040.018-2009СТО 70238424.27.040.018-2009СТО 70238424.27.040.018-2009СТО 70238424.27.040.018-2009СТО 70238424.27.040.018-2009СТО 70238424.27.040.018-2009СТО 70238424.27.040.018-2009СТО 70238424.27.040.018-2009СТО 70238424.27.040.018-2009СТО 70238424.27.040.018-2009СТО 70238424.27.040.018-2009СТО 70238424.27.040.018-2009СТО 70238424.27.040.018-2009СТО 70238424.27.040.018-2009СТО 70238424.27.040.018-2009СТО 70238424.27.040.018-2009СТО 70238424.27.040.018-2009СТО 70238424.27.040.018-2009СТО 70238424.27.040.018-2009СТО 70238424.27.040.018-2009СТО 70238424.27.040.018-2009СТО 70238424.27.040.018-2009СТО 70238424.27.040.018-2009СТО 70238424.27.040.018-2009СТО 70238424.27.040.018-2009СТО 70238424.27.040.018-2009СТО 70238424.27.040.018-2009СТО 70238424.27.040.018-2009СТО 70238424.27.040.018-2009СТО 70238424.27.040.018-2009СТО 70238424.27.040.018-2009СТО 70238424.27.040.018-2009СТО 70238424.27.040.018-2009СТО 70238424.27.040.018-2009СТО 70238424.27.040.018-2009СТО 70238424.27.040.018-2009СТО 70238424.27.040.018-2009СТО 70238424.27.040.018-2009СТО 70238424.27.040.018-2009СТО 70238424.27.040.018-2009СТО 70238424.27.040.018-2009СТО 70238424.27.040.018-2009СТО 70238424.27.040.018-2009СТО 70238424.27.040.018-2009СТО 70238424.27.040.018-2009СТО 70238424.27.040.018-2009СТО 70238424.27.040.018-2009СТО 70238424.27.040.018-2009СТО 70238424.27.040.018-2009СТО 70238424.27.040.018-2009СТО 70238424.27.040.018-2009СТО 70238424.27.040.018-2009СТО 70238424.27.040.018-2009СТО 70238424.27.040.018-2009СТО 70238424.27.040.018-2009СТО 70238424.27.040.018-2009СТО 70238424.27.040.018-2009СТО 70238424.27.040.018-2009СТО 70238424.27.040.018-2009СТО 70238424.27.040.018-2009СТО 70238424.27.040.018-2009СТО 70238424.27.040.018-2009СТО 70238424.27.040.018-2009СТО 70238424.27.040.018-2009СТО 70238424.27.040.018-2009СТО 70238424.27.040.018-2009СТО 70238424.27.040.018-2009СТО 70238424.27.040.018-2009СТО 70238424.27.040.018-2009СТО 70238424.27.040.018-2009СТО 70238424.27.040.018-2009СТО 70238424.27.040.018-2009СТО 70238424.27.040.018-2009СТО 70238424.27.040.018-2009СТО 70238424.27.040.018-2009СТО 70238424.27.040.018-2009СТО 70238424.27.040.018-2009СТО 70238424.27.040.018-2009СТО 70238424.27.040.018-2009СТО 70238424.27.040.018-2009СТО 70238424.27.040.018-2009СТО 70238424.27.040.018-2009СТО 70238424.27.040.018-2009СТО 70238424.27.040.018-2009СТО 70238424.27.040.018-2009СТО 70238424.27.040.018-2009СТО 70238424.27.040.018-2009СТО 70238424.27.040.018-2009СТО 70238424.27.040.018-2009СТО 70238424.27.040.018-2009СТО 70238424.27.040.018-2009СТО 70238424.27.040.018-2009СТО 70238424.27.040.018-2009СТО 70238424.27.040.018-2009СТО 70238424.27.040.018-2009СТО 70238424.27.040.018-2009СТО 70238424.27.040.018-2009СТО 70238424.27.040.018-2009СТО 70238424.27.040.018-2009СТО 70238424.27.040.018-2009СТО 70238424.27.040.018-2009СТО 70238424.27.040.018-2009СТО 70238424.27.040.018-2009СТО 70238424.27.040.018-2009СТО 70238424.27.040.018-2009СТО 70238424.27.040.018-2009СТО 70238424.27.040.018-2009СТО 70238424.27.040.018-2009СТО 70238424.27.040.018-2009СТО 70238424.27.040.018-2009СТО 70238424.27.040.018-2009СТО 70238424.27.040.018-2009СТО 70238424.27.040.018-2009СТО 70238424.27.040.018-2009СТО 70238424.27.040.018-2009СТО 70238424.27.040.018-2009СТО 70238424.27.040.018-2009СТО 70238424.27.040.018-2009СТО 70238424.27.040.018-2009СТО 70238424.27.040.018-2009СТО 70238424.27.040.018-2009СТО 70238424.27.040.018-2009СТО 70238424.27.040.018-2009СТО 70238424.27.040.018-2009СТО 70238424.27.040.018-2009СТО 70238424.27.040.018-2009СТО 70238424.27.040.018-2009СТО 70238424.27.040.018-2009СТО 70238424.27.040.018-2009СТО 70238424.27.040.018-2009СТО 70238424.27.040.018-2009СТО 70238424.27.040.018-2009СТО 70238424.27.040.018-2009СТО 70238424.27.040.018-2009СТО 70238424.27.040.018-2009СТО 70238424.27.040.018-2009СТО 70238424.27.040.018-2009СТО 70238424.27.040.018-2009СТО 70238424.27.040.018-2009СТО 70238424.27.040.018-2009СТО 70238424.27.040.018-2009СТО 70238424.27.040.018-2009СТО 70238424.27.040.018-2009СТО 70238424.27.040.018-2009СТО 70238424.27.040.018-2009СТО 70238424.27.040.018-2009СТО 70238424.27.040.018-2009СТО 70238424.27.040.018-2009СТО 70238424.27.040.018-2009СТО 70238424.27.040.018-2009СТО 70238424.27.040.018-2009СТО 70238424.27.040.018-2009СТО 70238424.27.040.018-2009СТО 70238424.27.040.018-2009СТО 70238424.27.040.018-2009СТО 70238424.27.040.018-2009СТО 70238424.27.040.018-2009СТО 70238424.27.040.018-2009СТО 70238424.27.040.018-2009СТО 70238424.27.040.018-2009СТО 70238424.27.040.018-2009СТО 70238424.27.040.018-2009СТО 70238424.27.040.018-2009СТО 70238424.27.040.018-2009СТО 70238424.27.040.018-2009СТО 70238424.27.040.018-2009СТО 70238424.27.040.018-2009СТО 70238424.27.040.018-2009СТО 70238424.27.040.018-2009СТО 70238424.27.040.018-2009СТО 70238424.27.040.018-2009СТО 70238424.27.040.018-2009СТО 70238424.27.040.018-2009СТО 70238424.27.040.018-2009СТО 70238424.27.040.018-2009СТО 70238424.27.040.018-2009СТО 70238424.27.040.018-2009СТО 70238424.27.040.018-2009СТО 70238424.27.040.018-2009СТО 70238424.27.040.018-2009СТО 70238424.27.040.018-2009СТО 70238424.27.040.018-2009СТО 70238424.27.040.018-2009СТО 70238424.27.040.018-2009СТО 70238424.27.040.018-2009СТО 70238424.27.040.018-2009СТО 70238424.27.040.018-2009СТО 70238424.27.040.018-2009СТО 70238424.27.040.018-2009СТО 70238424.27.040.018-2009СТО 70238424.27.040.018-2009СТО 70238424.27.040.018-2009СТО 70238424.27.040.018-2009СТО 70238424.27.040.018-2009СТО 70238424.27.040.018-2009СТО 70238424.27.040.018-2009СТО 70238424.27.040.018-2009СТО 70238424.27.040.018-2009СТО 70238424.27.040.018-2009СТО 70238424.27.040.018-2009СТО 70238424.27.040.018-2009СТО 70238424.27.040.018-2009СТО 70238424.27.040.018-2009СТО 70238424.27.040.018-2009СТО 70238424.27.040.018-2009СТО 70238424.27.040.018-2009СТО 70238424.27.040.018-2009СТО 70238424.27.040.018-2009СТО 70238424.27.040.018-2009СТО 70238424.27.040.018-2009СТО 70238424.27.040.018-2009СТО 70238424.27.040.018-2009СТО 70238424.27.040.018-2009СТО 70238424.27.040.018-2009СТО 70238424.27.040.018-2009СТО 70238424.27.040.018-2009СТО 70238424.27.040.018-2009СТО 70238424.27.040.018-2009СТО 70238424.27.040.018-2009СТО 70238424.27.040.018-2009СТО 70238424.27.040.018-2009СТО 70238424.27.040.018-2009СТО 70238424.27.040.018-2009СТО 70238424.27.040.018-2009СТО 70238424.27.040.018-2009СТО 70238424.27.040.018-2009СТО 70238424.27.040.018-2009СТО 70238424.27.040.018-2009СТО 70238424.27.040.018-2009СТО 70238424.27.040.018-2009СТО 70238424.27.040.018-2009СТО 70238424.27.040.018-2009СТО 70238424.27.040.018-2009СТО 70238424.27.040.018-2009СТО 70238424.27.040.018-2009СТО 70238424.27.040.018-2009СТО 70238424.27.040.018-2009СТО 70238424.27.040.018-2009СТО 70238424.27.040.018-2009СТО 70238424.27.040.018-2009СТО 70238424.27.040.018-2009СТО 70238424.27.040.018-2009СТО 70238424.27.040.018-2009СТО 70238424.27.040.018-2009СТО 70238424.27.040.018-2009СТО 70238424.27.040.018-2009СТО 70238424.27.040.018-2009СТО 70238424.27.040.018-2009СТО 70238424.27.040.018-2009СТО 70238424.27.040.018-2009СТО 70238424.27.040.018-2009СТО 70238424.27.040.018-2009СТО 70238424.27.040.018-2009СТО 70238424.27.040.018-2009СТО 70238424.27.040.018-2009СТО 70238424.27.040.018-2009СТО 70238424.27.040.018-2009СТО 70238424.27.040.018-2009СТО 70238424.27.040.018-2009СТО 70238424.27.040.018-2009СТО 70238424.27.040.018-2009СТО 70238424.27.040.018-2009СТО 70238424.27.040.018-2009СТО 70238424.27.040.018-2009СТО 70238424.27.040.018-2009СТО 70238424.27.040.018-2009СТО 70238424.27.040.018-2009СТО 70238424.27.040.018-2009СТО 70238424.27.040.018-2009СТО 70238424.27.040.018-2009СТО 70238424.27.040.018-2009СТО 70238424.27.040.018-2009СТО 70238424.27.040.018-2009СТО 70238424.27.040.018-2009СТО 70238424.27.040.018-2009СТО 70238424.27.040.018-2009СТО 70238424.27.040.018-2009СТО 70238424.27.040.018-2009СТО 70238424.27.040.018-2009СТО 70238424.27.040.018-2009СТО 70238424.27.040.018-2009

© 2013 Ёшкин Кот :-) Карта сайта