| ||||||||||||||||||||||||||||
Скачать СТО 70238424.27.040.013-2009 Турбина паровая приводная ОК-18ПУ. Технические условия на капитальный ремонт. Нормы и требованияДата актуализации: 10.08.2017
|
| Обозначение: | СТО 70238424.27.040.013-2009 |
| Обозначение англ: | STO 70238424.27.040.013-2009 |
| Статус: | проект |
| Название рус.: | Турбина паровая приводная ОК-18ПУ. Технические условия на капитальный ремонт. Нормы и требования |
| Дата добавления в базу: | 01.10.2014 |
| Дата актуализации: | 05.05.2017 |
| Область применения: | Стандарт распространяется на капитальный ремонт турбины паровой приводной ОК-18ПУ, кроме турбин, в части модернизированной системы автоматического регулирования, переведенной на электрогидравлическую схему и предназначен для применения генерирующими компаниями, эксплуатирующими организациями на тепловых электростанциях, ремонтными и иными организациями, осуществляющими ремонтное обслуживание оборудования электростанций. |
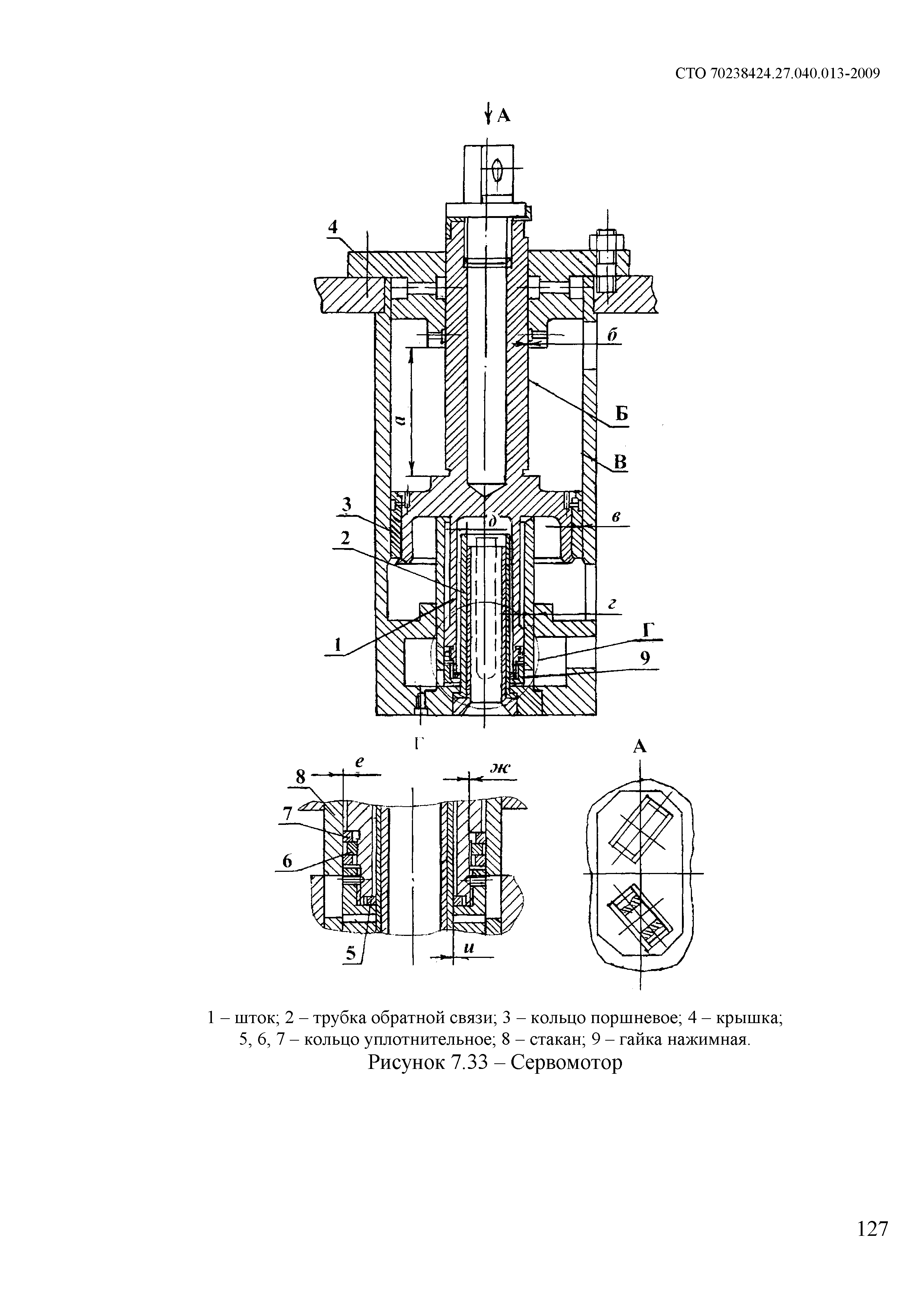
| Оглавление: | 1 Область применения 2 Нормативные ссылки 3 Термины, определения, обозначения и сокращения 4 Общие положения 5 Общие технические сведения 6 Общие технические требования 7 Требования к составным частям 7.1 Статор (карты 1 - 5) 7.2 Требования к сборке статора турбины 7.3 Ротор (карта 6) 7.4 Подшипники (карты 7 - 12) 7.5 Требования к сборке подшипников 7.6 Требования к сборке цилиндра и подшипников турбины 7.7 Редуктор (карты 13 - 15) 7.8 Требования к сборке редуктора 7.9 Муфты переходная и эластичная (карта 15) 7.10 Требования к сборке муфт 7.11 Валоповоротное устройство (карта 15) 7.12 Требования к сборке валоповоротного устройства 7.13 Детали зубчатых соединений (карта 15) 7.14 Узлы регулирования (карты 16 - 22) 7.15 Требования к сборке узлов регулирования 7.16 Регулятор безопасности (карта 20) 7.17 Требования к сборке регулятора безопасности 7.18 Сервомотор (карта 18) 7.19 Привод стопорного клапана (карта 21) 7.20 Требования к сборке сервомотора и привода стопорного клапана …. 7.21 Парораспределение (карты 22 - 27) 7.22 Требования к сборке парораспределения и стопорного клапана 8 Требования к сборке и отремонтированной турбине 9 Испытания и показатели качества отремонтированной турбины 10 Требования к обеспечению безопасности 11 Оценка соответствия Приложение А (обязательное). Разрешенные замены материалов Приложение Б (рекомендуемое). Перечень средств измерительной техники, инструмента и приборов, упомянутых в стандарте Библиография |
| Разработан: | ЗАО ЦКБ Энергоремонт |
| Утверждён: | НП ИНВЭЛ |
| Расположен в: | |
| Нормативные ссылки: |















































































































































































