Скачать СТО 70238424.27.040.009-2009 Турбина паровая К-300-240-1 ЛМЗ. Технические условия на капитальный ремонт. Нормы и требованияДата актуализации: 10.08.2017 СТО 70238424.27.040.009-2009
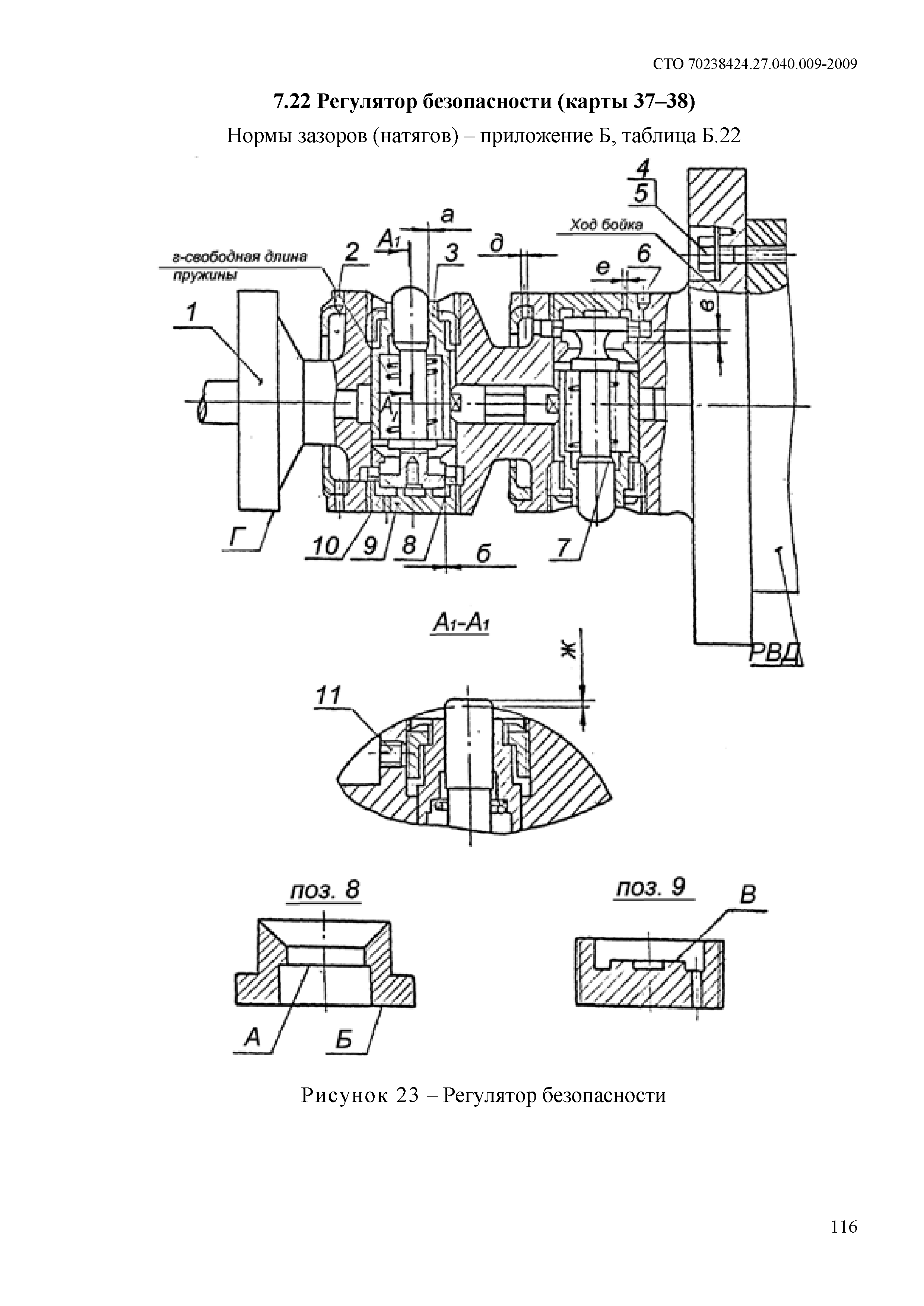
Турбина паровая К-300-240-1 ЛМЗ. Технические условия на капитальный ремонт. Нормы и требованияОбозначение: | СТО 70238424.27.040.009-2009 | Обозначение англ: | STO 70238424.27.040.009-2009 | Статус: | проект | Название рус.: | Турбина паровая К-300-240-1 ЛМЗ. Технические условия на капитальный ремонт. Нормы и требования | Дата добавления в базу: | 01.10.2014 | Дата актуализации: | 05.05.2017 | Область применения: | Стандарт распространяется на капитальный ремонт турбин паровых К—300—240—1 ЛМЗ и предназначен для применения генерирующими компаниями, эксплуатирующими организациями на тепловых электростанциях, ремонтными и иными организациями, осуществляющими ремонтное обслуживание оборудования электростанций. | Оглавление: | 1 Область применения 2 Нормативные ссылки 3 Термины, определения, обозначения и сокращения 4 Общие положения 5 Общие технические сведения 6 Общие технические требования 7 Требования к составным частям (карты дефектации и измерений) 7.1 Корпусные части цилиндра ВД (карты 1, 3, 5 - 7, 9 - 11, 13, 14) 7.2 Корпусные части цилиндра СД (карты 1, 3, 5 - 7, 9 - 11, 14) 7.3 Корпусные части цилиндра НД (карты 2, 4 - 6, 8 - 12, 14) 7.4 Ротор ВД (карта 15) 7.5 Ротор СД (карта 15) 7.6 Ротор НД (карта 15) 7.7 Передний подшипник (карты 16, 17, 22, 23, 25) 7.8 Средний подшипник (карты 16 - 25) 7.9 Валоповоротное устройство (карта 26) 7.10 Цилиндр ВД (карта 27) 7.11 Цилиндр СД (карта 28) 7.12 Цилиндр НД (карта 27) 7.13 Регулятор скорости РС-3000-3 (карта 28) 7.14 Привод регулятора скорости (карта 29) 7.15 Привод к тахометру (карта 30) 7.16 Блок золотников регулятора скорости (карты 31 - 36) 7.17 Промежуточный золотник черт. Б-1 195767 (карты 31 - 36) 7.18 Промежуточный золотник черт. Ау-1252729 (карты 31 - 36) 7.19 Электрогидравлический преобразователь черт. Б-1195498 (карты 31 - 36) 7.20 Электрогидравлический преобразователь черт. Б-1235226 (карты 31 - 36) 7.21 Золотники регулятора безопасности (карты 31 - 36) 7.22 Регулятор безопасности (карты 37 - 38) 7.23 Рычаги и указатели срабатывания регулятора безопасности (карта 39) 7.24 Электромагнитный выключатель (карта 40) 7.25 Коробка регулирования (карта 41) 7.26 Сервомотор автоматического затвора свежего пара (карты 42 - 44) 7.27 Сервомотор регулирующих клапанов ЦВД (карты 42 - 44) 7.28 Сервомотор регулирующих клапанов ЦСД (карты 42 - 44) 7.29 Сервомотор сбросного клапана (карты 42 - 44) 7.30 Клапан автоматического затвора (карты 45 - 49) 7.31 Клапаны регулирующие ЦВД (карты 45 - 47, 49) 7.32 Клапаны регулирующие ЦВД с разгрузкой (карты 45 - 47, 49) 7.33 Клапаны ЦСД с коробкой (карты 45 - 49) 7.34 Привод отсечного клапана ЦСД (карта 49) 7.35 Сбросной клапан (карты 45 - 47, 49) 8 Требования к сборке и к отремонтированному изделию 9 Испытания и показатели качества отремонтированной турбины 10 Требования к обеспечению безопасности 11 Оценка соответствия Приложение А (обязательное). Допускаемые замены материалов Приложение Б (обязательное). Нормы зазоров (натягов) Приложение В (рекомендуемое). Перечень средств измерения, упомянутых в стандарте Приложение Г (обязательное). Замена бандажей без разлопачивания ступени турбины Приложение Д (обязательное). "О допустимости увеличения отверстий под болты в соединительных муфтах турбоагрегатов при ремонтах валопроводов" Приложение Е (обязательное). Контроль травлением металла лопаток из хромистых сталей паровых турбин Приложение Ж (обязательное). Осмотр, ремонт и контроль выходных кромок рабочих лопаток последних ступеней ЦНД турбин: К-300-240, К-500-240 и К-800-240 Приложение З (обязательное). Ремонт и замена регулятора скорости на электростанциях Приложение И (обязательное). Устранение ослабления посадки седел стопорных и регулирующих клапанов п/турбин высокого давления Библиография | Разработан: | ЗАО ЦКБ Энергоремонт
| Утверждён: | НП ИНВЭЛ
| Расположен в: |
| Нормативные ссылки: | |
                                                                                                                                                                                                                                                                               
|