Скачать СТО 70238424.27.040.006-2009 Турбина паровая К-200-130 ЛМЗ. Технические условия на капитальный ремонт. Нормы и требованияДата актуализации: 10.08.2017 СТО 70238424.27.040.006-2009
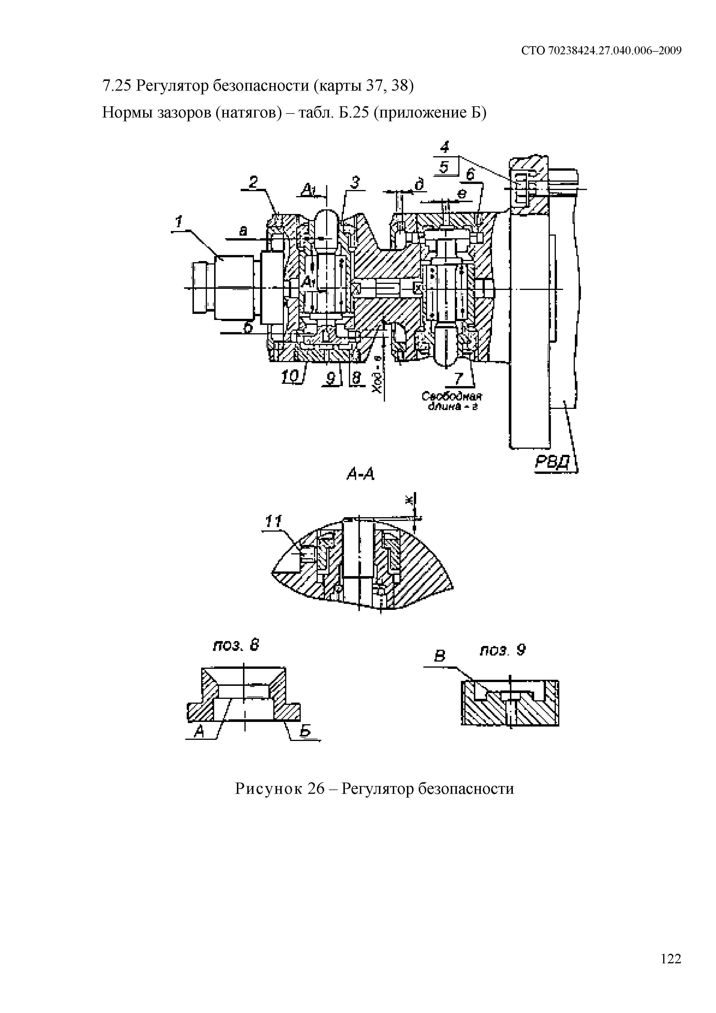
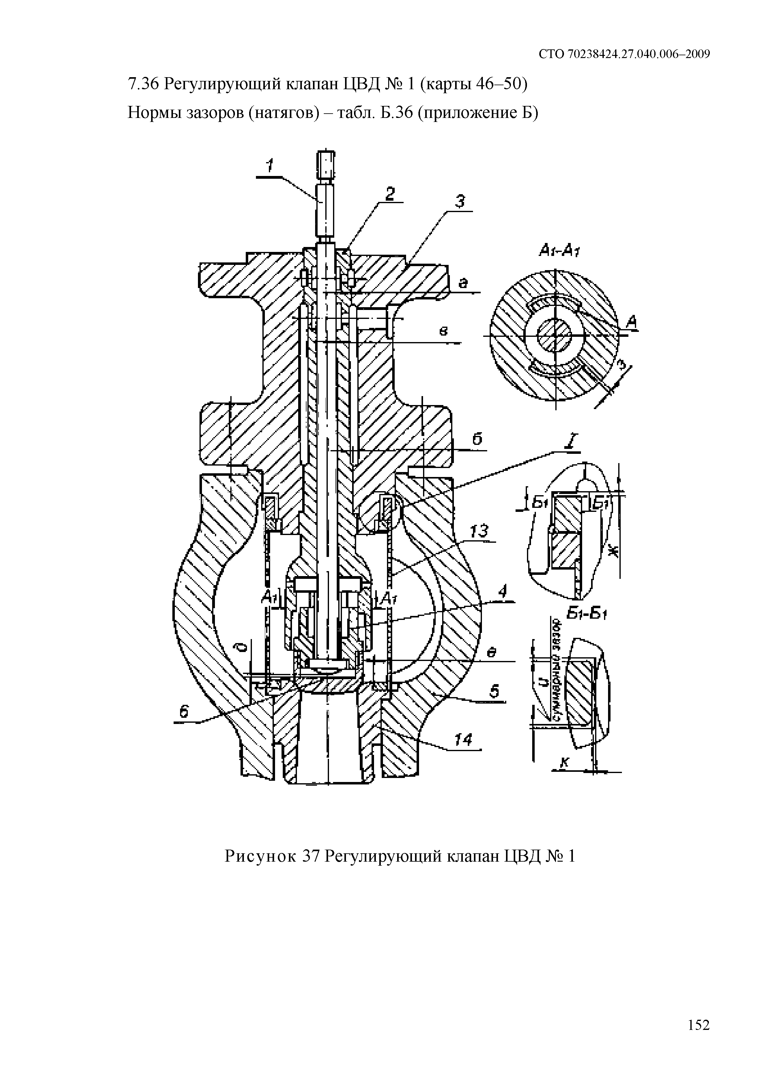
Турбина паровая К-200-130 ЛМЗ. Технические условия на капитальный ремонт. Нормы и требованияОбозначение: | СТО 70238424.27.040.006-2009 | Обозначение англ: | STO 70238424.27.040.006-2009 | Статус: | проект | Название рус.: | Турбина паровая К-200-130 ЛМЗ. Технические условия на капитальный ремонт. Нормы и требования | Дата добавления в базу: | 01.10.2014 | Дата актуализации: | 05.05.2017 | Область применения: | Cтандарт распространяется на капитальный ремонт турбин паровых К-200-130 ЛМЗ и предназначен для применения генерирующими компаниями, эксплуатирующими организациями на тепловых электростанциях, ремонтными и иными организациями, осуществляющими ремонтное обслуживание оборудования электростанций. | Оглавление: | 1 Область применения 2 Нормативные ссылки 3 Термины, определения, обозначения и сокращения 4 Общие положения 5 Общие технические сведения 6 Общие технические требования 7 Требования к составным частям 7.1 Корпусные части цилиндра ВД (карты 1, 3 - 5, 7 - 9, 12) 7.2 Корпусные части цилиндра СД (карты 1, 3 - 5, 7 - 9, 12) 7.3 Корпусные части цилиндра НД (карты 1, 3 - 5, 7 - 9, 12) 7.4 Ротор ВД (карта 13) 7.5 Ротор СД (карта 13) 7.6 Ротор НД (карта 13) 7.7 Передний подшипник (карты 14, 15, 20, 21, 23) 7.8 Средний подшипник (карты 14, 16 - 23) 7.9 Валоповоротное устройство (карта 24) 7.10 Цилиндр ВД (карта 25) 7.11 Цилиндр СД (карта 25) 7.12 Цилиндр НД (карта 25) 7.13 Центробежный масляный насос (карты 26, 27) 7.14 Муфта "Насос-РВД" (карта 28) 7.15 Регулятор скорости РС-3000-4 (карта 29) 7.16 Привод к тахометру (карта 30) 7.17 Блок золотников регулятора скорости (карты 31 - 36) 7.18 Блок золотников регулятора скорости (карты 31- 36) 7.19 Промежуточный золотник (карты 31 - 36) 7.20 Дифференциатор, черт. Б-1137746 (карты 31 - 36) 7.21 Дифференциатор черт. 1221477, (карты 31 - 36) 7.22 Электрогидравлический преобразователь (карты 31- 36) 7.23 Золотники регулятора безопасности черт. 1138319 (карты 31 - 36). 7.24 Золотники регулятора безопасности черт. А-1144030 (карты 31 - 36) 7.25 Регулятор безопасности (карты 37, 38) 7.26 Рычаги и указатели срабатывания регулятора безопасности (карта 39) 7.27 Электромагнитный выключатель (карта 40) 7.28 Сервомотор автоматического затвора свежего пара (карты 41 - 43) 7.29 Сервомотор автоматического затвора ЦСД (карты 41 - 43) 7.30 Сервомотор клапанов ЦВД и ЦСД (карты 41 - 43) 7.31 Кулачково-распределительное устройство ЦВД (карта 44). Кулачково-распределительное устройство ЦСД 7.32 Колонки и рычаги клапанов (карта 45) 7.33 Клапан автоматического затвора ЦВд (карты 46 - 50) 7.34 Клапан защитный ЦСД (карты 46 - 50) 7.35 Клапан автоматического затвора ЦСД (карты 46 - 50) 7.36 Регулирующий клапан ЦВД1 (карты 46 - 50) 7.37 Регулирующий клапан ЦВД2 (карты 46 - 50) 7.38 Регулирующие клапана ЦВД3, 4 (карты 46 - 50) 7.39 Регулирующий клапан ЦСД верхний (карты 46 - 50) 7.40 Регулирующий клапан ЦСД боковой (карты 46 - 50) 8 Требования к сборке и к отремонтированному изделию 9 Испытания и показатели качества отремонтированной турбины 10 Требования к обеспечению безопасности 11 Оценка соответствия Приложение А (обязательное). Допускаемые замены материалов Приложение Б (обязательное). Нормы зазоров (натягов) Приложение В (рекомендуемое). Перечень средств измерения Приложение Г (обязательное). Замена бандажей без разлопачивания ступени турбины Приложение Д (обязательное). «О допустимости увеличения отверстий под болты в соединительных муфтах турбоагрегатов при ремонтах валопроводов» Приложение Ж (обязательное) .Наладка дистанционного управления турбин типа К-50-90, К-100-90, ПТ-60-90/130, Р-50-130 и К-200-130 Приложение И (обязательное). Ремонт и замена регулятора скорости на электростанциях Приложение К (обязательное). Устранение ослабления посадки седел стопорных и регулирующих клапанов п/турбин высокого давления Библиография | Разработан: | ОАО Энергетический институт им. Г.М. Кржижановского (ОАО ЭНИН ) ЗАО ЦКБ Энергоремонт
| Утверждён: | НП ИНВЭЛ
| Расположен в: |
| Нормативные ссылки: | |
                                                                                                                                                                                                                                                                                                                                   
|