| ||||||||||||||||||||||||||||||||
Скачать ВСП 22-02-07 МО РФ Нормы по проектированию, устройству и эксплуатации молниезащиты объектов военной инфраструктурыДата актуализации: 10.08.2017
|
| Обозначение: | ВСП 22-02-07 МО РФ |
| Обозначение англ: | VSP 22-02-07 МО РФ |
| Статус: | действует |
| Название рус.: | Нормы по проектированию, устройству и эксплуатации молниезащиты объектов военной инфраструктуры |
| Дата добавления в базу: | 01.09.2013 |
| Дата актуализации: | 05.05.2017 |
| Дата введения: | 07.09.2007 |
| Область применения: | Нормы содержат требования по защите от прямых ударов молнии и ее вторичных проявлений, а также методы реализации этой защиты на объектах военной инфраструктуры и распространяются на вновь строящиеся, реконструируемые и расширяемые объекты военной инфраструктуры. |
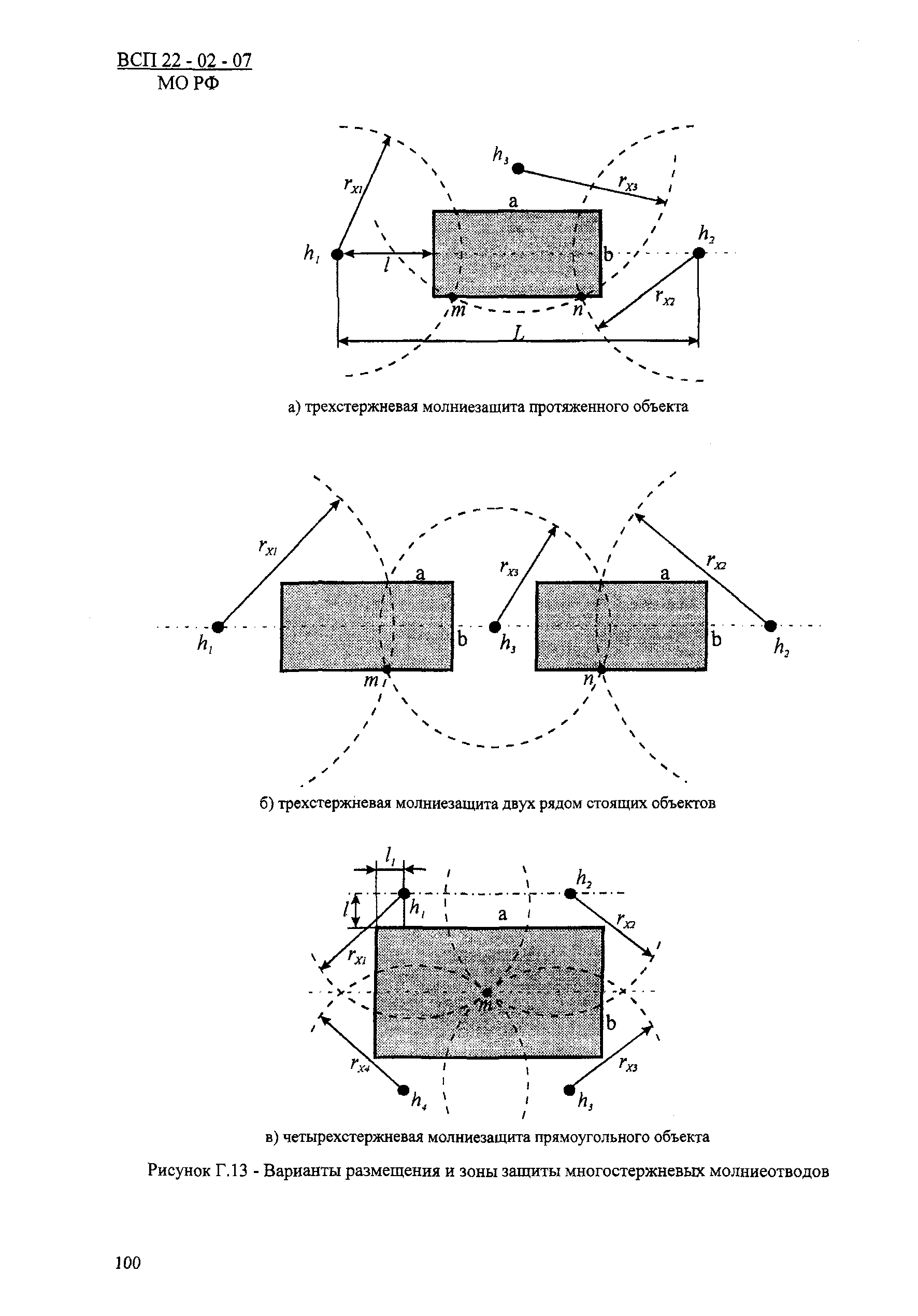
| Оглавление: | 1. Общие положения 1.1 область применения 1.2 Нормативные ссылки 1.3 Термины, определения и сокращения 1.4 Классификация объектов военной инфраструктуры МО РФ по категориям молниезащиты 1.5 Параметры разрядов молнии 1.6 Выбор эффективности внешней молниезащитной системы для объекта заданной категории 2. Защита объектов военной инфраструктуры от прямого удара молнии 2.1 Требования к защите объектов военной инфраструктуры от прямого удара молнии 2.2 Выбор внешней молниезащитной системы 2.3 Отдельно стоящие молниеотводы 2.4 Молниезащита зданий (сооружений) высотой до 60 м 2.5 Защита от разрядов молнии специальных фортификационных сооружений 2.6 Молниезащита объектов арсенала, баз и складов ракет и боеприпасов 3. Требования к конструктивному выполнению внешней молниезащитной системы 4. Защита объектов военной инфраструктуры от вторичных проявлений разрядов молнии 4.1 Общие положения 4.2 Зонирование и электромагнитное экранирование 4.3 Система уравнивания потенциалов 4.4 Заземление 5. Защита вводимых в сооружениях инженерных коммуникаций и подключенных к ним технических средств 6. Порядок разработки документации и приемки в эксплуатацию молниезащитной системы 6.1 Объем и содержание технической и эксплуатационной документации 6.2 Порядок приемки в эксплуатацию устройств молниезащиты 7. Контроль состояния молниезащитной системы 7.1 Эксплуатация молниезащитной системы объектов 7.2 Организация контроля состояния молниезащитной системы Приложение А (справочное). Молния и ее воздействие на поражаемые объекты Приложение Б (рекомендуемое). Параметры разрядов молнии Приложение В (рекомендуемое). Грозопоражаемость зданий и сооружений и интенсивность грозовой деятельности Приложение Г (справочное). Типовые решения по защите от прямых ударов молнии зданий и сооружений Приложение Д.1 (справочное). Конструкции заземлителей молниеотводов и их сопротивление заземления Приложение Д.2 (рекомендуемое). Контроль системы заземления молниезащиты Приложение Д.3 (обязательное). Эксплуатационно-техническая документация системы молниезащиты Приложение Д.4 (обязательное). Предупреждающие плакаты молниезащитной системы Приложение Е (справочное). Пример расчета молниезащитной системы хранилища боеприпасов Библиография |
| Разработан: | Военный инженерно-технический университет Научно-исследовательский Центр 26 ЦНИИ МО РФ Научно-производственное предприятие Эра Войсковая часть 74889 |
| Утверждён: | 07.09.2007 Министерство обороны РФ (Russian Federation Ministry of Defense ) |
| Расположен в: | |
| Заменяет собой: |
|
| Нормативные ссылки: |
|














































































































































































