Информационная система
«Ёшкин Кот»

Скачать базу одним архивом
Скачать обновления
История создания базы
Карта сайта

Скачать РД 31.21.95-87 Средства многооборотные для крепления грузов на морских судах. Инструкция по техническому освидетельствованию

Дата актуализации: 10.08.2017

РД 31.21.95-87

Средства многооборотные для крепления грузов на морских судах. Инструкция по техническому освидетельствованию

Обозначение: РД 31.21.95-87
Обозначение англ: RD 31.21.95-87
Статус:действует
Название рус.:Средства многооборотные для крепления грузов на морских судах. Инструкция по техническому освидетельствованию
Дата добавления в базу:01.09.2013
Дата актуализации:05.05.2017
Дата введения:01.07.1988
Область применения:Требования документа распространяются на многооборотные средства крепления грузов (МСК), находящиеся в эксплуатации на специализированных и универсальных судах и входящие в судовой комплект средств крепления.
Оглавление:1. Термины и определения
2. Общие положения
3. Объем освидетельствования
4. Состав и методика освидетельствования
   4.1 Периодические осмотры
   4.2 Периодические освидетельствование
   4.3 Нормы износов
   4.4 Механические испытания
   4.5 Маркировка
5. Оформление результатов освидетельствований
6. Требования безопасности
Приложение 1 (обязательное). Свидетельство об испытании и освидетельствовании многооборотных средств крепления грузов
Приложение 2 (справочное). Многооборотные средства крепления грузов, выпускаемые некоторыми зарубежными фирмами
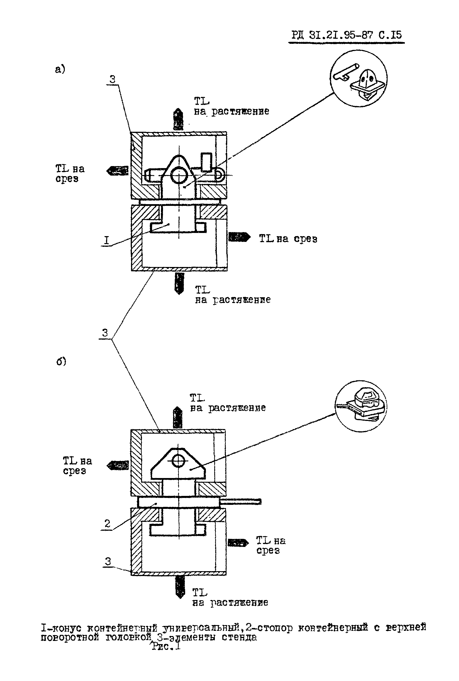
Приложение 3 (справочное). Стенды для испытания многооборотных средств крепления
Разработан: ЦНИИМФ
Утверждён:29.10.1987 Министерство морского флота СССР (USSR Ministry of the Merchant Marine 184)
Принят: Главфлот Минморфлота СССР (Glavflot, USSR Minmorflot )
В/О Мортехсудоремпром
Главное управление Регистра СССР
Расположен в:Техническая документация Строительство Нормативные документы Отраслевые и ведомственные нормативно-методические документы Проектирование и строительство морских сооружений
Нормативные ссылки:
РД 31.21.95-87РД 31.21.95-87РД 31.21.95-87РД 31.21.95-87РД 31.21.95-87РД 31.21.95-87РД 31.21.95-87РД 31.21.95-87РД 31.21.95-87РД 31.21.95-87РД 31.21.95-87РД 31.21.95-87РД 31.21.95-87РД 31.21.95-87РД 31.21.95-87РД 31.21.95-87РД 31.21.95-87РД 31.21.95-87РД 31.21.95-87РД 31.21.95-87РД 31.21.95-87РД 31.21.95-87РД 31.21.95-87РД 31.21.95-87РД 31.21.95-87РД 31.21.95-87РД 31.21.95-87РД 31.21.95-87РД 31.21.95-87РД 31.21.95-87РД 31.21.95-87РД 31.21.95-87РД 31.21.95-87РД 31.21.95-87РД 31.21.95-87РД 31.21.95-87РД 31.21.95-87РД 31.21.95-87РД 31.21.95-87РД 31.21.95-87

© 2013 Ёшкин Кот :-) Карта сайта