Информационная система
«Ёшкин Кот»

Скачать базу одним архивом
Скачать обновления
История создания базы
Карта сайта

Скачать Серия 1.431-2 Выпуск 2. Стальные фахверковые колонны и элементы крепления перегородок. Рабочие чертежи (марки КМД)

Дата актуализации: 10.08.2017

Серия 1.431-2

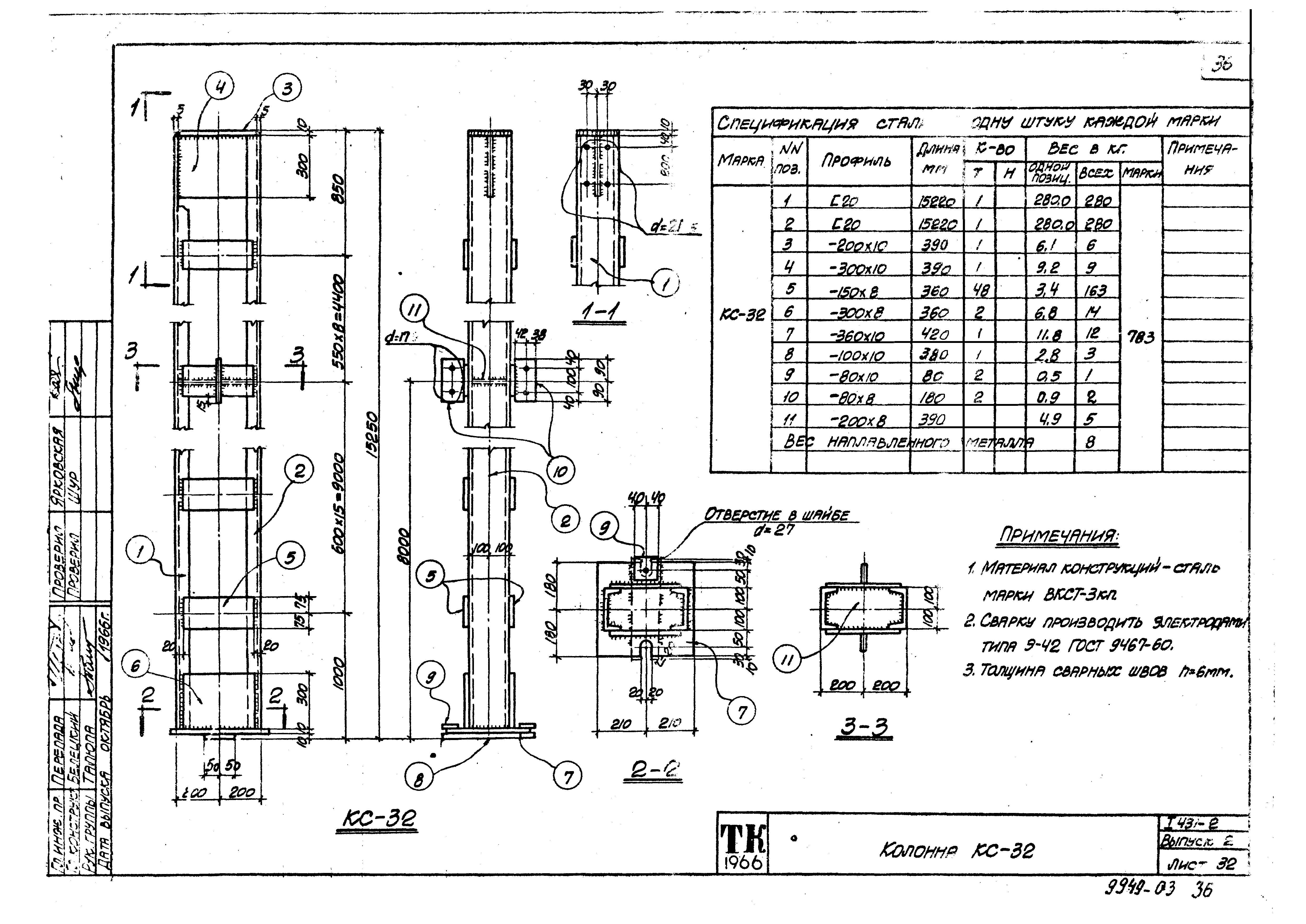
Выпуск 2. Стальные фахверковые колонны и элементы крепления перегородок. Рабочие чертежи (марки КМД)

Обозначение: Серия 1.431-2
Обозначение англ: Series 1.431-2
Статус:заменен
Название рус.:Выпуск 2. Стальные фахверковые колонны и элементы крепления перегородок. Рабочие чертежи (марки КМД)
Дата добавления в базу:01.09.2013
Дата актуализации:05.05.2017
Дата введения:01.03.1979
Область применения:В настоящем выпуске даны рабочие чертежи стальных фахверковых колонн и элементов крепления поперечных и продольных перегородок одноэтажных промышленных зданий
Разработан: ЦНИИСК им. В.А. Кучеренко
ЦНИИпромзданий
Харьковский Промстройниипроект
НИИЖБ
Утверждён:26.09.1968 Госстрой СССР (Государственный комитет Совета Министров СССР по делам строительства) (USSR Gosstroy 86)
Расположен в:Техническая документация Строительство Справочные документы Типовые строительные конструкции, изделия и узлы Общероссийский строительный каталог Строительные конструкции, изделия и узлы зданий и сооружений для всех видов строительства Конструкции, изделия и узлы зданий Ограждающие конструкции Перегородки
Чем заменён:
Нормативные ссылки:
Серия 1.431-2Серия 1.431-2Серия 1.431-2Серия 1.431-2Серия 1.431-2Серия 1.431-2Серия 1.431-2Серия 1.431-2Серия 1.431-2Серия 1.431-2Серия 1.431-2Серия 1.431-2Серия 1.431-2Серия 1.431-2Серия 1.431-2Серия 1.431-2Серия 1.431-2Серия 1.431-2Серия 1.431-2Серия 1.431-2Серия 1.431-2Серия 1.431-2Серия 1.431-2Серия 1.431-2Серия 1.431-2Серия 1.431-2Серия 1.431-2Серия 1.431-2Серия 1.431-2Серия 1.431-2Серия 1.431-2Серия 1.431-2Серия 1.431-2Серия 1.431-2Серия 1.431-2Серия 1.431-2Серия 1.431-2Серия 1.431-2Серия 1.431-2Серия 1.431-2Серия 1.431-2Серия 1.431-2Серия 1.431-2Серия 1.431-2Серия 1.431-2Серия 1.431-2Серия 1.431-2Серия 1.431-2Серия 1.431-2Серия 1.431-2Серия 1.431-2Серия 1.431-2Серия 1.431-2Серия 1.431-2Серия 1.431-2Серия 1.431-2Серия 1.431-2Серия 1.431-2Серия 1.431-2Серия 1.431-2Серия 1.431-2Серия 1.431-2Серия 1.431-2Серия 1.431-2Серия 1.431-2Серия 1.431-2Серия 1.431-2Серия 1.431-2Серия 1.431-2Серия 1.431-2Серия 1.431-2Серия 1.431-2Серия 1.431-2Серия 1.431-2Серия 1.431-2Серия 1.431-2Серия 1.431-2Серия 1.431-2Серия 1.431-2Серия 1.431-2

© 2013 Ёшкин Кот :-) Карта сайта