Информационная система
«Ёшкин Кот»

Скачать базу одним архивом
Скачать обновления
История создания базы
Карта сайта

Скачать ОСТ 26-01-35-82 Сборочные единицы и детали трубопроводов. Штуцеры на Рр 32 МПа (320 кгс/см2). Конструкция и размеры

Дата актуализации: 10.08.2017

ОСТ 26-01-35-82

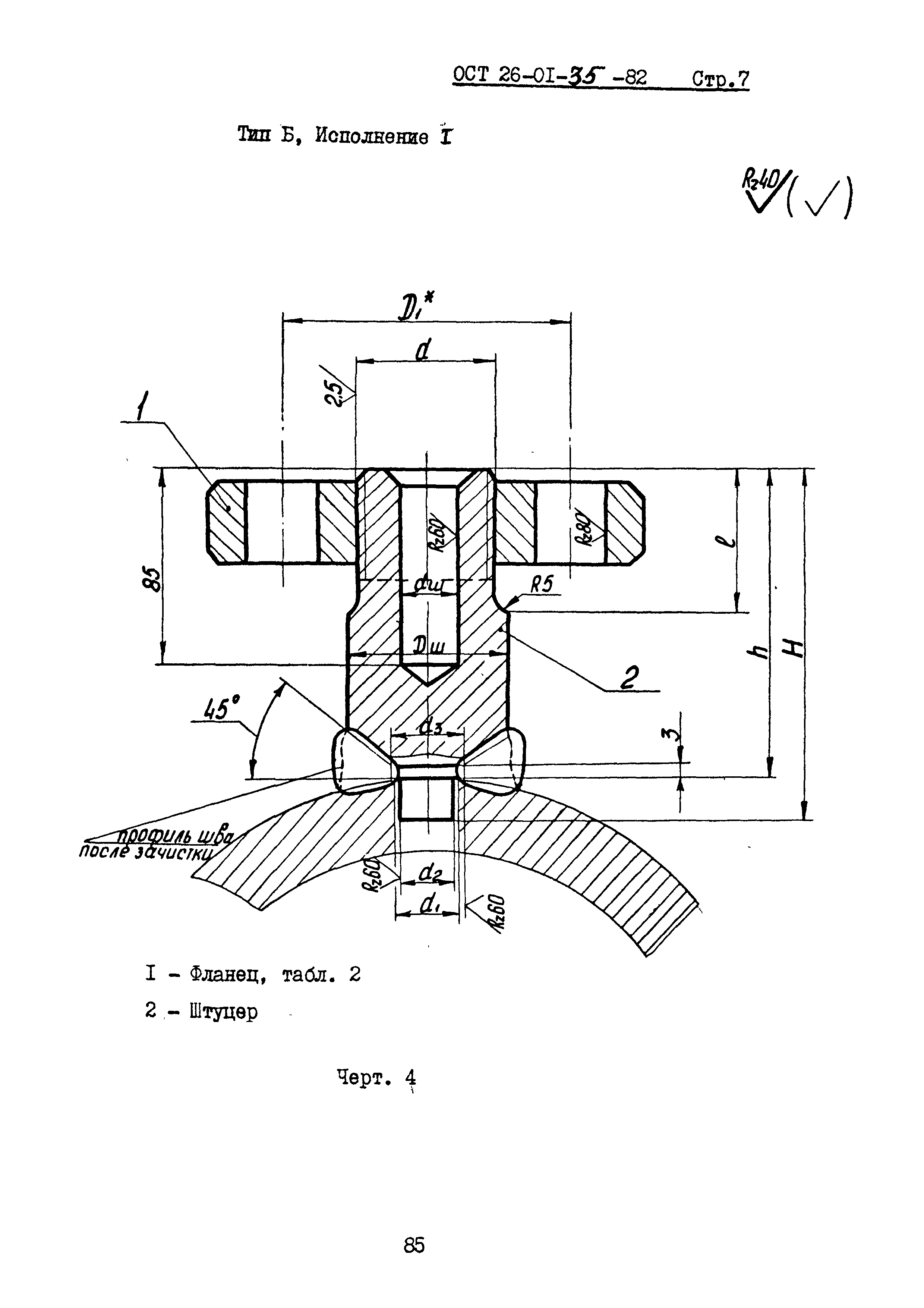
Сборочные единицы и детали трубопроводов. Штуцеры на Рр 32 МПа (320 кгс/см2). Конструкция и размеры

Обозначение: ОСТ 26-01-35-82
Обозначение англ: OST 26-01-35-82
Статус:не определен законодательством
Название рус.:Сборочные единицы и детали трубопроводов. Штуцеры на Рр 32 МПа (320 кгс/см2). Конструкция и размеры
Дата добавления в базу:01.09.2013
Дата актуализации:05.05.2017
Дата введения:30.06.2003
Область применения:Стандарт распространяется на штуцеры, применяемые в промышленности по производству минеральных удобрений в трубопроводах производства аммиака с давлением рабочей среды 32 МПа (320 кгс/см2) и температурой от минус 40 до плюс 350 градусов Цельсия, привариваемые к трубам Ду 300, 350, 400 мм по ТУ 14-3-433-75 и Ду 250 мм по ТУ 14-3-460-75.
Разработан: ИркутскНИИхиммаш
Утверждён:24.09.1982 Всесоюзное промышленное объединение (National Industry Union 128)
Расположен в:Техническая документация Строительство Стандарты Отраслевые стандарты и технические условия Отраслевые стандарты
Список изменений:
Заменяет собой:
  • ОСТ 26-01-35-76
  • ОСТ 26-01-13-76 «Детали трубопроводов на давление Ру до 320 кгс/см2 (31,4 МПа). Патрубки приварные. Конструкция и размеры»
  • ОСТ 26-01-14-76 «Детали трубопроводов на давление Ру до 320 кгс/см2 (31,4 МПа). Патрубки приварные с фланцами. Конструкция и размеры»
  • ОСТ 26-01-15-76 «Детали трубопроводов на давление Ру до 320 кгс/см2 (31,4 МПа). Кольца подкладные. Конструкция и размеры»
Нормативные ссылки:
ОСТ 26-01-35-82ОСТ 26-01-35-82ОСТ 26-01-35-82ОСТ 26-01-35-82ОСТ 26-01-35-82ОСТ 26-01-35-82ОСТ 26-01-35-82ОСТ 26-01-35-82ОСТ 26-01-35-82ОСТ 26-01-35-82ОСТ 26-01-35-82ОСТ 26-01-35-82ОСТ 26-01-35-82ОСТ 26-01-35-82ОСТ 26-01-35-82ОСТ 26-01-35-82

Текстовое изменение № 1 от 01.01.1988

№ 1

Текстовое изменение № 2 от 01.07.1993

№ 2

Текстовое изменение № 3 от 01.01.2000

№ 3

© 2013 Ёшкин Кот :-) Карта сайта