| 
 | ||||||||||||||||||||||||||||||||
| 
 Скачать П 87-2001 Рекомендации по проведению натурных наблюдений за осадками грунтовых плотинДата актуализации: 10.08.2017
 | 
| Обозначение: |    П 87-2001 | 
| Обозначение англ: |    P 87-2001 | 
| Статус: | действует | 
| Название рус.: | Рекомендации по проведению натурных наблюдений за осадками грунтовых плотин | 
| Дата добавления в базу: | 01.09.2013 | 
| Дата актуализации: | 05.05.2017 | 
| Дата введения: | 01.01.2002 | 
| Область применения: | Документ распространяется на грунтовые плотины всех классов, входящих в состав энергетических и комплексных гидроузлов и предназначен для специалистов, выполняющих натурные наблюдения за работой и состоянием грунтовых плотин, оснований, откосов береговых примыканий, бортов водохранилищ и дающих оценку безопасности сооружений. | 
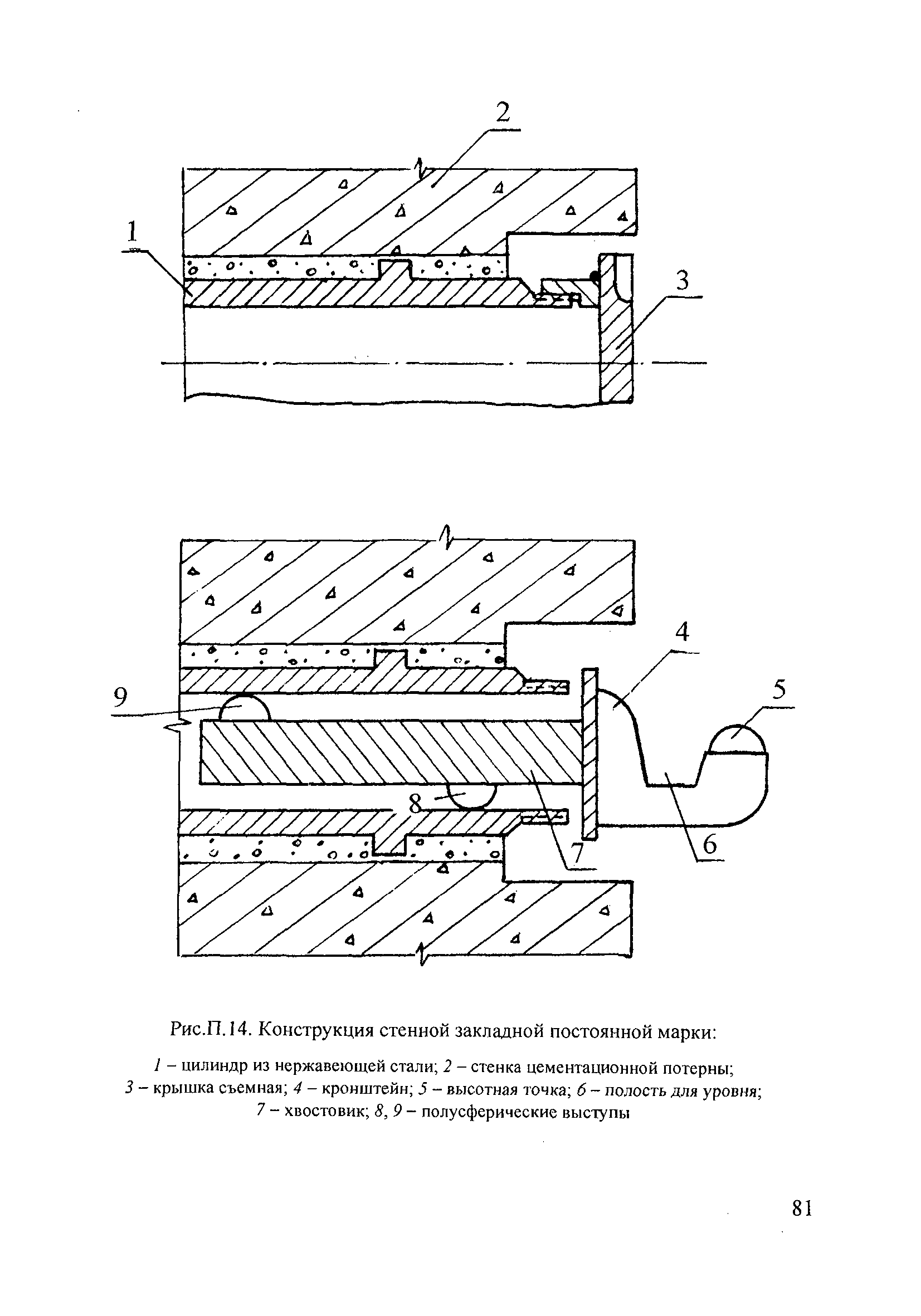
| Оглавление: | Предисловие 1. Общие положения 2. Состав и организация работ пот наблюдениям за осадками плотин и деформациями оснований 3. Аппаратура и инструменты для производства наблюдений за осадками и деформациями 4. Основные принципы размещения приборов для измерения осадок и деформаций. Техника установки 5. Методика и техника наблюдений за осадками и деформациями 6. Обработка и анализ результатов наблюдений 6.1 Первичная обработка результатов 6.2 Вторичная обработка результатов 6.3 Анализ результатов наблюдений 6.4 Установление предельно допустимых показателей (критериев) осадки грунтовой плотины 6.5 Прогнозирование конечной величины и хода осадки плотины 7. Рекомендации по ведению отчетной документации при наблюдениях за осадками Приложение. Основные сведения об аппаратуре и инструментах Список использованной литературы | 
| Разработан: | ОАО ВНИИГ им. Веденеева | 
| Утверждён: | 03.07.1998 РАО ЕЭС России (UES of Russia RAO 02-1-03-4/620) | 
| Издан: | ОАО ВНИИГ им. Б.Е.Веденеева (2001 г. ) | 
| Расположен в: | |
| Нормативные ссылки: | 
 | 





























































































