| ||||||||||||||||||||||||||||||
Скачать СН 460-74 Раздел 9. Тепловые сетиДата актуализации: 10.08.2017
|
| Обозначение: | СН 460-74 |
| Обозначение англ: | SN 460-74 |
| Статус: | не действует |
| Название рус.: | Раздел 9. Тепловые сети |
| Дата добавления в базу: | 01.09.2013 |
| Дата актуализации: | 05.05.2017 |
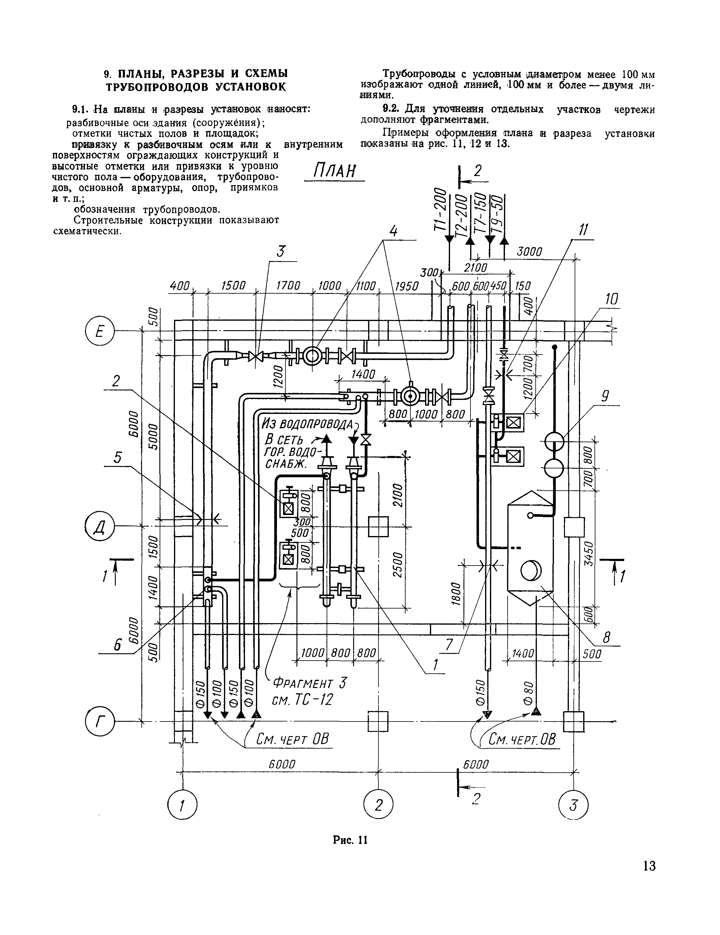
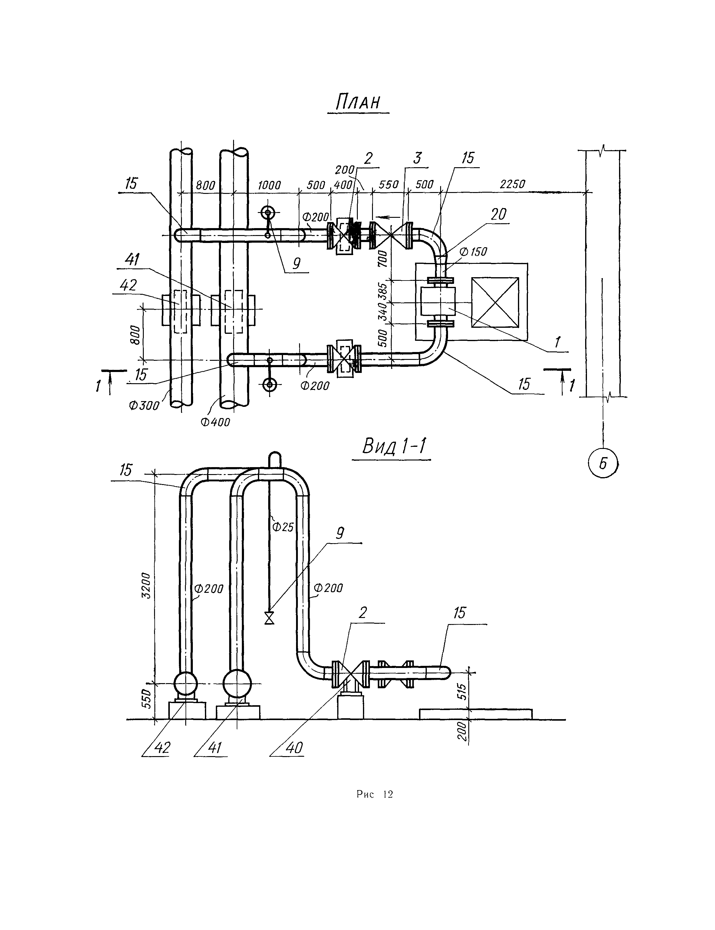
| Область применения: | Документ устанавливает состав и правила оформления рабочих чертежей тепломеханической части тепловых сетей и установок тепловых сетей в зданиях и сооружениях. Состав и оформление рабочих чертежей строительных конструкций тепловых сетей принимают по правилам соответствующих разделов Инструкции. |
| Оглавление: | 1. Область применения 2. Состав основных комплектов рабочих чертежей и общие правила их оформления 3. Общие данные (заглавный лист) 4. План тепловых сетей 5. Схемы трубопроводов тепловых сетей 6. Поперечные разрезы тепловых сетей 7. Продольные профили тепловых сетей 8. Узлы ответвлений трубопроводов и установки компенсаторов 9. Планы, разрезы и схемы трубопроводов установок 10. Чертежи общих видов нетиповых конструкций и нестандартизированного оборудования |
| Разработан: | Промстройпроект Госстроя СССР |
| Утверждён: | 28.06.1976 Госстрой СССР (Государственный комитет Совета Министров СССР по делам строительства) (USSR Gosstroy 97) |
| Издан: | Стройиздат (1977 г. ) |
| Расположен в: | |
| Чем заменён: |
|


















