Информационная система
«Ёшкин Кот»

Скачать базу одним архивом
Скачать обновления
История создания базы
Карта сайта

Скачать Типовой проект 902-2-379.83 Альбом VIII. Нестандартизированное оборудование. Токоприемник кольцевой (из ТП 902-2-346)

Дата актуализации: 10.08.2017

Типовой проект 902-2-379.83

Альбом VIII. Нестандартизированное оборудование. Токоприемник кольцевой (из ТП 902-2-346)

Обозначение: Типовой проект 902-2-379.83
Обозначение англ: 902-2-379.83
Статус:не действует
Название рус.:Альбом VIII. Нестандартизированное оборудование. Токоприемник кольцевой (из ТП 902-2-346)
Дата добавления в базу:01.09.2013
Дата актуализации:05.05.2017
Оглавление:ТП 902-2-346 Титульный лист
ТП 902-2-346 Содержание альбома
ТП 902-2-346 4И.443.00.000 ТУ Токоприемник кольцевой. Технические условия
ТП 902-2-346 4И.443.00.000 СБ Токоприемник кольцевой. Лист 1
ТП 902-2-346 4И.443.00.000 СБ Токоприемник кольцевой. Лист 2
ТП 902-2-346 4И.443.00.000 СБ Токоприемник кольцевой. Лист 3
ТП 902-2-346 4И.443.00.000 Токоприемник кольцевой. Спецификация. Лист 1-4
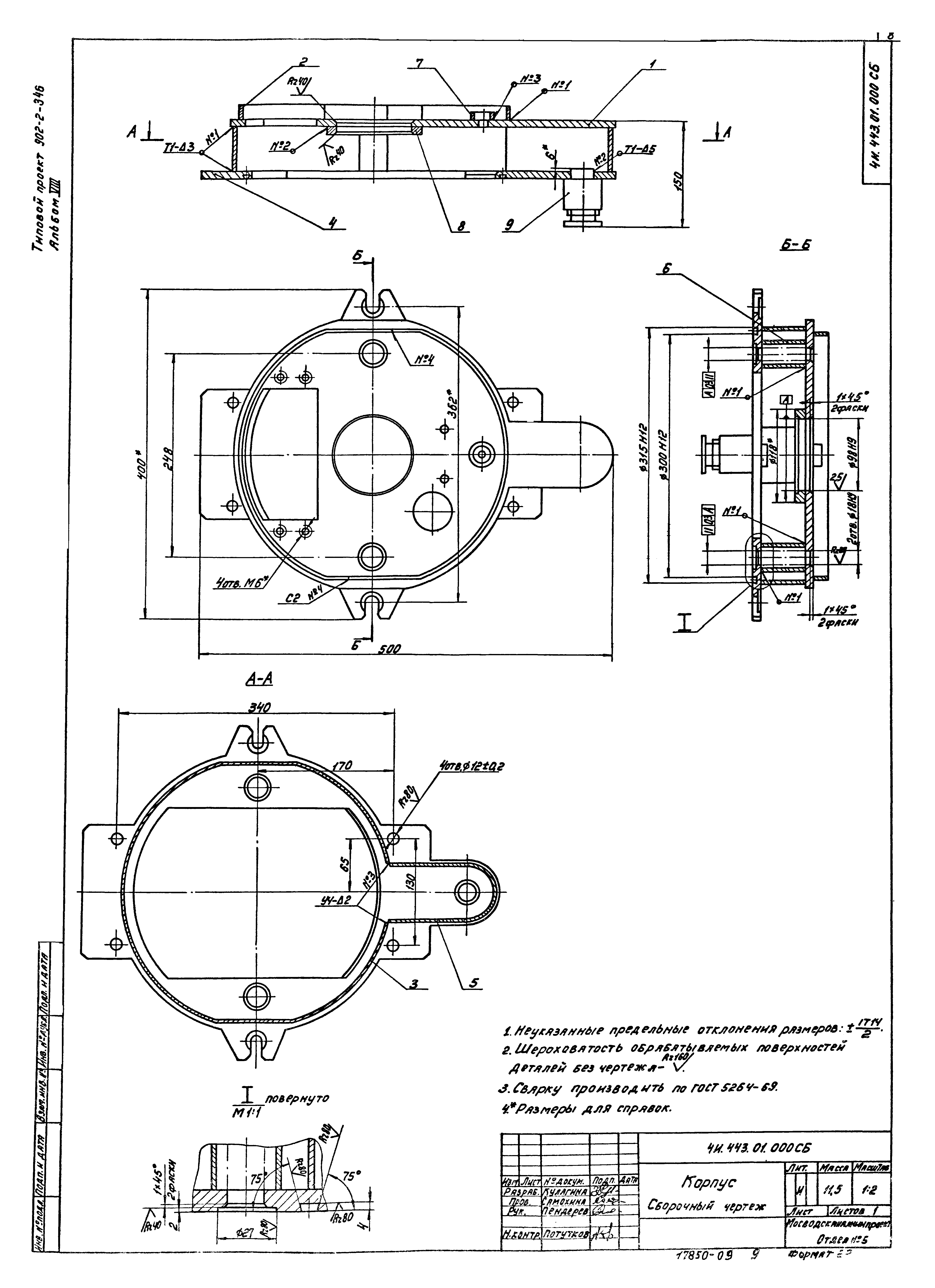
ТП 902-2-346 4И.443.01.000 СБ Корпус
ТП 902-2-346 4И.443.01.000 Корпус. Спецификация. Лист 1-2
ТП 902-2-346 4И.443.01.001 Фланец верхний
ТП 902-2-346 4И.443.01.002 Борт
ТП 902-2-346 4И.443.01.003 Стенка
ТП 902-2-346 4И.443.01.004 Фланец нижний
ТП 902-2-346 4И.443.01.005 Стенка
ТП 902-2-346 4И.443.02.000 Бак. Спецификация
ТП 902-2-346 4И.443.02.001 Днище
ТП 902-2-346 4И.443.02.002 Скоба
ТП 902-2-346 4И.443.02.000 СБ Бак
ТП 902-2-346 4И.443.02.003 Обечайка наружная
ТП 902-2-346 4И.443.02.004 Ручка
ТП 902-2-346 4И.443.02.005 Бобышка
ТП 902-2-346 4И.443.02.006 Бобышка
ТП 902-2-346 4И.443.03.000 Кронштейн с лампами. Спецификация. Лист 1-2
ТП 902-2-346 4И.443.04.000 Втулка направляющая. Спецификация
ТП 902-2-346 4И.443.03.000 СБ Кронштейн с лампами
ТП 902-2-346 4И.443.03.001 Кронштейн
ТП 902-2-346 4И.443.04.000 СБ Втулка направляющая
ТП 902-2-346 4И.443.04.001 Головка
ТП 902-2-346 4И.443.04.002 Труба
ТП 902-2-346 4И.443.05.000 Втулка изолирующая. Спецификация
ТП 902-2-346 4И.443.05.001 Кольцо
ТП 902-2-346 4И.443.05.000 СБ Втулка изолирующая
ТП 902-2-346 4И.443.06.000 СБ Кольцо токосъемное
ТП 902-2-346 4И.443.06.001 Кольцо
ТП 902-2-346 4И.443.06.003 Пластина
ТП 902-2-346 4И.443.05.002 Полоса
ТП 902-2-346 4И.443.06.000 Кольцо токосъемное. Спецификация. Лист 1-3
ТП 902-2-346 4И.443.07.000 СБ Траверса
ТП 902-2-346 4И.443.07.000 Траверса. Спецификация
ТП 902-2-346 4И.443.07.001 Пластина
ТП 902-2-346 4И.443.08.000 Щетка. Спецификация
ТП 902-2-346 4И.443.08.000 СБ Щетка
ТП 902-2-346 4И.443.08.001 Щеткодержатель
ТП 902-2-346 4И.443.08.002 Пластина
ТП 902-2-346 4И.443.08.010 Щетка. Спецификация
ТП 902-2-346 4И.443.08.010 СБ Щетка
ТП 902-2-346 4И.443.09.000 Колпак. Спецификация
ТП 902-2-346 4И.443.09.000 СБ Колпак
ТП 902-2-346 4И.443.09.001 Стенка
ТП 902-2-346 4И.443.10.000 Электропроводка. Спецификация
ТП 902-2-346 4И.443.10.000 СБ Электропроводка
ТП 902-2-346 4И.443.10.010 Провод. Спецификация
ТП 902-2-346 4И.443.10.010 СБ Провод
ТП 902-2-346 4И.443.10.011 Наконечник
ТП 902-2-346 4И.443.10.020 Провод. Спецификация
ТП 902-2-346 4И.443.10.020 СБ Провод
ТП 902-2-346 4И.443.00.001 Рамка
ТП 902-2-346 4И.443.00.002 Ось
ТП 902-2-346 4И.443.00.003 Кольцо дистанционное
ТП 902-2-346 4И.443.00.004 Валик
ТП 902-2-346 4И.443.00.005 Кольцо
ТП 902-2-346 4И.443.00.006 Гайка
ТП 902-2-346 4И.443.00.007 Кронштейн
ТП 902-2-346 4И.443.00.008 Шайба
ТП 902-2-346 4И.443.00.009 Кольцо
ТП 902-2-346 4И.443.00.011 Панель
ТП 902-2-346 4И.443.00.012 Кольцо изолирующее
ТП 902-2-346 4И.443.00.013 Винт контактный
ТП 902-2-346 4И.443.00.014 Винт
ТП 902-2-346 4И.443.00.015 Пружина
ТП 902-2-346 4И.443.00.016 Кольцо
ТП 902-2-346 4И.443.00.017 Болт откидной
ТП 902-2-346 4И.443.00.018 Кольцо установочное
ТП 902-2-346 4И.443.00.019 Гайка
ТП 902-2-346 4И.443.00.021 Палец
ТП 902-2-346 4И.443.00.022 Пробка
Разработан: МосводоканалНИИпроект
Утверждён:10.08.1983 МосводоканалНИИпроект (193)
Расположен в:Техническая документация Строительство Справочные документы Типовые строительные конструкции, изделия и узлы Общероссийский строительный каталог Промышленные предприятия, здания и сооружения Здания и сооружения санитарно-технические Канализация Сооружения механической очистки Отстойники Отстойники радиальные первичные
Типовой проект 902-2-379.83Типовой проект 902-2-379.83Типовой проект 902-2-379.83Типовой проект 902-2-379.83Типовой проект 902-2-379.83Типовой проект 902-2-379.83Типовой проект 902-2-379.83Типовой проект 902-2-379.83Типовой проект 902-2-379.83Типовой проект 902-2-379.83Типовой проект 902-2-379.83Типовой проект 902-2-379.83Типовой проект 902-2-379.83Типовой проект 902-2-379.83Типовой проект 902-2-379.83Типовой проект 902-2-379.83Типовой проект 902-2-379.83Типовой проект 902-2-379.83Типовой проект 902-2-379.83Типовой проект 902-2-379.83Типовой проект 902-2-379.83Типовой проект 902-2-379.83Типовой проект 902-2-379.83Типовой проект 902-2-379.83Типовой проект 902-2-379.83Типовой проект 902-2-379.83Типовой проект 902-2-379.83Типовой проект 902-2-379.83Типовой проект 902-2-379.83Типовой проект 902-2-379.83Типовой проект 902-2-379.83

© 2013 Ёшкин Кот :-) Карта сайта