| ||||||||||||||||||||||||||||||||||
Скачать ГОСТ Р 53798-2010 Стандартное руководство по лабораторным информационным менеджмент-системам (ЛИМС)Дата актуализации: 10.08.2017
|
| Обозначение: | ГОСТ Р 53798-2010 |
| Обозначение англ: | GOST R 53798-2010 |
| Статус: | действует |
| Название рус.: | Стандартное руководство по лабораторным информационным менеджмент-системам (ЛИМС) |
| Название англ.: | Standard guide for laboratory information management systems (LIMS) |
| Дата добавления в базу: | 01.09.2013 |
| Дата актуализации: | 05.05.2017 |
| Дата введения: | 01.10.2010 |
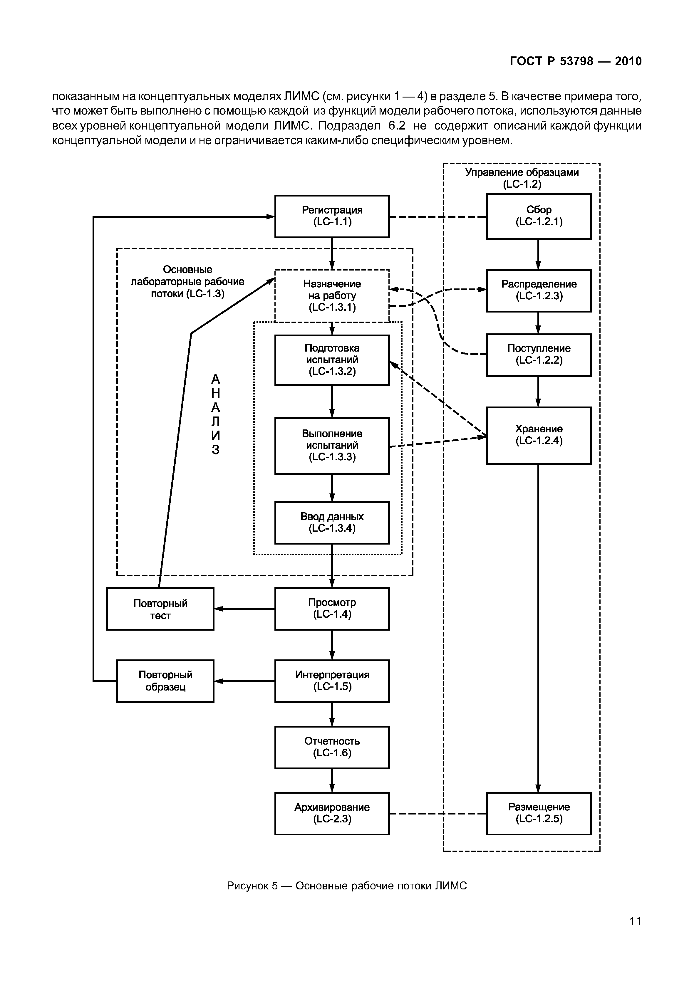
| Область применения: | В стандарте рассматриваются проблемы, возникающие, как правило, на всех стадиях жизненного цикла лабораторных информационных менеджмент-систем (ЛИМС) от начала их эксплуатации и до изъятия из эксплуатации. Подразделы стандарта также содержат детальное описание возможностей ЛИМС при применении в конкретных областях промышленности и хозяйственной деятельности. |
| Оглавление: | 1 Область применения 2 Нормативные ссылки 3 Термины и определения 4 Назначение и применение 5 Концептуальная модель ЛИМС - графическое изображение функциональностей 6 Рабочий поток ЛИМС и жизненный цикл образца 7 Инфраструктура, интеграция и интерфейсы ЛИМС 8 Жизненный цикл системы ЛИМС Приложение Х1 (рекомендуемое) Контрольный список требований к функциональным возможностям ЛИМС Приложение ДА (обязательное) Внесенные модификации Приложение ДБ (справочное) Обозначения и сокращения |
| Разработан: | НУ НИЦ стандартизации, информации и сертификации сырья, материалов и веществ |
| Утверждён: | 24.06.2010 Федеральное агентство по техническому регулированию и метрологии (116-ст) |
| Издан: | Стандартинформ (2010 г. ) |
| Расположен в: | |
| Нормативные ссылки: |
|











































































