Информационная система
«Ёшкин Кот»

Скачать базу одним архивом
Скачать обновления
История создания базы
Карта сайта

Скачать ОСТ 108.004.108-80 Соединения сварные и наплавки оборудования атомных электростанций. Методы ультразвукового контроля

Дата актуализации: 10.08.2017

ОСТ 108.004.108-80

Соединения сварные и наплавки оборудования атомных электростанций. Методы ультразвукового контроля

Обозначение: ОСТ 108.004.108-80
Обозначение англ: OST 108.004.108-80
Статус:не определен законодательством
Название рус.:Соединения сварные и наплавки оборудования атомных электростанций. Методы ультразвукового контроля
Дата добавления в базу:01.09.2013
Дата актуализации:05.05.2017
Дата введения:01.01.1981
Область применения:Стандарт распространяется на выполняемый в условиях изготовления, монтажа, эксплуатации и ремонта трубопроводов, сосудов, металлоконструкций и оборудования ультразвуковой контроль.
Оглавление:1. Общие положения
2. Организация работ по контролю
3. Квалификация ИТР и дефектоскопистов
4. Дефектоскопы, искатели, образцы
5. Подготовка к контролю
6. Настройка дефектоскопа
   6.1 Глубиномер
   6.2 Скорость развертки
   6.3 Чувствительность
7. Проведение контроля
   7.1 Порядок контроля
   7.2 Сканирование
   7.3 Измерение характеристик дефектов
8. Методика контроля сварных соединений трубопроводов
   8.1 Общие требования
   8.2 Стыковые соединения без подкладных колец
   8.3 Стыковые соединения трубопроводов с антикоррозионной наплавкой
   8.4 Стыковые соединения с подкладными кольцами
   8.5 Угловые соединения
9. Методика контроля сварных соединений сосудов
10. Методика контроля сварных соединений листовых конструкций
11. Методика контроля сварных соединений на поперечные дефекты
12. Методика контроля наплавки на кромках сварных соединений и антикоррозионной наплавки
13. Оценка качества сварных соединений и наплавки
14. Оформление результатов контроля
15. Требования безопасности
   Приложение 1. Указания по аттестации испытательных образцов
   Приложение 2. Контактные смазки для ультразвукового контроля
   Приложение 3. Методика настройки чувствительности дефектоскопа
   Приложение 4. Методика настройки блока временной регулировки чувствительности (ВРЧ) дефектоскопа
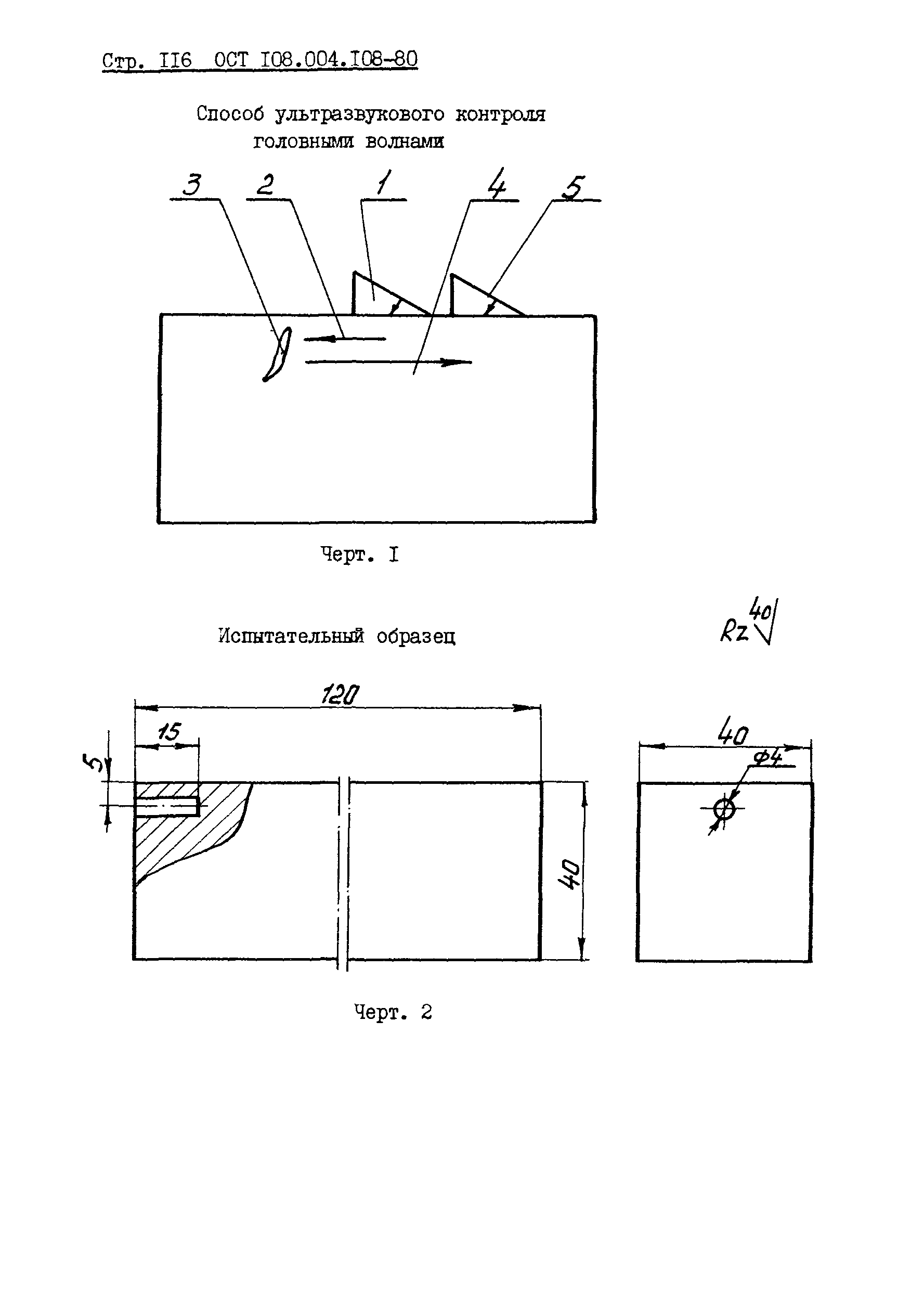
   Приложение 5. Методика контроля подповерхностной части сварных соединений головными волнами
   Приложение 6. Методика распознания типа дефектов
   Приложение 7. Методика контроля по схеме "тандем"
   Приложение 8. Методика контроля антикоррозионной наплавки головными волнами
   Приложение 9. Формы отчетно-сдаточной документации по контролю
   Приложение 10. Условные обозначения и порядок записи обнаруженных дефектов
   Приложение 11. Методика измерения коэффициента затухания ультразвука
   Приложение 12. Счетная линейка для определения разности между первым браковочным и опорным уровнями
   Приложение 13. Примеры проведения и записи результатов контроля
   Приложение 14. Перечень документов, на которые даны ссылки в тексте стандарта
Разработан: ПО Красный котельщик
НПО ЦНИИТМАШ
ВТИ им. Ф.Э. Дзержинского
ПТИ Энергомонтажпроект
Белгородский завод энергетического машиностроения
ПО Ижорский завод
Атоммаш
Барнаульский котельный завод
Утверждён:22.07.1980 Министерство энергетического машиностроения (Ministry of Energy Machinery Manufacturing ЮК-002/5882)
02.10.1980 Министерство энергетики и электрификации СССР (USSR Ministry of Energy and Electrical Power 341)
Принят: ВПО Союзатомэнерго Минэнерго СССР
Расположен в:Техническая документация Экология ЭНЕРГЕТИКА И ТЕПЛОТЕХНИКА Атомная энергетика Атомная энергетика, прочие аспекты Строительство Стандарты Отраслевые стандарты и технические условия Отраслевые стандарты
Список изменений:
Нормативные ссылки:
ОСТ 108.004.108-80ОСТ 108.004.108-80ОСТ 108.004.108-80ОСТ 108.004.108-80ОСТ 108.004.108-80ОСТ 108.004.108-80ОСТ 108.004.108-80ОСТ 108.004.108-80ОСТ 108.004.108-80ОСТ 108.004.108-80ОСТ 108.004.108-80ОСТ 108.004.108-80ОСТ 108.004.108-80ОСТ 108.004.108-80ОСТ 108.004.108-80ОСТ 108.004.108-80ОСТ 108.004.108-80ОСТ 108.004.108-80ОСТ 108.004.108-80ОСТ 108.004.108-80ОСТ 108.004.108-80ОСТ 108.004.108-80ОСТ 108.004.108-80ОСТ 108.004.108-80ОСТ 108.004.108-80ОСТ 108.004.108-80ОСТ 108.004.108-80ОСТ 108.004.108-80ОСТ 108.004.108-80ОСТ 108.004.108-80ОСТ 108.004.108-80ОСТ 108.004.108-80ОСТ 108.004.108-80ОСТ 108.004.108-80ОСТ 108.004.108-80ОСТ 108.004.108-80ОСТ 108.004.108-80ОСТ 108.004.108-80ОСТ 108.004.108-80ОСТ 108.004.108-80ОСТ 108.004.108-80ОСТ 108.004.108-80ОСТ 108.004.108-80ОСТ 108.004.108-80ОСТ 108.004.108-80ОСТ 108.004.108-80ОСТ 108.004.108-80ОСТ 108.004.108-80ОСТ 108.004.108-80ОСТ 108.004.108-80ОСТ 108.004.108-80ОСТ 108.004.108-80ОСТ 108.004.108-80ОСТ 108.004.108-80ОСТ 108.004.108-80ОСТ 108.004.108-80ОСТ 108.004.108-80ОСТ 108.004.108-80ОСТ 108.004.108-80ОСТ 108.004.108-80ОСТ 108.004.108-80ОСТ 108.004.108-80ОСТ 108.004.108-80ОСТ 108.004.108-80ОСТ 108.004.108-80ОСТ 108.004.108-80ОСТ 108.004.108-80ОСТ 108.004.108-80ОСТ 108.004.108-80ОСТ 108.004.108-80ОСТ 108.004.108-80ОСТ 108.004.108-80ОСТ 108.004.108-80ОСТ 108.004.108-80ОСТ 108.004.108-80ОСТ 108.004.108-80ОСТ 108.004.108-80ОСТ 108.004.108-80ОСТ 108.004.108-80ОСТ 108.004.108-80ОСТ 108.004.108-80ОСТ 108.004.108-80ОСТ 108.004.108-80ОСТ 108.004.108-80ОСТ 108.004.108-80ОСТ 108.004.108-80ОСТ 108.004.108-80ОСТ 108.004.108-80ОСТ 108.004.108-80ОСТ 108.004.108-80ОСТ 108.004.108-80ОСТ 108.004.108-80ОСТ 108.004.108-80ОСТ 108.004.108-80ОСТ 108.004.108-80ОСТ 108.004.108-80ОСТ 108.004.108-80ОСТ 108.004.108-80ОСТ 108.004.108-80ОСТ 108.004.108-80ОСТ 108.004.108-80ОСТ 108.004.108-80ОСТ 108.004.108-80ОСТ 108.004.108-80ОСТ 108.004.108-80ОСТ 108.004.108-80ОСТ 108.004.108-80ОСТ 108.004.108-80ОСТ 108.004.108-80ОСТ 108.004.108-80ОСТ 108.004.108-80ОСТ 108.004.108-80ОСТ 108.004.108-80ОСТ 108.004.108-80ОСТ 108.004.108-80ОСТ 108.004.108-80ОСТ 108.004.108-80ОСТ 108.004.108-80ОСТ 108.004.108-80ОСТ 108.004.108-80ОСТ 108.004.108-80ОСТ 108.004.108-80ОСТ 108.004.108-80ОСТ 108.004.108-80ОСТ 108.004.108-80ОСТ 108.004.108-80ОСТ 108.004.108-80ОСТ 108.004.108-80ОСТ 108.004.108-80ОСТ 108.004.108-80ОСТ 108.004.108-80ОСТ 108.004.108-80ОСТ 108.004.108-80ОСТ 108.004.108-80ОСТ 108.004.108-80ОСТ 108.004.108-80ОСТ 108.004.108-80ОСТ 108.004.108-80ОСТ 108.004.108-80ОСТ 108.004.108-80ОСТ 108.004.108-80ОСТ 108.004.108-80ОСТ 108.004.108-80ОСТ 108.004.108-80ОСТ 108.004.108-80ОСТ 108.004.108-80ОСТ 108.004.108-80ОСТ 108.004.108-80ОСТ 108.004.108-80ОСТ 108.004.108-80ОСТ 108.004.108-80ОСТ 108.004.108-80ОСТ 108.004.108-80ОСТ 108.004.108-80ОСТ 108.004.108-80ОСТ 108.004.108-80ОСТ 108.004.108-80ОСТ 108.004.108-80ОСТ 108.004.108-80ОСТ 108.004.108-80ОСТ 108.004.108-80ОСТ 108.004.108-80ОСТ 108.004.108-80ОСТ 108.004.108-80ОСТ 108.004.108-80ОСТ 108.004.108-80ОСТ 108.004.108-80ОСТ 108.004.108-80ОСТ 108.004.108-80ОСТ 108.004.108-80

Текстовое изменение № 1 от 01.06.1984

№ 1№ 1№ 1№ 1№ 1№ 1№ 1

Текстовое изменение № 2 от 01.03.1987

№ 2№ 2№ 2№ 2№ 2

© 2013 Ёшкин Кот :-) Карта сайта