| ||||||||||||||||||||||||||
Скачать Серия ТДМЭ22-2 Детали сопряжений конструктивных элементов несущего каркаса для этажерок с перекрытиями типа 2 из плит, опирающихся на ригели прямоугольного сеченияДата актуализации: 10.08.2017
|
| Обозначение: | Серия ТДМЭ22-2 |
| Обозначение англ: | Series ТДМЭ22-2 |
| Статус: | не действует |
| Название рус.: | Детали сопряжений конструктивных элементов несущего каркаса для этажерок с перекрытиями типа 2 из плит, опирающихся на ригели прямоугольного сечения |
| Дата добавления в базу: | 01.09.2013 |
| Дата актуализации: | 05.05.2017 |
| Дата введения: | 01.05.1999 |
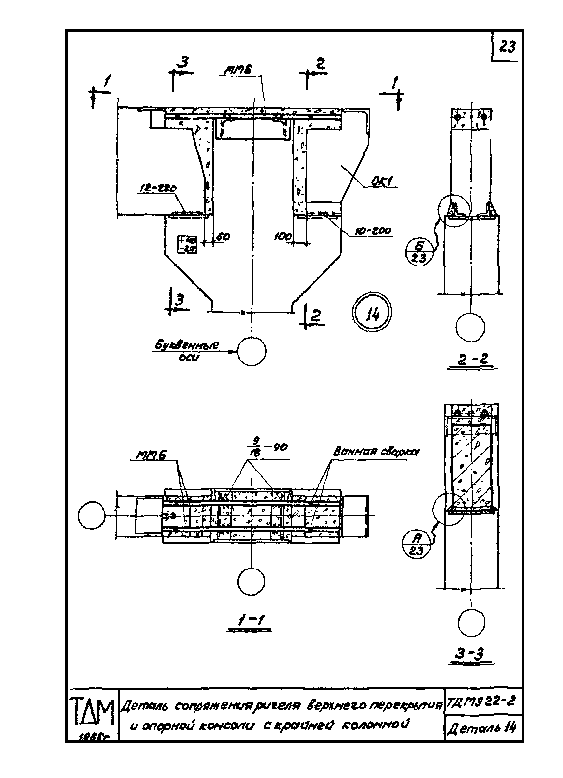
| Оглавление: | ТДМ22-2 Пояснительная записка ТДМ22-2 Деталь заделки колонны в фундамент ТДМ22-2 Деталь заделки колонны в фундамент в торце и у деформационного шва ТДМ22-2 Деталь сопряжения ригеля перекрытия и опорной консоли с крайней колонной ТДМ22-2 Деталь сопряжения ригелей перекрытия со средней колонной ТДМ22-2 Деталь сопряжения ригеля верхнего перекрытия и опорной консоли с колонной ТДМ22-2 Деталь сопряжения ригеля верхнего перекрытия и опорной консоли с крайней колонной ТДМ22-2 Деталь сопряжения ригелей верхнего перекрытия со средней колонной ТДМ22-2 Узлы А,Б ТДМ22-2 Стыки колонн ТДМ22-2 Детали крепления вертикальных связей к колоннам ТДМ22-2 Деталь крепления вертикальных связей к колоннам ТДМ22-2 Деталь соединения элементов связи |
| Разработан: | ЦНИИпромзданий НИИЖБ |
| Утверждён: | 29.08.1967 Госстрой СССР (Государственный комитет Совета Министров СССР по делам строительства) (USSR Gosstroy 160) |
| Расположен в: |




































