Скачать Типовой проект 903-2-13 Альбом II. Часть 1. Сооружения слива и приема мазута и жидких присадок. Части: тепломеханическая, архитектурно-строительная, автоматизация, электротехническая (из ТП 903-2-10)Дата актуализации: 10.08.2017 Типовой проект 903-2-13
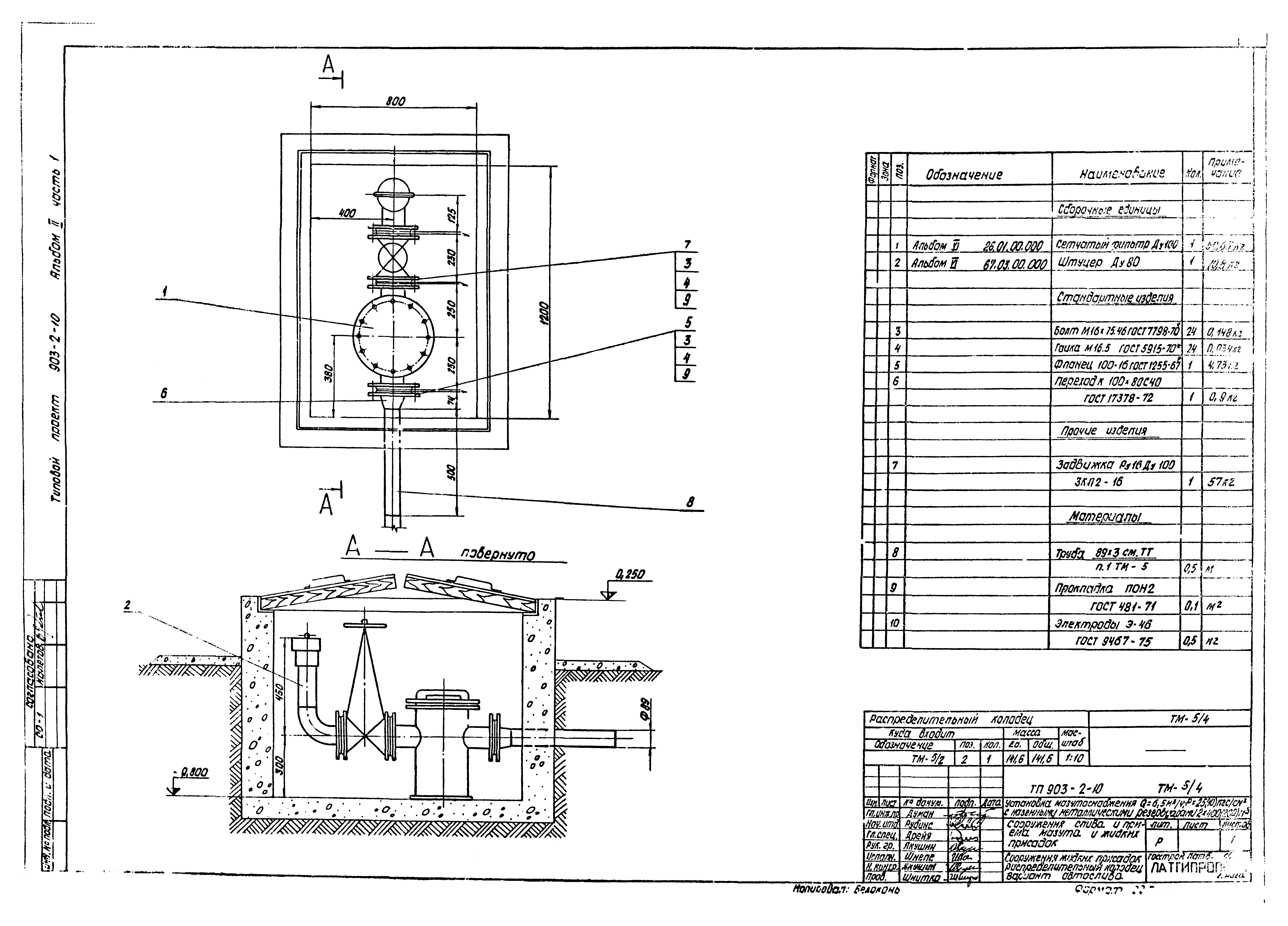
Альбом II. Часть 1. Сооружения слива и приема мазута и жидких присадок. Части: тепломеханическая, архитектурно-строительная, автоматизация, электротехническая (из ТП 903-2-10)Обозначение: | Типовой проект 903-2-13 | Обозначение англ: | 903-2-13 | Статус: | заменен | Название рус.: | Альбом II. Часть 1. Сооружения слива и приема мазута и жидких присадок. Части: тепломеханическая, архитектурно-строительная, автоматизация, электротехническая (из ТП 903-2-10) | Дата добавления в базу: | 21.05.2015 | Дата актуализации: | 05.05.2017 | Дата введения: | 01.06.1982 | Разработан: | Латгипропром
| Утверждён: | 07.06.1977 Главпромстройпроект Госстроя СССР (33)
| Расположен в: |
| Чем заменён: | |
                                                                      
|