Информационная система
«Ёшкин Кот»

Скачать базу одним архивом
Скачать обновления
История создания базы
Карта сайта

Скачать Типовой проект 903-1-224.86 Альбом 5.2. Котельная. Архитектурно-строительная часть. Конструкции нулевого цикла

Дата актуализации: 10.08.2017

Типовой проект 903-1-224.86

Альбом 5.2. Котельная. Архитектурно-строительная часть. Конструкции нулевого цикла

Обозначение: Типовой проект 903-1-224.86
Обозначение англ: 903-1-224.86
Статус:действует
Название рус.:Альбом 5.2. Котельная. Архитектурно-строительная часть. Конструкции нулевого цикла
Дата добавления в базу:01.09.2013
Дата актуализации:05.05.2017
Оглавление:ТП 903-1-224.86-КЖ-1 Общие данные (начало)
ТП 903-1-224.86-КЖ-2 Общие данные (окончание)
ТП 903-1-224.86-КЖ-3 Схема расположения фундаментов и фундаментных балок
ТП 903-1-224.86-КЖ-4 Таблица нагрузок на фундаменты. Фундаменты 1;1н;3;3н;4
ТП 903-1-224.86-КЖ-5 Фундаменты 2;2н;12
ТП 903-1-224.86-КЖ-6 Схема расположения фундаментов и фундаментных балок. Фрагмент 5
ТП 903-1-224.86-КЖ-7 Фрагменты 6-8
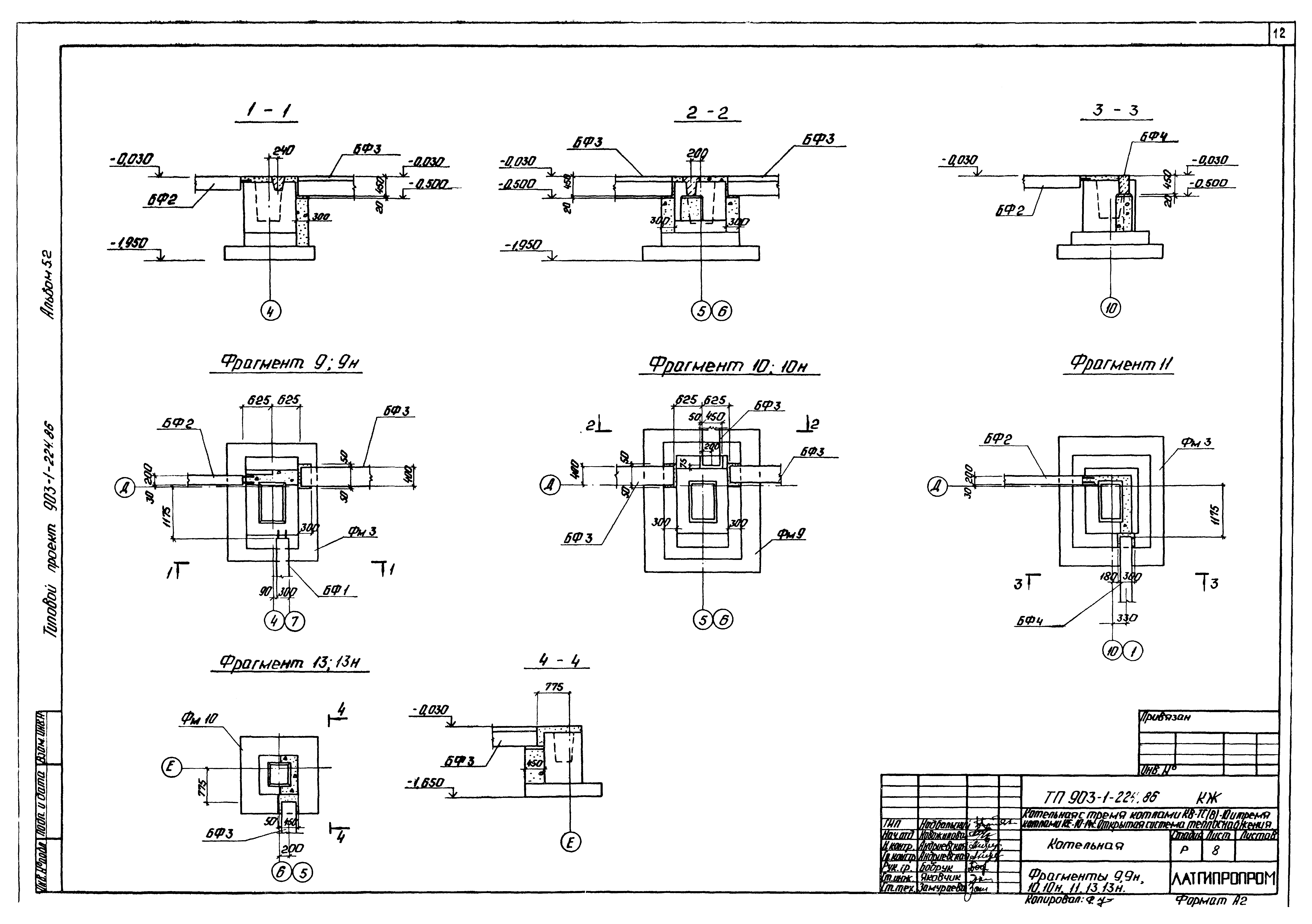
ТП 903-1-224.86-КЖ-8 Фрагменты 9;9н;10;10н;11;13;13н
ТП 903-1-224.86-КЖ-9 ФМ1;ФМ1-1;ФМ8. Опалубка и армирование
ТП 903-1-224.86-КЖ-10 ФМ2;ФМ7. Опалубка и армирование
ТП 903-1-224.86-КЖ-11 ФМ3. Опалубка и армирование
ТП 903-1-224.86-КЖ-12 ФМ4;ФМ6. Опалубка и армирование
ТП 903-1-224.86-КЖ-13 ФМ5. Опалубка и армирование
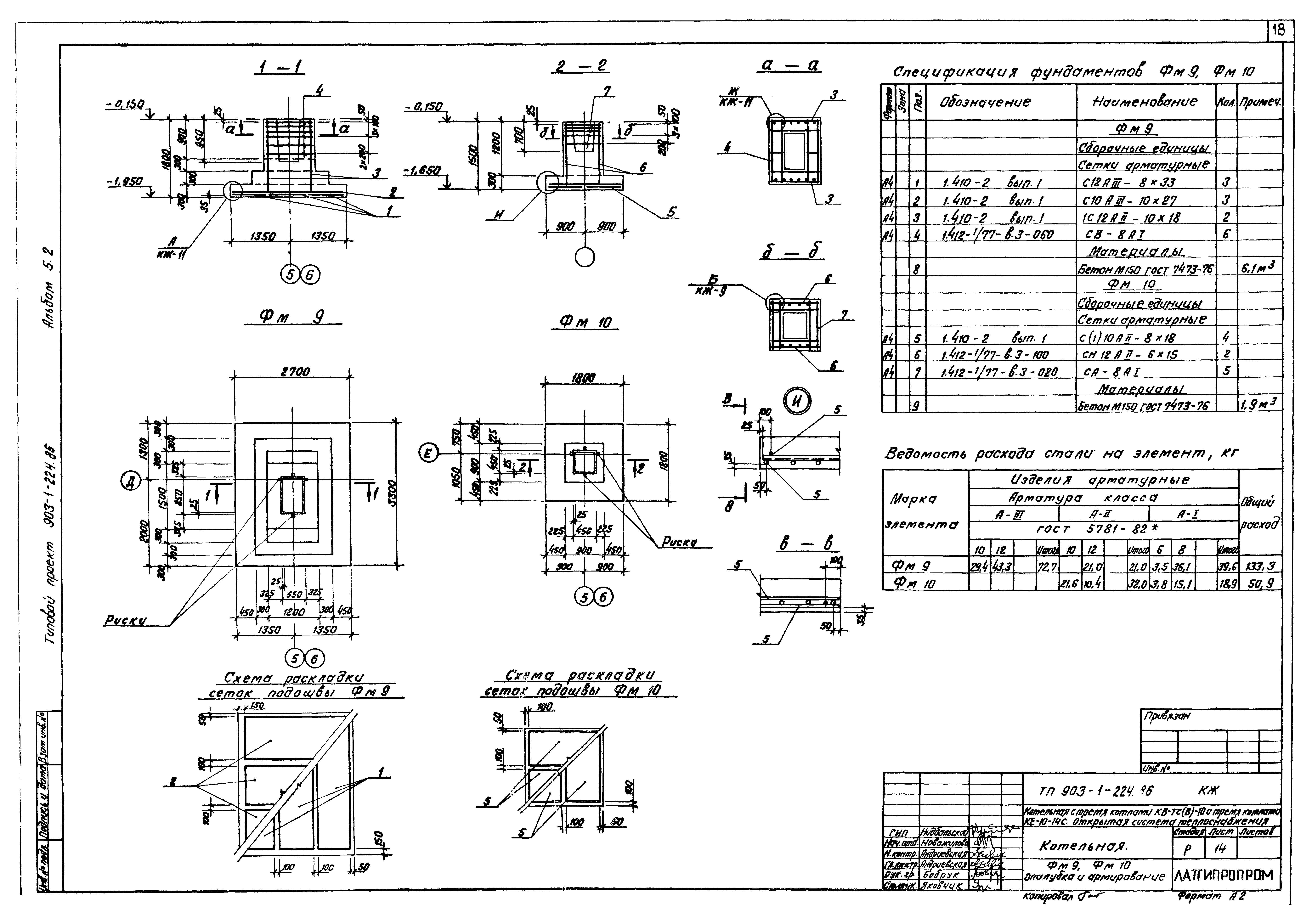
ТП 903-1-224.86-КЖ-14 ФМ9,ФМ10. Опалубка и армирование
ТП 903-1-224.86-КЖ-15 Схема расположения фундаментов (при расширении котельной) ФМ13;ФМ14. Опалубка и армирование
ТП 903-1-224.86-КЖ-16 ФМ11,ФМ12. Опалубка и армирование
ТП 903-1-224.86-КЖ-17 Схема заземляющего контура здания котельной. Узлы А-Д
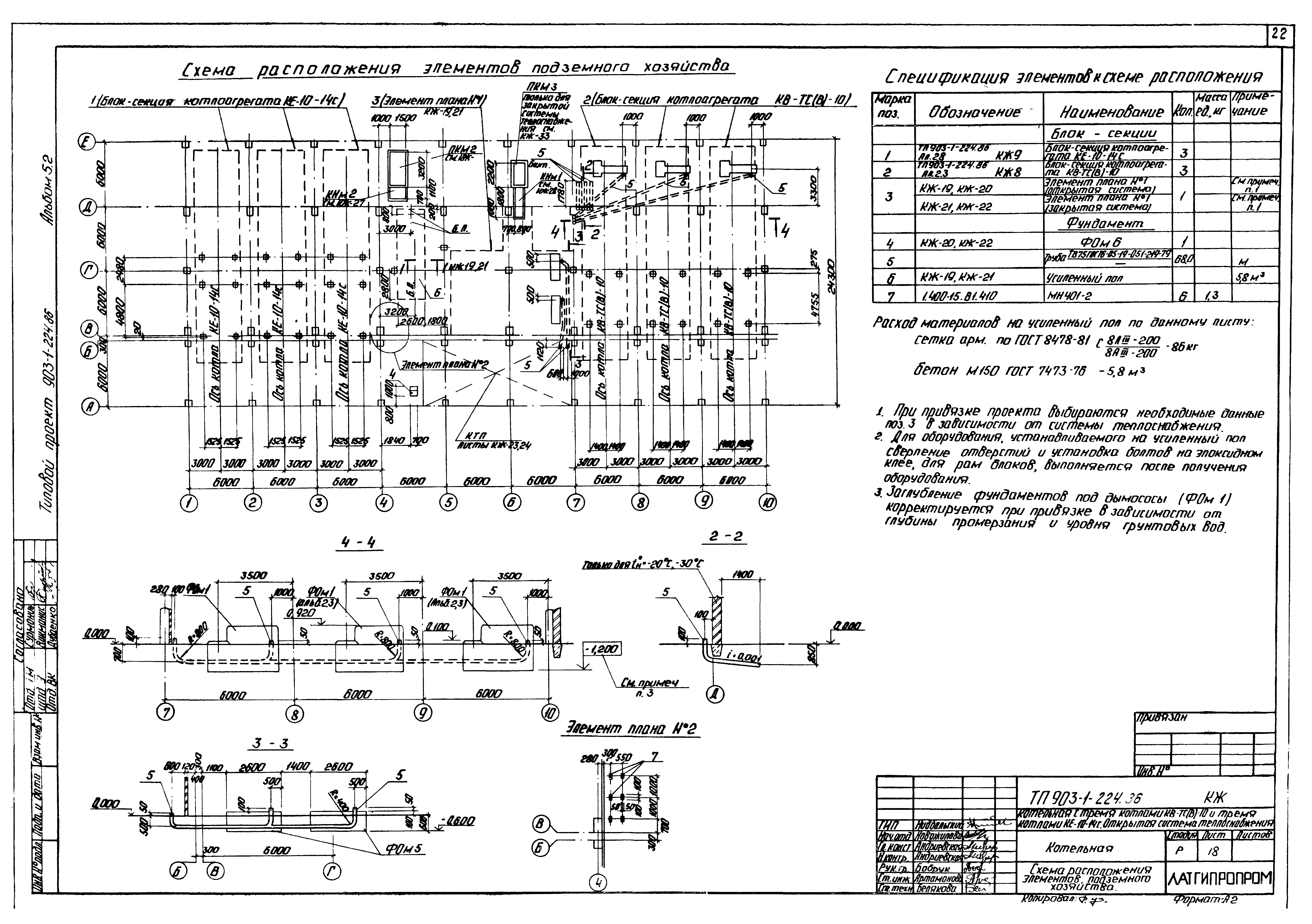
ТП 903-1-224.86-КЖ-18 Схема расположения элементов подземного хозяйства
ТП 903-1-224.86-КЖ-19 Элемент плана №1 (открытая система теплоснабжения)
ТП 903-1-224.86-КЖ-20 Разрезы 2-2÷6-6 (открытая система теплоснабжения)
ТП 903-1-224.86-КЖ-21 Элемент плана №1 (закрытая система теплоснабжения)
ТП 903-1-224.86-КЖ-22 Разрезы 2-2÷6-6 (закрытая система теплоснабжения)
ТП 903-1-224.86-КЖ-23 КТП. Опалубка и армирование каналов
ТП 903-1-224.86-КЖ-24 КТП. Опалубка и армирование каналов. Узлы 1;2
ТП 903-1-224.86-КЖ-25 Схема расположения элементов наружного подземного хозяйства (открытая система теплоснабжения) в осях 6-10
ТП 903-1-224.86-КЖ-26 Схема расположения плит перекрытия элементов подземного хозяйства. Фундамент баков-аккумуляторов
ТП 903-1-224.86-КЖ-27 Схема расположения элементов наружного подземного хозяйства в осях 4-5. УМ1;УМ2;УМ3
ТП 903-1-224.86-КЖ-28 Схема расположения элементов подземного подземного хозяйства (закрытая система теплоснабжения) в осях 6-7. Схема расположения плит перекрытия канала КНм1
ТП 903-1-224.86-КЖ-29 Продувочный колодец ПКм1. Опалубка и армирование. Разрезы 1-1÷3-3. Узел 3
ТП 903-1-224.86-КЖ-30 Продувочный колодец ПКм1. Опалубка и армирование. Разрезы 4-4÷7-7
ТП 903-1-224.86-КЖ-31 Продувочный колодец ПКм2. Опалубка и армирование. Разрезы 1-1÷3-3. Узел 4
ТП 903-1-224.86-КЖ-32 Продувочный колодец ПКм2. Опалубка и армирование. Разрезы 4-4÷7-7
ТП 903-1-224.86-КЖ-33 Продувочный колодец ПКм3. Опалубка и армирование
ТП 903-1-224.86-КЖ-34 Продувочный колодец ПКм3. Узлы 5-6
Разработан: Латгипропром
Утверждён:20.05.1986 Госстрой СССР (Государственный комитет Совета Министров СССР по делам строительства) (USSR Gosstroy А4-29)
Расположен в:Техническая документация Строительство Справочные документы Типовые строительные конструкции, изделия и узлы Общероссийский строительный каталог Промышленные предприятия, здания и сооружения Здания и сооружения санитарно-технические Теплоснабжение Котельные установки Открытые системы теплоснабжения Топливо - каменные и бурые угли
Заменяет собой:
  • Типовой проект 903-1-148
Типовой проект 903-1-224.86Типовой проект 903-1-224.86Типовой проект 903-1-224.86Типовой проект 903-1-224.86Типовой проект 903-1-224.86Типовой проект 903-1-224.86Типовой проект 903-1-224.86Типовой проект 903-1-224.86Типовой проект 903-1-224.86Типовой проект 903-1-224.86Типовой проект 903-1-224.86Типовой проект 903-1-224.86Типовой проект 903-1-224.86Типовой проект 903-1-224.86Типовой проект 903-1-224.86Типовой проект 903-1-224.86Типовой проект 903-1-224.86Типовой проект 903-1-224.86Типовой проект 903-1-224.86Типовой проект 903-1-224.86Типовой проект 903-1-224.86Типовой проект 903-1-224.86Типовой проект 903-1-224.86Типовой проект 903-1-224.86Типовой проект 903-1-224.86Типовой проект 903-1-224.86Типовой проект 903-1-224.86Типовой проект 903-1-224.86Типовой проект 903-1-224.86Типовой проект 903-1-224.86Типовой проект 903-1-224.86Типовой проект 903-1-224.86Типовой проект 903-1-224.86Типовой проект 903-1-224.86Типовой проект 903-1-224.86Типовой проект 903-1-224.86Типовой проект 903-1-224.86Типовой проект 903-1-224.86Типовой проект 903-1-224.86Типовой проект 903-1-224.86

© 2013 Ёшкин Кот :-) Карта сайта