| ||||||||||||||||||||||||||
Скачать Шифр М27.11/2008 Стены, покрытия, перегородки, полы, ограждающие конструкции мансард с применением теплоизоляционных минераловатных и стекловолокнистых изделий. Материалы для проектирования и рабочие чертежи узловДата актуализации: 10.08.2017
|
| Обозначение: | Шифр М27.11/2008 |
| Обозначение англ: | М27.11/2008 |
| Статус: | не определен законодательством |
| Название рус.: | Стены, покрытия, перегородки, полы, ограждающие конструкции мансард с применением теплоизоляционных минераловатных и стекловолокнистых изделий. Материалы для проектирования и рабочие чертежи узлов |
| Дата добавления в базу: | 01.09.2013 |
| Дата актуализации: | 05.05.2017 |
| Дата введения: | 14.05.2008 |
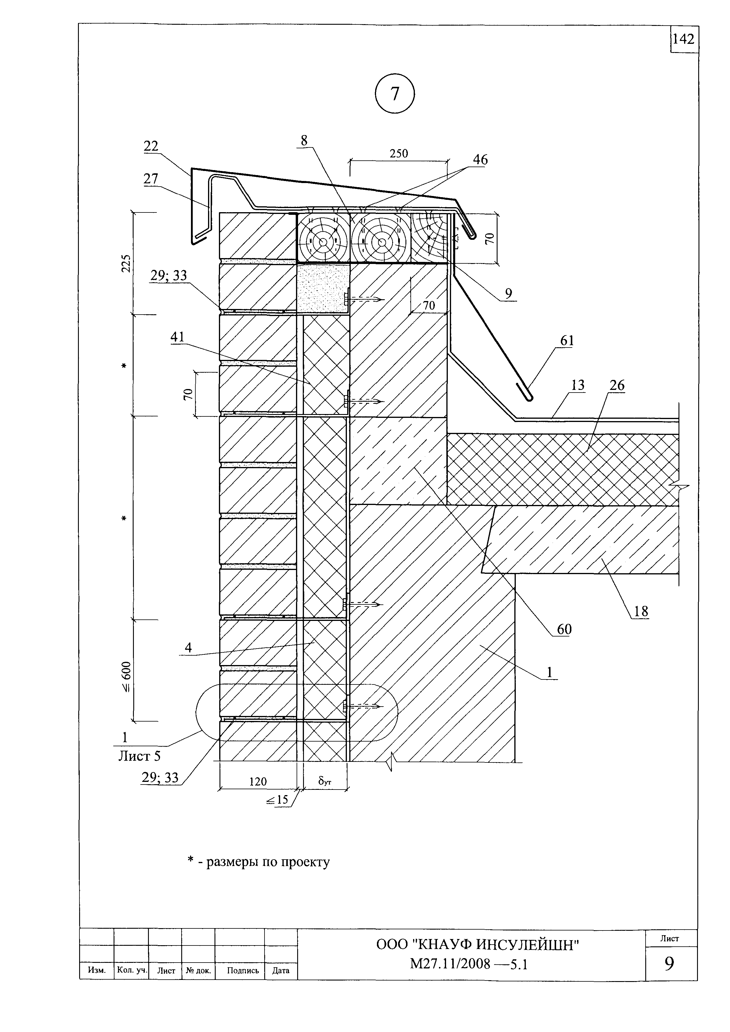
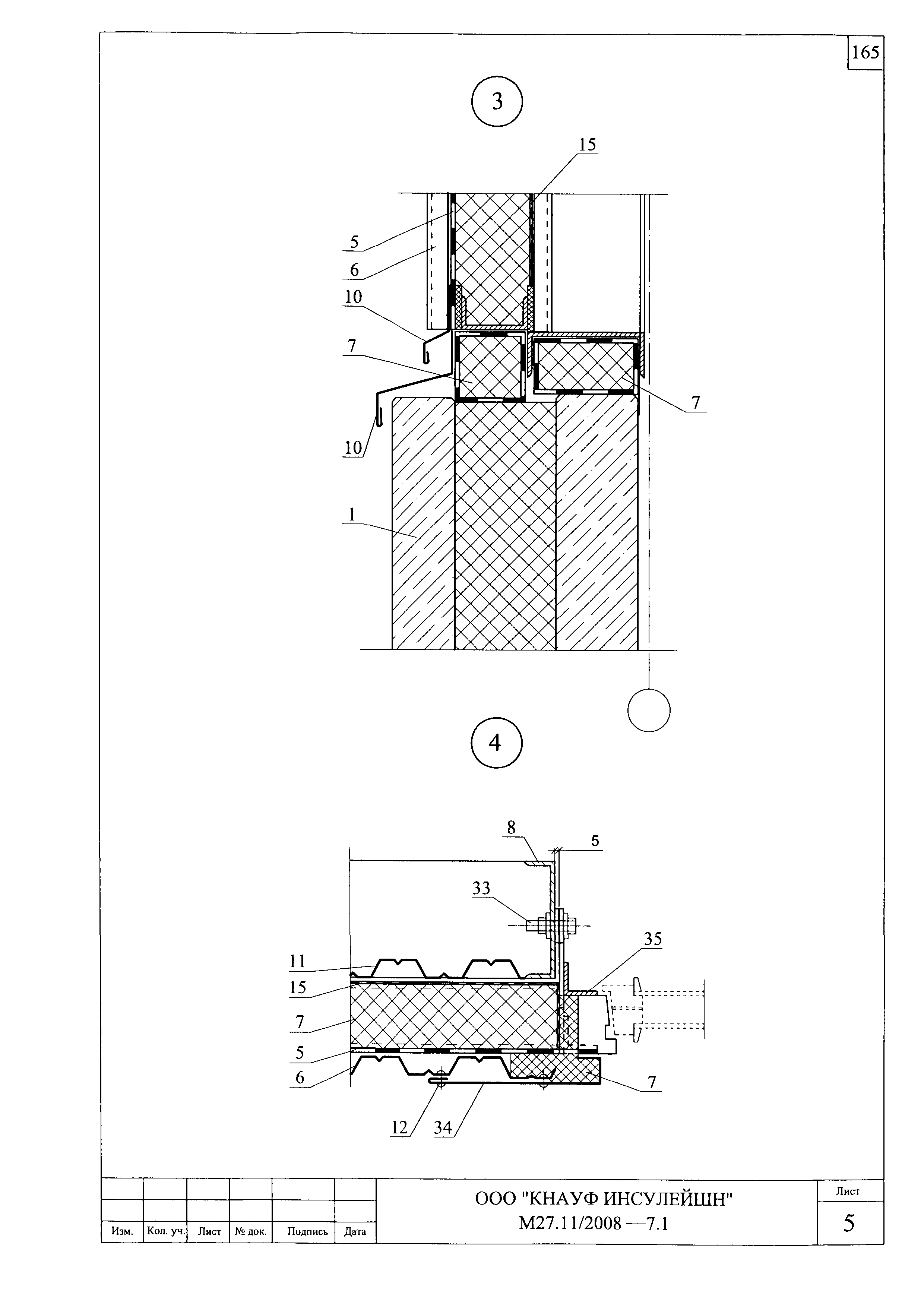
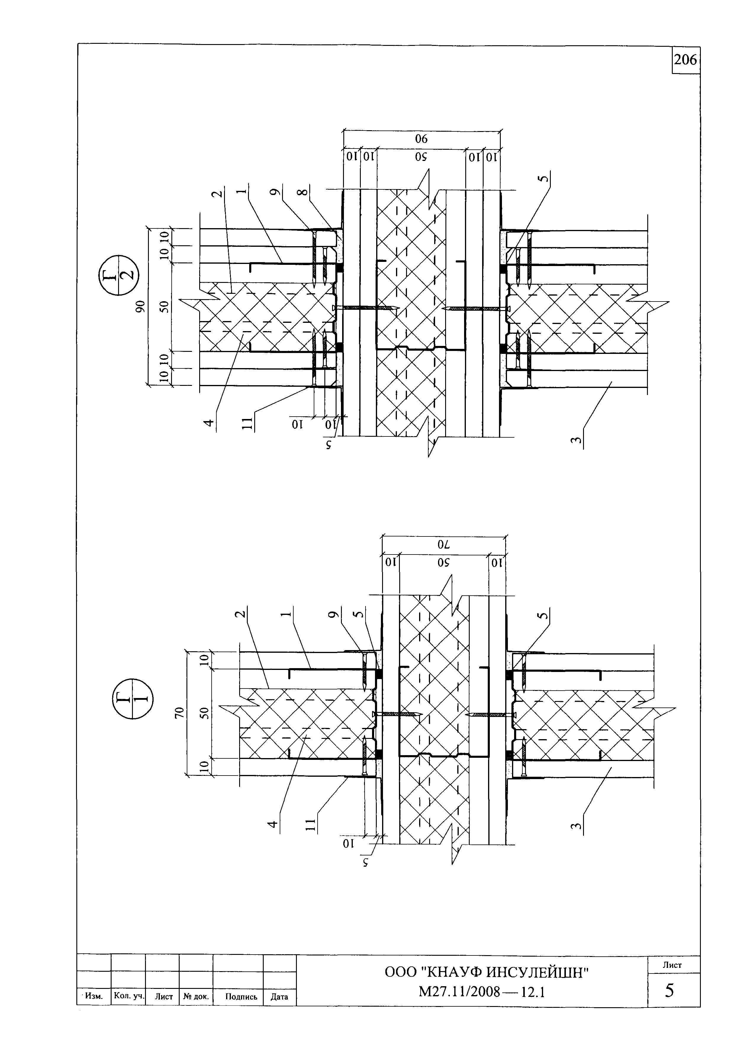
| Оглавление: | М27.11/2008-ПЗ Сертификат М27.11/2008-ПЗ Пояснительная записка М27.11/2008-ПЗ 1. Общие положения М27.11/2008-ПЗ 2. Теплоизоляция М27.11/2008-ПЗ Конструктивные решения стен М27.11/2008-ПЗ 3. Стены без вентилируемой воздушной прослойки с отделочным слоем из штукатурки и кирпича М27.11/2008-ПЗ 3.1. Стены с отделочным слоем из традиционной штукатурки М27.11/2008-ПЗ 3.2. Стены с отделочным слоем из тонкослойной штукатурки М27.11/2008-ПЗ 3.3. Стены с отделочным слоем из кирпича М27.11/2008-ПЗ 4. Стены с вентилируемой воздушной прослойкой М27.11/2008-ПЗ 5. Каркасные стены М27.11/2008-ПЗ 6. Стены деревянные из бруса М27.11/2008-ПЗ 7. Металлические стены из сэндвич-панелей поэлементной сборки М27.11/2008-ПЗ 8. Стены подвала М27.11/2008-ПЗ 9. Конструктивные решения покрытий М27.11/2008-ПЗ Железобетонные покрытия с рулонной кровлей М27.11/2008-ПЗ Покрытия с профилированным настилом и рулонной кровлей М27.11/2008-ПЗ Покрытия с профилированным настилом и кровлей из оцинкованных стальных профлистов М27.11/2008-ПЗ 10. Конструктивные решения чердачных перекрытий М27.11/2008-ПЗ 11. Ограждающие конструкции мансард М27.11/2008-ПЗ 12. Конструктивные решения полов М27.11/2008-ПЗ 13. Перегородки М27.11/2008-ПЗ 14. Коммуникационные элементы и оборудование М27.11/2008-1 Раздел 1. Стены с защитно-декоративным слоем из традиционной штукатурки. Новое строительство и реконструкция М27.11/2008-2 Раздел 2. Стены с защитно-декоративным слоем из тонкослойной штукатурки. Новое строительство и реконструкция М27.11/2008-3 Раздел 3. Стены с отделочным слоем из кирпича. Новое строительство М27.11/2008-4 Раздел 4. Самонесущая стена из кирпича с облицовкой кирпичом в здании с несущим каркасом М27.11/2008-5 Раздел 5. Стены с отделочным слоем из кирпича. Реконструкция М27.11/2008-6 Раздел 6. Стены с вентилируемой воздушной прослойкой М27.11/2008-7 Раздел 7. Каркасные конструкции стен с обшивками из стального профлиста М27.11/2008-8 Раздел 8. Металлические стены из сэндвич-панелей поэлементной сборки М27.11/2008-9 Раздел 9. Деревянные каркасно-обшивные стены М27.11/2008-10 Раздел 10. Стены деревянные, из бруса. Новое строительство и реконструкция М27.11/2008-11 Раздел 11. Стены подвала М27.11/2008-12 Раздел 12. Перегородки с металлическим каркасом М27.11/2008-13 Раздел 13. Перегородки с деревянным каркасом М27.11/2008-14 Раздел 14. Чердачные перекрытия М27.11/2008-15 Раздел 15. Полы М27.11/2008-16 Раздел 16. Ограждающие конструкции мансард М27.11/2008-17 Раздел 17. Покрытие со сборным или монолитным железобетонным основанием М27.11/2008-18 Раздел 18. Покрытия по стальным профилированным настилам с рулонной кровлей М27.11/2008-19 Раздел 19. Покрытия по стальным профилированным настилам с кровлей из стальных профилированных листов М27.11/2008-20 Раздел 20. Изделия комплектующие Приложение 1. Пример расчета повышения теплозащиты стены Приложение 2. Пример расчета толщины теплоизоляции стены подвала Приложение 3. Пример расчета парозащиты стены Приложение 4. Пример определения показателя теплоусвоения поверхности пола по СНиП 23-02-2003 Приложение 5. Пример определения индекса изоляции воздушного шума под междуэтажным перекрытием жилого дома. Перекрытие состоит из железобетонной плиты γ = 2400 кг/м³ толщиной 14 см, звукоизоляционного слоя из минераловатной плиты марки "NOBASIL SPE" толщиной 4,0 см, сборной стяжки из гипсоволокнистых листов (ГВЛ) плотностью 1150 кг/м³ толщиной 2,0 см Приложение 6. Пример определения индекса приведенного уровня ударного шума под железобетонным перекрытием жилого дома. Перекрытие состоит из железобетонной плиты γ = 2400 кг/м³ толщиной 14 см, звукоизоляционного слоя из минераловатных плит марки "NOBASIL SPK" толщиной 4,0 см, сборной стяжки из гипсоволокнистых листов (ГВЛ) плотностью 1150 кг/м³ толщиной 2,0 см и паркетного пола толщиной 1,8 см |
| Разработан: | ЦНИИпромзданий |
| Утверждён: | 14.05.2008 ЦНИИ промзданий (TsNII promzdaniy ) |
| Расположен в: |















































































































































































































































































































