| ||||||||||||||||||||||||||||||||||
Скачать СТО 79814898 131-2009 Опоры станционных трубопроводов атомных станций на давление до 4,0 МПа (40 кгс/см2). Опоры хомутовые скользящие, неподвижные и направляющие. Типы и основные размерыДата актуализации: 10.08.2017
|
| Обозначение: | СТО 79814898 131-2009 |
| Обозначение англ: | STO 79814898 131-2009 |
| Статус: | действует |
| Название рус.: | Опоры станционных трубопроводов атомных станций на давление до 4,0 МПа (40 кгс/см2). Опоры хомутовые скользящие, неподвижные и направляющие. Типы и основные размеры |
| Дата добавления в базу: | 01.09.2013 |
| Дата актуализации: | 05.05.2017 |
| Дата введения: | 01.02.2010 |
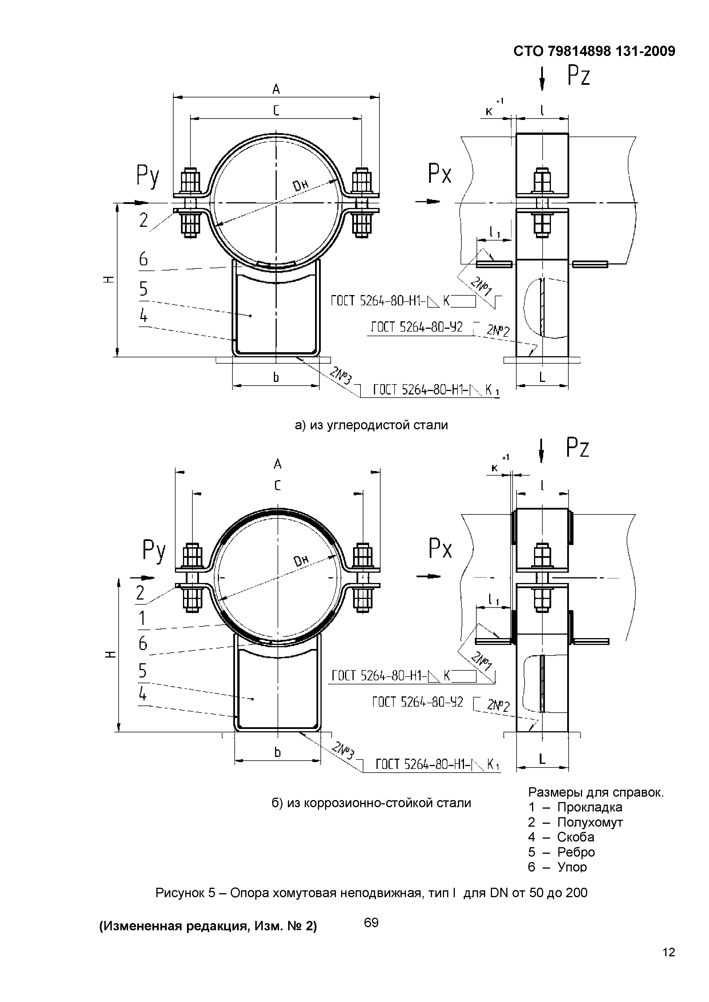
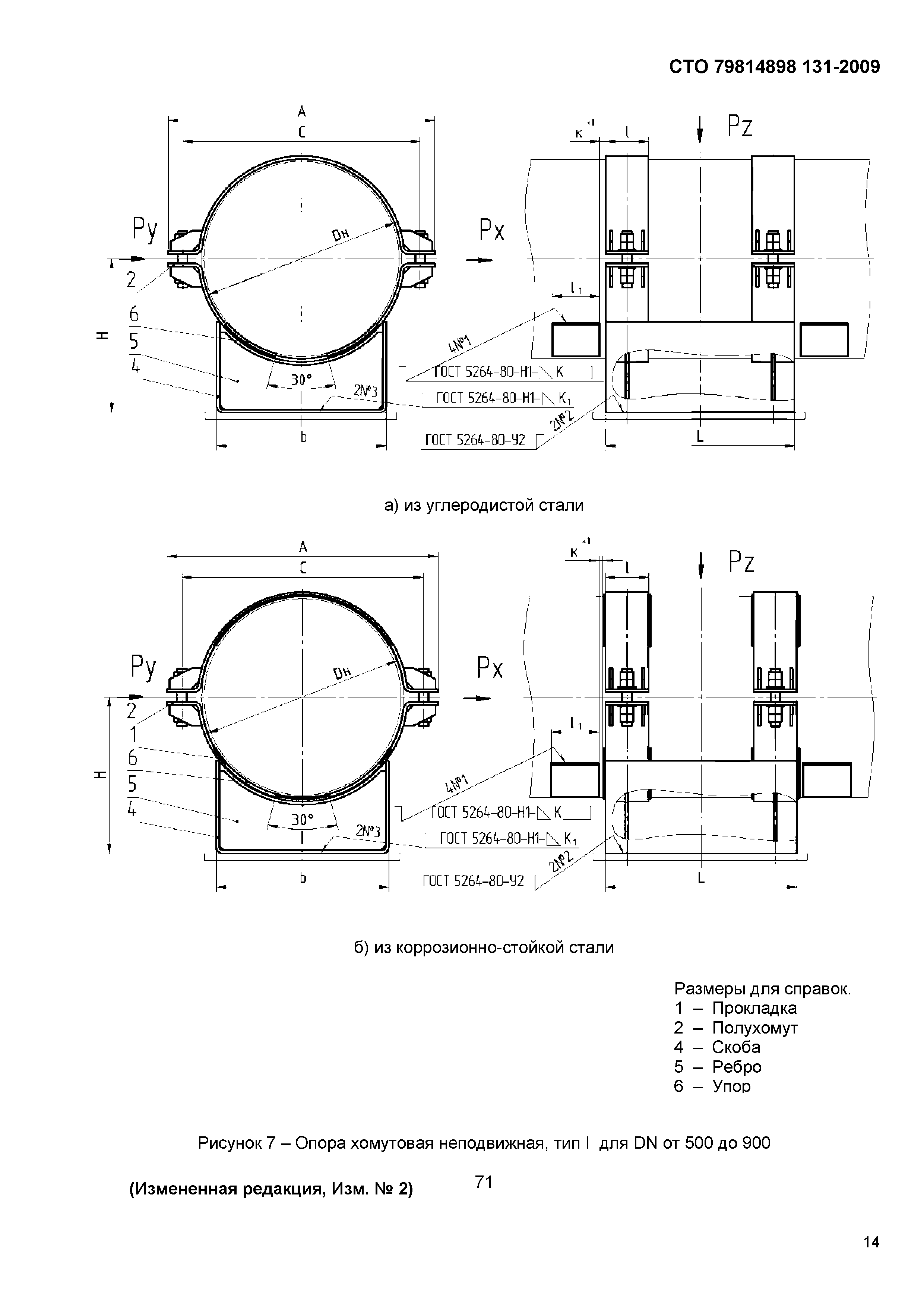
| Область применения: | Стандарт распространяется на хомутовые скользящие, неподвижные и направляющие опоры станционных трубопроводов атомных станций низкого давления с условными проходами от DN 50 до DN 1600 и температурой рабочей среды не более 200 градусов Цельсия, отнесенные к группам В и С "Правил устройства и безопасной эксплуатации оборудования и трубопроводов атомных энергетических установок" - ПНАЭ Г-7-008, утвержденных Госатомнадзором России. |
| Оглавление: | Введение 1 Область применения 2 Нормативные ссылки 3 Термины, определения и обозначения 4 Общие положения 5 Типы и основные размеры Библиография |
| Разработан: | ЗАО Институт Севзапэнергомонтажпроект |
| Утверждён: | 10.12.2009 ЗАО Институт Севзапэнергомонтажпроект (317) |
| Принят: | ОАО Атомэнергопроект ОАО Концерн Росэнергоатом |
| Расположен в: | |
| Список изменений: | |
| Нормативные ссылки: |
|

































Текстовое изменение № 2 от 15.03.2011