| ||||||||||||||||||||||||||||
Скачать Серия 1.489-1 Выпуск 0. Архитектурно-строительные чертежи (материалы для проектирования)Дата актуализации: 10.08.2017
|
| Обозначение: | Серия 1.489-1 |
| Обозначение англ: | Series 1.489-1 |
| Статус: | не действует |
| Название рус.: | Выпуск 0. Архитектурно-строительные чертежи (материалы для проектирования) |
| Дата добавления в базу: | 01.09.2013 |
| Дата актуализации: | 05.05.2017 |
| Дата введения: | 01.03.1974 |
| Дата окончания срока действия: | 01.05.1999 |
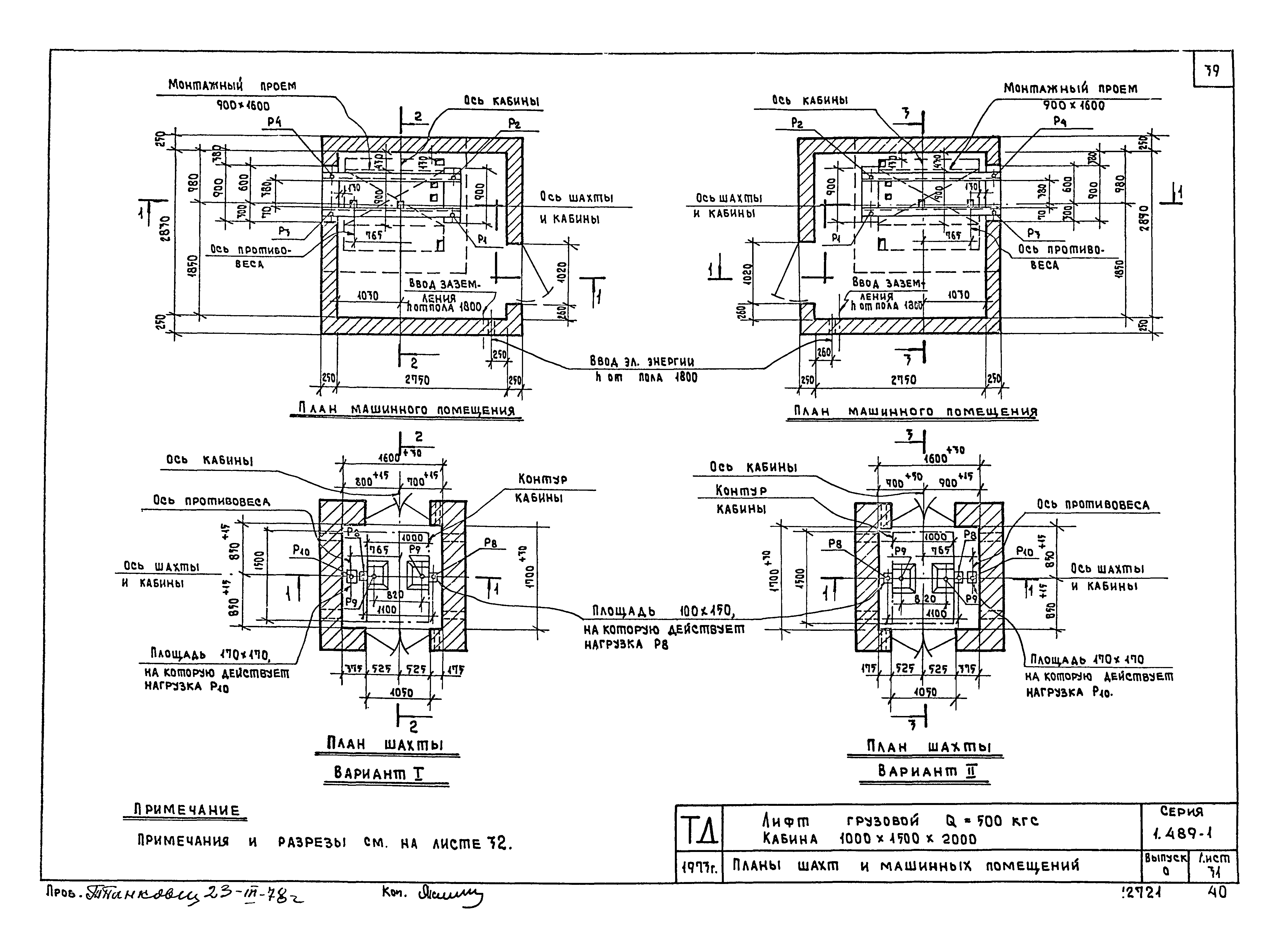
| Оглавление: | Содержание Пояснительная записка Схемы шахт лифтов Характеристика лифтов. Лифт пассажирский Q = 320 кгс, V = 1 м/сек с противовесом сзади кабины. Кабина 1000 х 1200 х 2100 Планы шахты и машинных помещений Разрезы Развертка стен шахты при высотах этажей 3600, 4200, 4800, 6000 и 7200 мм Лифт пассажирский Q = 350 кгс, V = 1 м/сек с противовесом сзади кабины. Кабина 980 х 1120 х 2100 Планы шахты и машинных помещений Разрезы Развертка стен шахты при высотах этажей 3600, 4200, 4800, 6000 и 7200 мм Лифт пассажирский Q = 500 кгс, V = 1 м/сек с противовесом сзади кабины. Кабина 1080 х 1420 х 2100 Планы шахты и машинных помещений Разрезы Лифт пассажирский Q = 500 кгс, V = 1 м/сек с противовесом сзади кабины. Кабина 1200 х 1400 х 2100 Планы шахты и машинных помещений Разрезы Развертка стен шахты при высотах этажей 3600, 4200, 4800, 6000 и 7200 мм Лифт пассажирский Q = 500 кгс, V = 1 м/сек с противовесом сзади кабины. Кабина 2200 х 1200 х 2100 Планы шахты и машинных помещений Разрезы Развертка стен шахты при высотах этажей 3600, 4200, 4800, 6000 и 7200 мм Лифт пассажирский Q = 1000 кгс, V = 1 м/сек с противовесом сзади кабины. Кабина 1800 х 1500 х 2100 Планы шахты и машинных помещений Разрезы Развертка стен шахты при высотах этажей 3600, 4200, 4800, 6000 и 7200 мм Лифт пассажирский Q = 1000 кгс, V = 1 м/сек с противовесом сзади кабины. Кабина 1800 х 1500 х 2250 Планы шахты и машинных помещений Разрезы Развертка стен шахты при высотах этажей 3600, 4200, 4800, 6000 и 7200 мм Парная установка лифтов пассажирских Q = 350 кгс, V = 1 м/сек с противовесом сзади кабины. Кабина 980 х 1120 х 2100 Планы шахты и машинных помещений Разрезы Развертка стен шахты при высотах этажей 3600, 4200, 4800, 6000 и 7200 мм Парная установка лифтов пассажирских Q = 500 кгс, V = 1 м/сек с противовесом сзади кабины. Кабина 1080 х 1420 х 2100 Планы шахты и машинных помещений Разрезы Лифт пассажирский Q = 500 кгс, V = 1 м/сек с противовесом сзади кабины. Кабина 2200 х 1130 х 2100 Планы шахты и машинных помещений Разрезы Развертка стен шахты при высотах этажей 3600, 4200, 4800, 6000 и 7200 мм Лифт грузовой Q = 500 кгс. Кабина 1000 х 1500 х 2000 Планы шахты и машинных помещений Разрезы Развертка стен шахты при высотах этажей 3600, 4200, 4800, 6000 и 7200 мм Лифт грузовой Q = 500 кгс. Кабина 1500 х 2000 х 2000 Планы шахты и машинных помещений Разрезы Лифт грузовой Q = 1000 кгс. Кабина 1500 х 2000 х 2200 Планы шахты и машинных помещений Разрезы Развертка стен шахты при высотах этажей 3600, 4200, 4800, 6000 и 7200 мм Лифт грузовой Q = 1000 кгс. Кабина 2000 х 2000 х 2200 Планы шахты и машинных помещений Разрезы Лифт грузовой Q = 1000 кгс. Кабина 2000 х 2500 х 2200 Планы шахты и машинных помещений Разрезы Лифт грузовой Q = 2000 кгс. Кабина 2000 х 2500 х 2200 Планы шахты и машинных помещений Разрезы Развертка стен шахты при высотах этажей 3600 мм Развертка стен шахты при высотах этажей 4200, 4800, 6000 мм Развертка стен шахты при высотах этажей 7200 мм Лифт грузовой Q = 2000 кгс. Кабина 2000 х 3000 х 2200 Планы шахты и машинных помещений Разрезы Лифт грузовой Q = 3200 кгс. Кабина 2000 х 3000 х 2200 Планы шахты и машинных помещений Разрезы Лифт грузовой Q = 3200 кгс. Кабина 2500 х 3500 х 2200 Планы шахты и машинных помещений Разрезы Лифт грузовой Q = 5000 кгс. Кабина 3000 х 4000 х 2400 Планы шахты и машинных помещений Разрезы Развертка стен шахты при высотах этажей 3600 мм Развертка стен шахты при высотах этажей 4200, 4800, 6000 мм Развертка стен шахты при высотах этажей 7200 мм Примеры расположения машинных помещений лифтов в зданиях с укрупненной сеткой колонн верхнего этажа Разрезы Таблица толщин стен шахт и марки материалов кладки Таблица предельных высот возведения шахт при действии ветровой нагрузки по всей высоте шахты Примеры устройства фундаментов и приямков для шахт лифтов Бетонные тумбы БТ1…БТ8 Бетонные тумбы БТ9…БТ12, бетонные столбики БС1…БС5, бетонные подушки БП1…БП4 Детали разрезов 1, 2, 3, 4, 5, 6 Узлы "А" и "Б" и фасонные элементы Обрамление дверного проема Примеры размещения отдельно стоящих шахт лифтов в средних пролетах здания Примеры решения перекрытий зданий в местах прохождения шахт лифтов Таблицы нагрузок на строительные конструкции от лифтовой установки лифтов Таблицы усилий от нормативных нагрузок на фундаменты шахт |
| Разработан: | ЦНИИпромзданий ЛГПИ |
| Утверждён: | 12.07.1973 Госстрой СССР (Государственный комитет Совета Министров СССР по делам строительства) (USSR Gosstroy ) |
| Расположен в: |

























































































