| ||||||||||||||||||||||||
Скачать Инструкция по строительству, эксплуатации и ремонту трубопроводов с силикатно-эмалевым покрытиемДата актуализации: 10.08.2017 |
| Статус: | действует |
| Название рус.: | Инструкция по строительству, эксплуатации и ремонту трубопроводов с силикатно-эмалевым покрытием |
| Дата добавления в базу: | 01.09.2013 |
| Дата актуализации: | 05.05.2017 |
| Область применения: | Инструкция распространяется на деятельность, связанную с проектированием, строительством и эксплуатацией, включая ремонт магистральных и промысловых трубопроводов для транспортировки природного газа, сырой нефти и нефтепродуктов, а также трубопроводов тепловых сетей (включая наземные участки теплотрасс) и систем водоснабжения. |
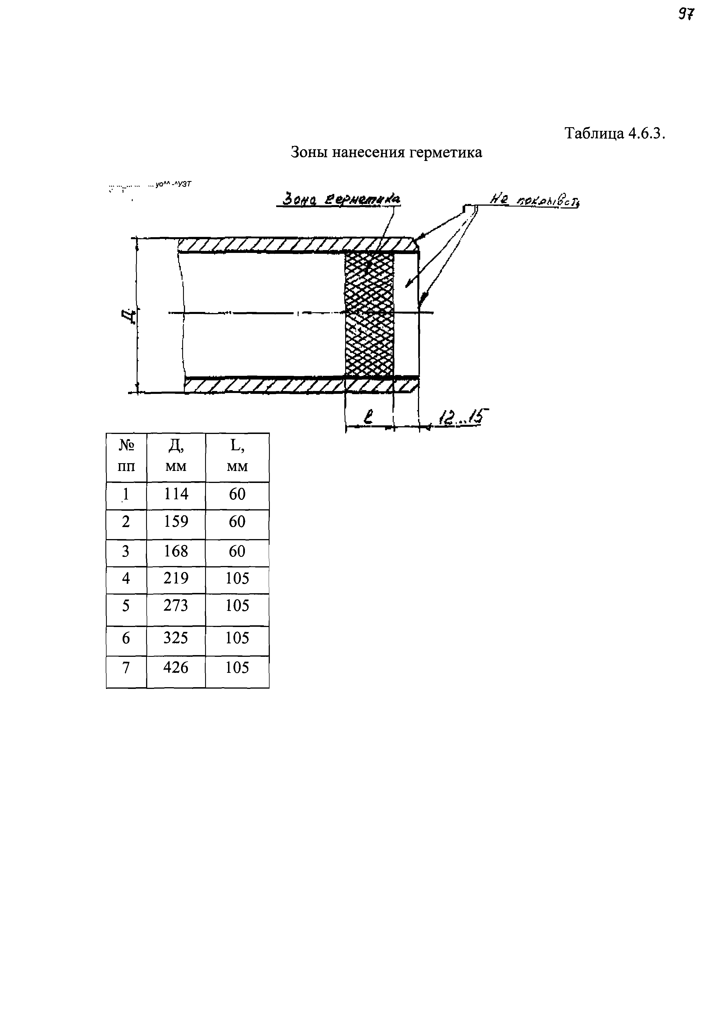
| Оглавление: | 1 Общие положения 2 Технология и организация строительства 3 Правила эксплуатации трубопроводов с силикатно-эмалевым покрытием 4 Ремонт линейной части трубопроводов Приложения |
| Разработан: | АО ВНИИСТ |
| Утверждён: | 09.11.2001 ОА ВНИИСТ |
| Принят: | 05.12.2001 Госгортехнадзор России (Russian Federation Gosgortekhnadzor 10-03/926) |
| Расположен в: |







































































































