Информационная система
«Ёшкин Кот»

Скачать базу одним архивом
Скачать обновления
История создания базы
Карта сайта

Скачать Типовой проект 902-1-54 Альбом 13. Нестандартизированное оборудование

Дата актуализации: 10.08.2017

Типовой проект 902-1-54

Альбом 13. Нестандартизированное оборудование

Обозначение: Типовой проект 902-1-54
Обозначение англ: 902-1-54
Статус:не определен законодательством
Название рус.:Альбом 13. Нестандартизированное оборудование
Дата добавления в базу:01.09.2013
Дата актуализации:05.05.2017
Дата введения:01.12.1980
Оглавление:М140-00.00080 Лоток загрузочный. Чертеж общего вида
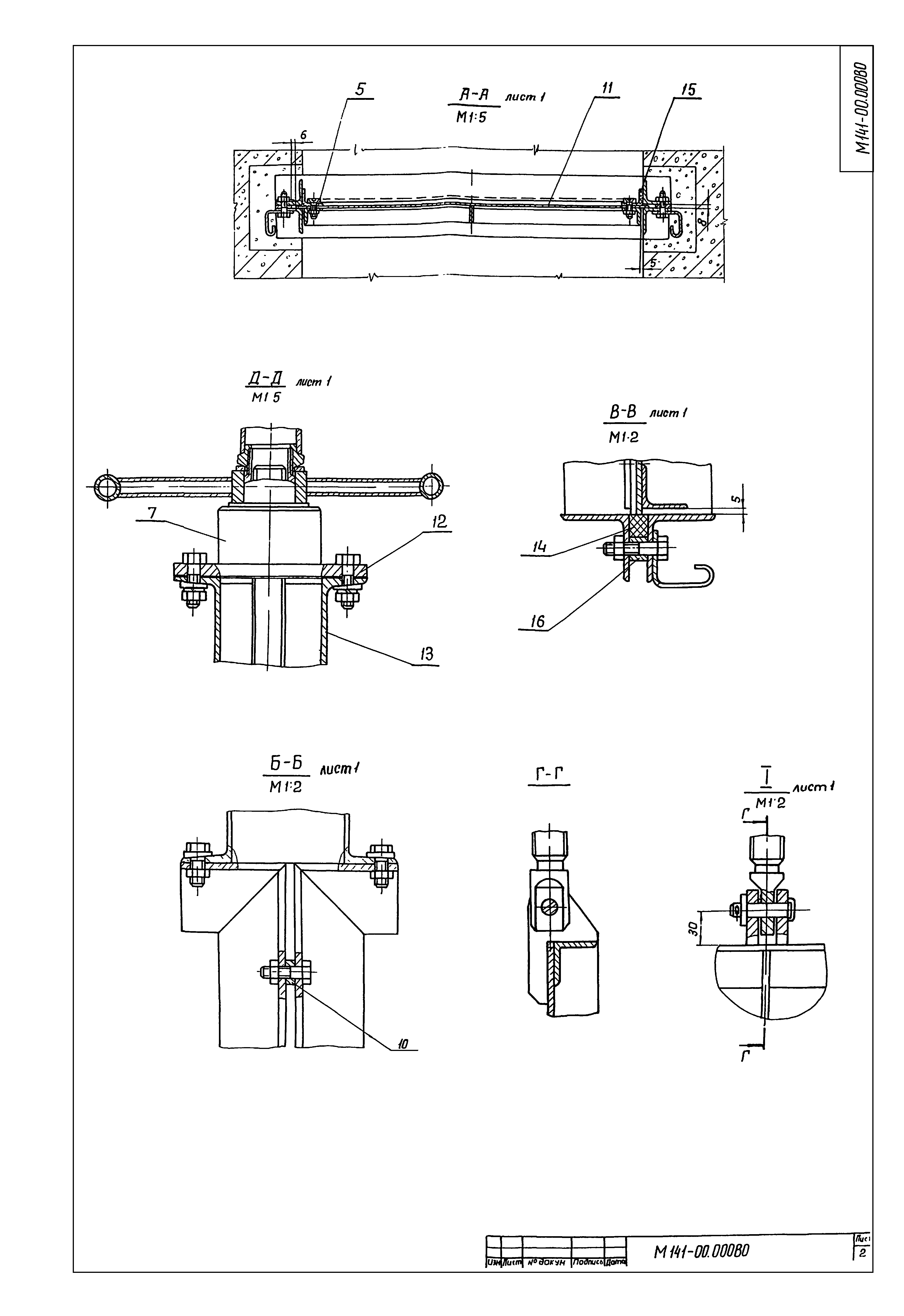
М141-00.00080 Затвор щитовой 1000х1000 с ручным приводом. Чертеж общего вида
М142-00.00080 Шандор. Чертеж общего вида
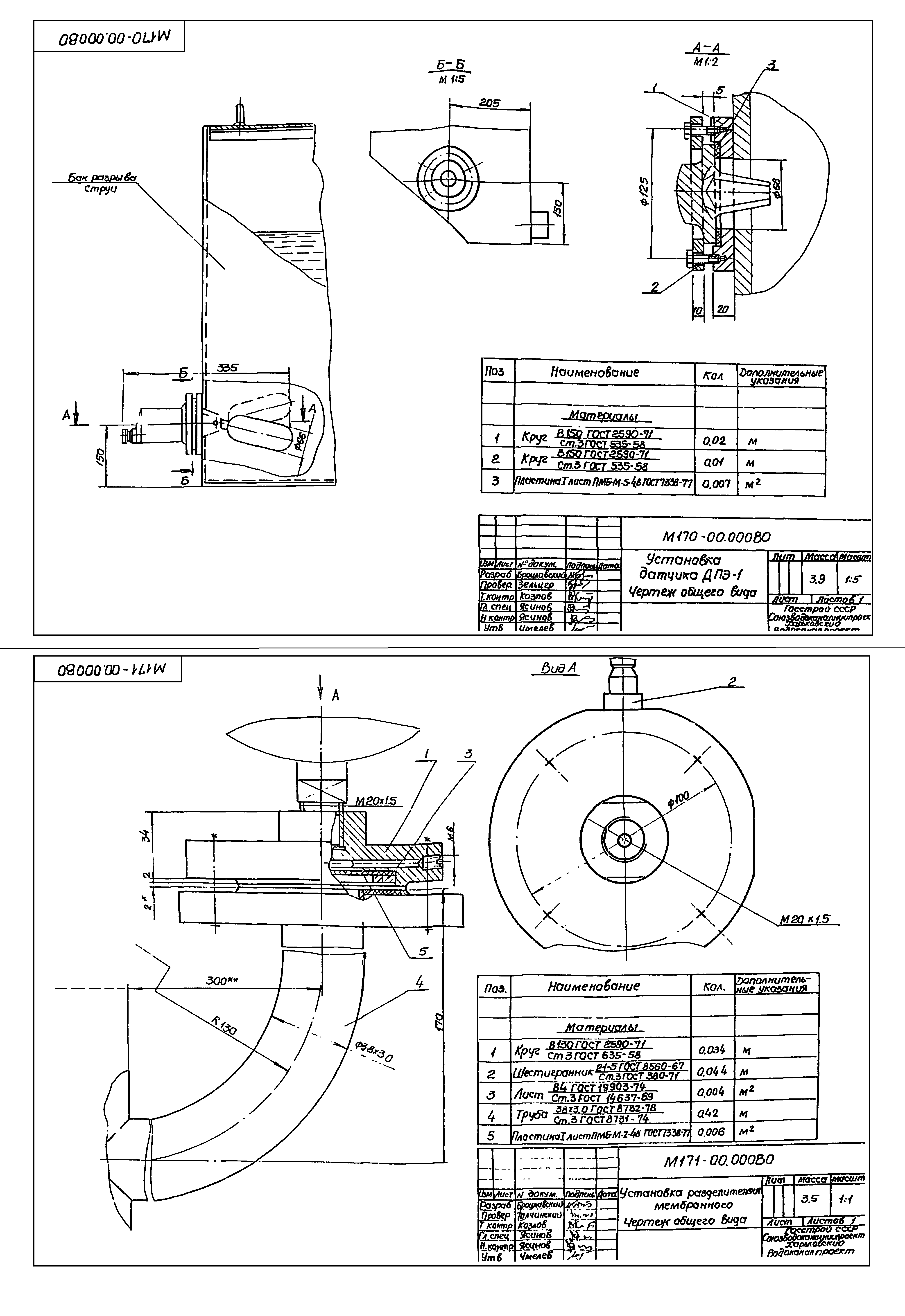
М170-00.00080 Установка датчика. Чертеж общего вида
М171-00.00080 Установка мембранного разделителя. Чертеж общего вида
М150-00.00080 Рама для крепления калорифера и обводного клапана. Чертеж общего вида
М172-00.00080 Расширитель. Чертеж общего вида
М145-00.00080 Короб воздухосборный. Чертеж общего вида
М146-00.00080 Лючок с заглушкой. Чертеж общего вида
М147-00.00080 Воздухосборник горизонтальный проточный. Чертеж общего вида
М148-00.00080 Клапан обводной. Чертеж общего вида
Разработан: Харьковский Водоканалпроект
Утверждён:19.06.1980 Союзводоканалпроект (Soyuzvodokanalproject 43)
Расположен в:Техническая документация Строительство Справочные документы Типовые строительные конструкции, изделия и узлы Общероссийский строительный каталог Промышленные предприятия, здания и сооружения Здания и сооружения санитарно-технические Канализация Станции насосные Станции насосные для перекачки бытовых сточных вод
Заменяет собой:
  • Типовой проект 902-1-22 «Канализационная насосная станция на 3 насоса 8Ф-12 при глубине заложения подводящего коллектора 4,0; 5,50 и 7,0 м»
Типовой проект 902-1-54Типовой проект 902-1-54Типовой проект 902-1-54Типовой проект 902-1-54Типовой проект 902-1-54Типовой проект 902-1-54Типовой проект 902-1-54Типовой проект 902-1-54Типовой проект 902-1-54Типовой проект 902-1-54Типовой проект 902-1-54Типовой проект 902-1-54

© 2013 Ёшкин Кот :-) Карта сайта