Информационная система
«Ёшкин Кот»

Скачать базу одним архивом
Скачать обновления
История создания базы
Карта сайта

Скачать

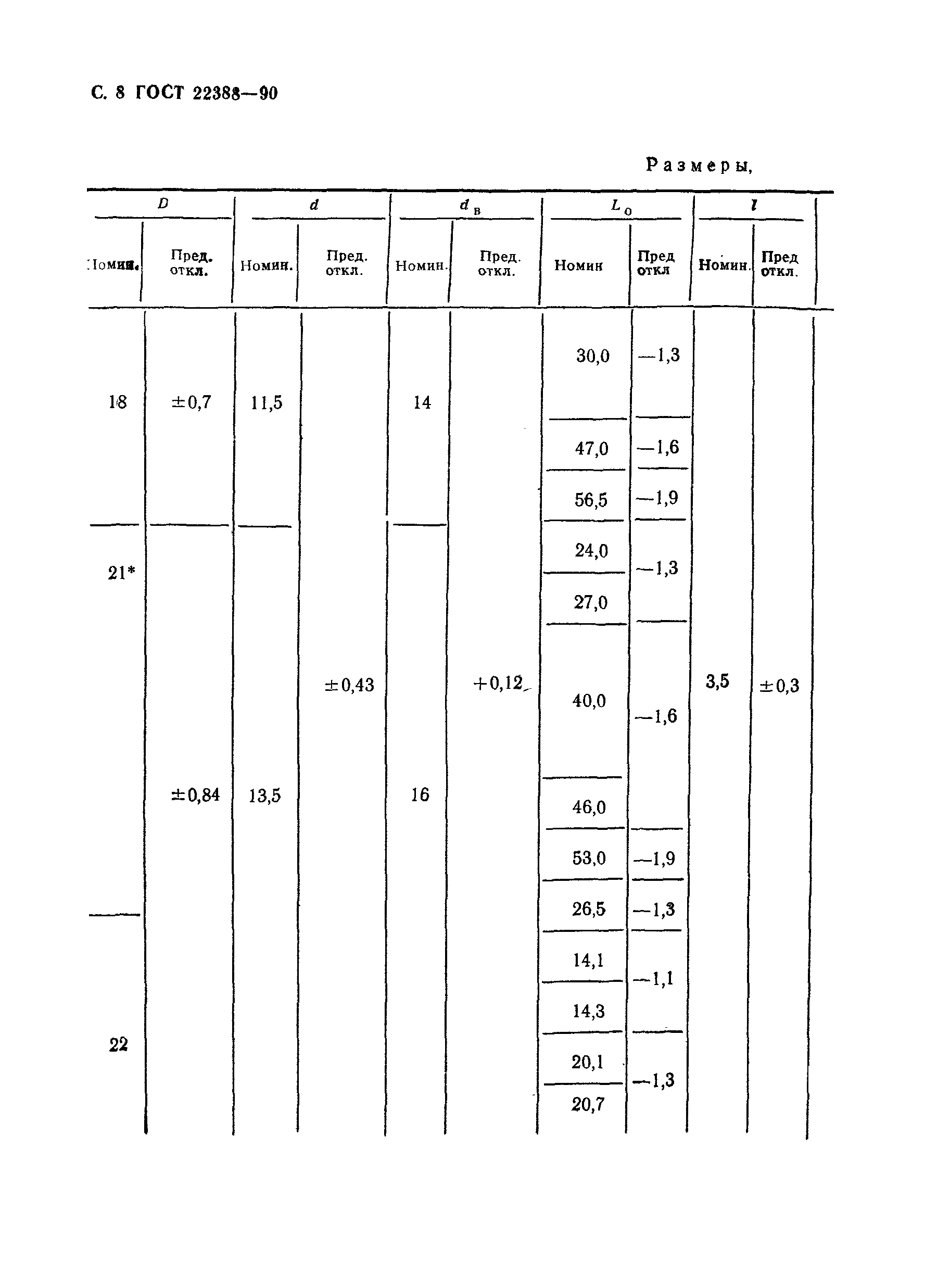
Дата актуализации: 10.08.2017

Статус:действует
Дата добавления в базу:01.09.2013
Дата актуализации:-
Расположен в:Техническая документация

© 2013 Ёшкин Кот :-) Карта сайта