Информационная система
«Ёшкин Кот»

Скачать базу одним архивом
Скачать обновления
История создания базы
Карта сайта

Скачать РД 24.031.17-88 Методические указания. Выбор типов и методика расчетов сварных стыков двутавров и швеллеров стальных конструкций паровых стационарных котлов

Дата актуализации: 10.08.2017

РД 24.031.17-88

Методические указания. Выбор типов и методика расчетов сварных стыков двутавров и швеллеров стальных конструкций паровых стационарных котлов

Обозначение: РД 24.031.17-88
Обозначение англ: RD 24.031.17-88
Статус:действует
Название рус.:Методические указания. Выбор типов и методика расчетов сварных стыков двутавров и швеллеров стальных конструкций паровых стационарных котлов
Дата добавления в базу:01.09.2013
Дата актуализации:05.05.2017
Дата введения:01.01.1991
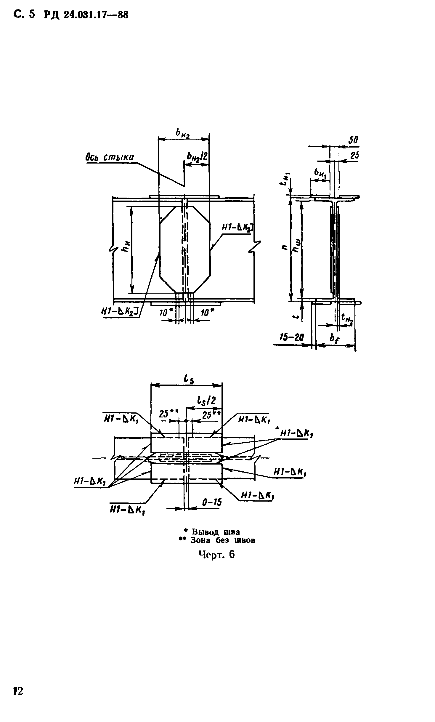
Область применения:Указания распространяются на сварные стыки двутавров и швеллеров стальных конструкций паровых стационарных котлов и устанавливают требования к выбору типов сварных швов и методику их расчета.
Оглавление:1. Общие положения
2. Методика расчёта стыков с зазором на равнопрочных накладках
3. Методика расчёта стыков без зазора с усилением полок накладками
Информационные данные
Разработан: НПО ЦКТИ им. И.И. Ползунова
Утверждён:27.12.1988 Министерство тяжелого, энергетического и транспортного машиностроения СССР (ВА-002-1/14209)
Расположен в:Техническая документация Экология ЭНЕРГЕТИКА И ТЕПЛОТЕХНИКА Горелки. Котлы Котлы и теплообменники Строительство Нормативные документы Отраслевые и ведомственные нормативно-методические документы Проектирование и строительство объектов энергетического комплекса
Заменяет собой:
  • ОСТ 108.250.21-78
Нормативные ссылки:
РД 24.031.17-88РД 24.031.17-88РД 24.031.17-88РД 24.031.17-88РД 24.031.17-88РД 24.031.17-88РД 24.031.17-88РД 24.031.17-88РД 24.031.17-88РД 24.031.17-88РД 24.031.17-88

© 2013 Ёшкин Кот :-) Карта сайта