| ||||||||||||||||||||||||||||||||
Скачать ОСТ 108.271.105-76 Подогреватели пароводяные тепловых сетей. Типы, основные параметры, конструкции, размеры и технические требованияДата актуализации: 10.08.2017
|
| Обозначение: | ОСТ 108.271.105-76 |
| Обозначение англ: | OST 108.271.105-76 |
| Статус: | не определен законодательством |
| Название рус.: | Подогреватели пароводяные тепловых сетей. Типы, основные параметры, конструкции, размеры и технические требования |
| Дата добавления в базу: | 01.09.2013 |
| Дата актуализации: | 05.05.2017 |
| Дата введения: | 30.06.2003 |
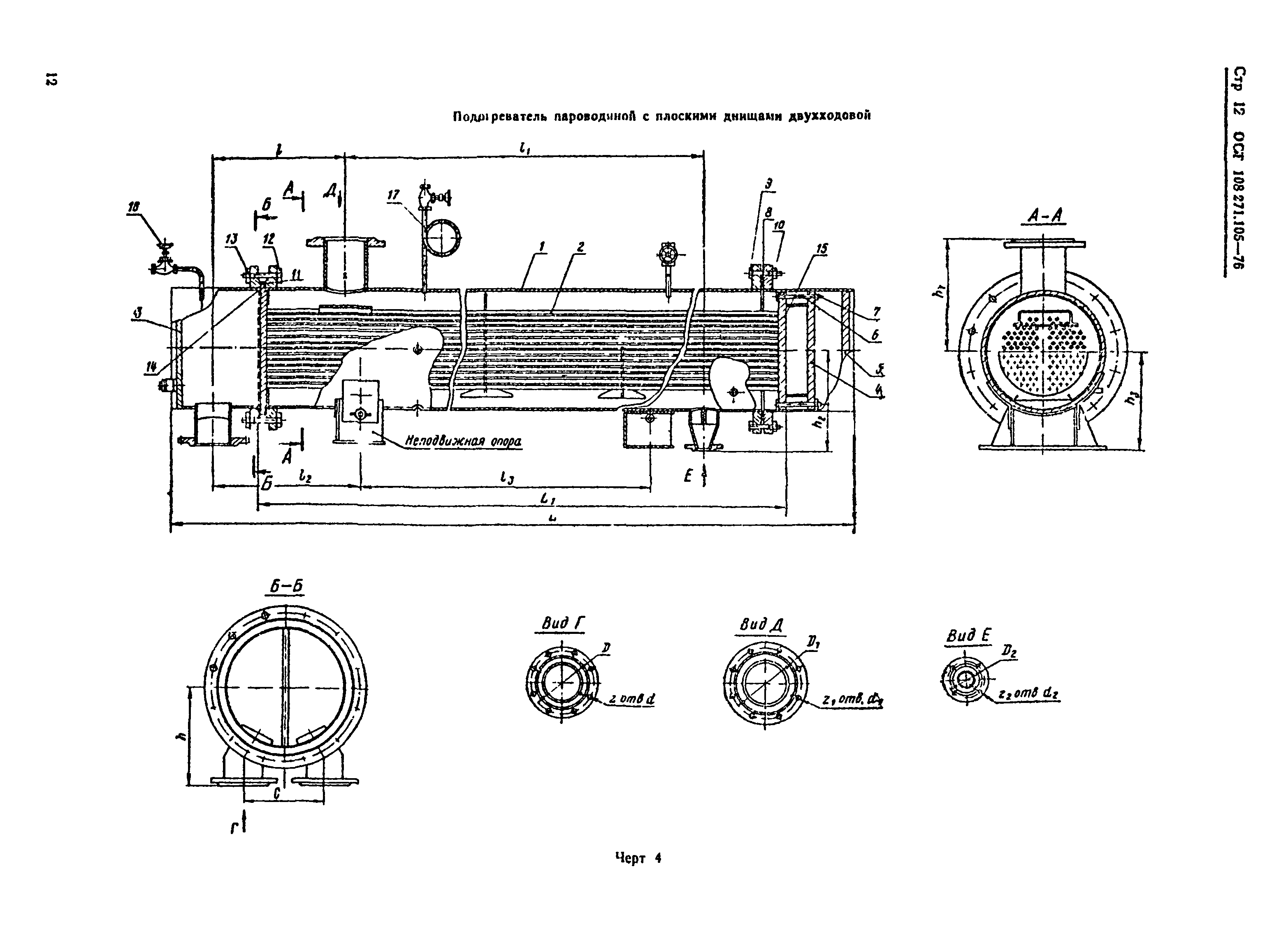
| Область применения: | Стандарт распространяется на пароводяные подогреватели, предназначенные для систем отопления и горячего водоснабжения, работающих по температурным режимам 70/150 град. С, 70/130 град. С и 70/95 град. С |
| Оглавление: | 1. Типы, основные параметры и размеры 2. Технические требования 3. Комплектность 4. Правила приемки и методы контроля 5. Маркировка, консервация, упаковка, транспортирование и хранение 6. Гарантии изготовителя Приложение 1. Рекомендации по выбору пароводяных подогревателей Приложение 2 |
| Разработан: | НПО ЦКТИ им. И.И. Ползунова |
| Утверждён: | 27.12.1976 Министерство энергетического машиностроения (Ministry of Energy Machinery Manufacturing ПС-002/9623) |
| Принят: | Госгортехнадзор СССР (USSR Gosgortekhnadzor ) Трест Союзкотлокомплект ЦПКБ Главтехмонтаж Минмонтажспецстроя |
| Расположен в: | |
| Список изменений: |



















Текстовое изменение № 1 от 01.01.1983

Текстовое изменение № 2 от 01.01.1988

Текстовое изменение № 3 от 01.07.1993










Текстовое изменение № от 15.02.1994


