Скачать СТО 0060-2008 Стандарт организации. Конструкции систем вентилируемых фасадов с несущим каркасом из стальных гнутых профилей и наружной облицовкой из различных материалов. Расчет, проектирование, монтажДата актуализации: 10.08.2017 СТО 0060-2008
Стандарт организации. Конструкции систем вентилируемых фасадов с несущим каркасом из стальных гнутых профилей и наружной облицовкой из различных материалов. Расчет, проектирование, монтаж| Обозначение: | СТО 0060-2008 | | Обозначение англ: | STO 0060-2008 | | Статус: | действует | | Название рус.: | Стандарт организации. Конструкции систем вентилируемых фасадов с несущим каркасом из стальных гнутых профилей и наружной облицовкой из различных материалов. Расчет, проектирование, монтаж | | Дата добавления в базу: | 01.09.2013 | | Дата актуализации: | 05.05.2017 | | Дата введения: | 30.12.2008 | | Область применения: | Стандарт устанавливает требования, необходимые при проектировании, монтаже и эксплуатации фасадных систем со стальным каркасом из гнутых профилей, изготавливаемых ЗАО "ОЗЛК". | | Оглавление: | 1 Область применения 2 Нормативные ссылки 3 Термины и определения 4 Общие положения 5 Материалы 6 Конструктивные решения 7 Соединения 8 Расчет стальных конструкции систем вентилируемого фасада (СВФ) 8.1 Нагрузки и воздействия 8.2 Расчет вертикальных направляющих 8.3 Расчет горизонтальных направляющих 8.4 Расчет кронштейна 8.5 Расчет соединений 9 Особенности монтажа конструкций вентилируемого фасада 10 Коррозионная стойкость стальных конструкций СВФ 11 Пожарная безопасность СВФ Приложение А (обязательное) Библиография | | Разработан: | ЗАО ЦНИИПСК им. Мельникова ЗАО ОЗЛК
| | Утверждён: | 29.12.2008 ЗАО ЦНИИПСК им. Мельникова (412) 30.12.2008 ЗАО ОЗЛК (4511)
| | Расположен в: |
| | Нормативные ссылки: | |
                                              
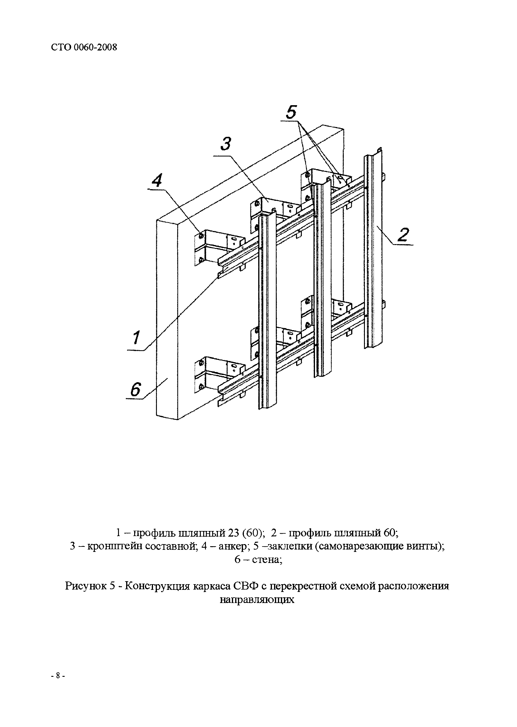
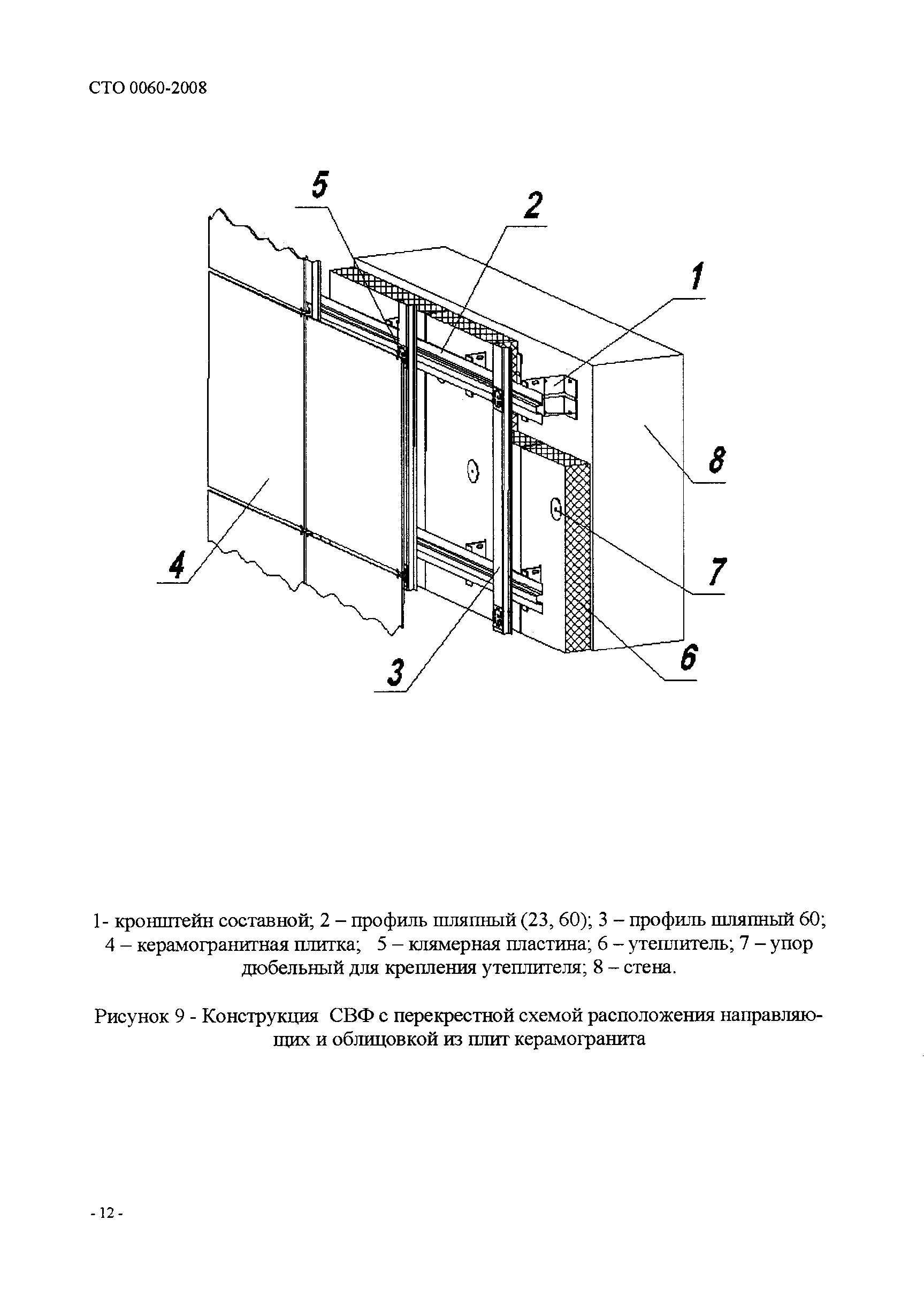
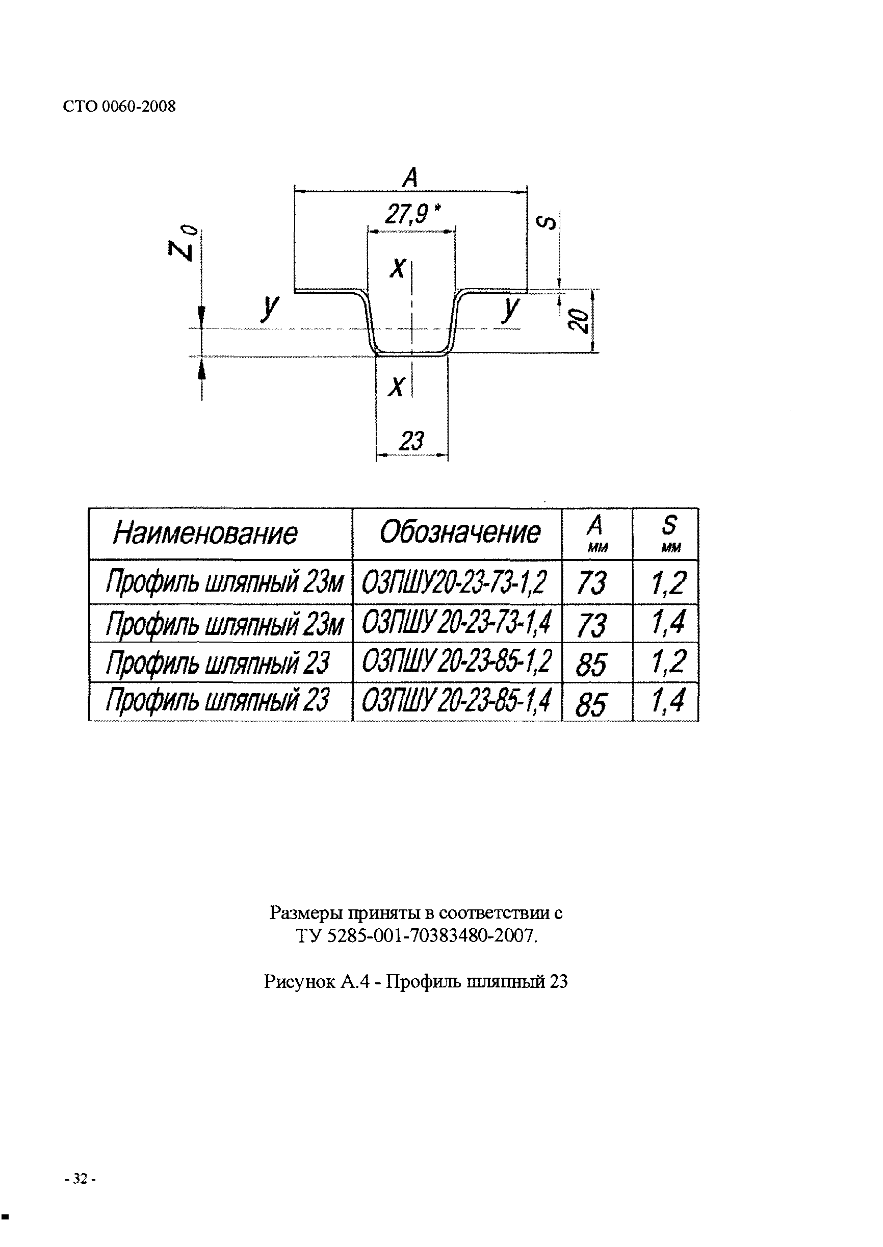
|