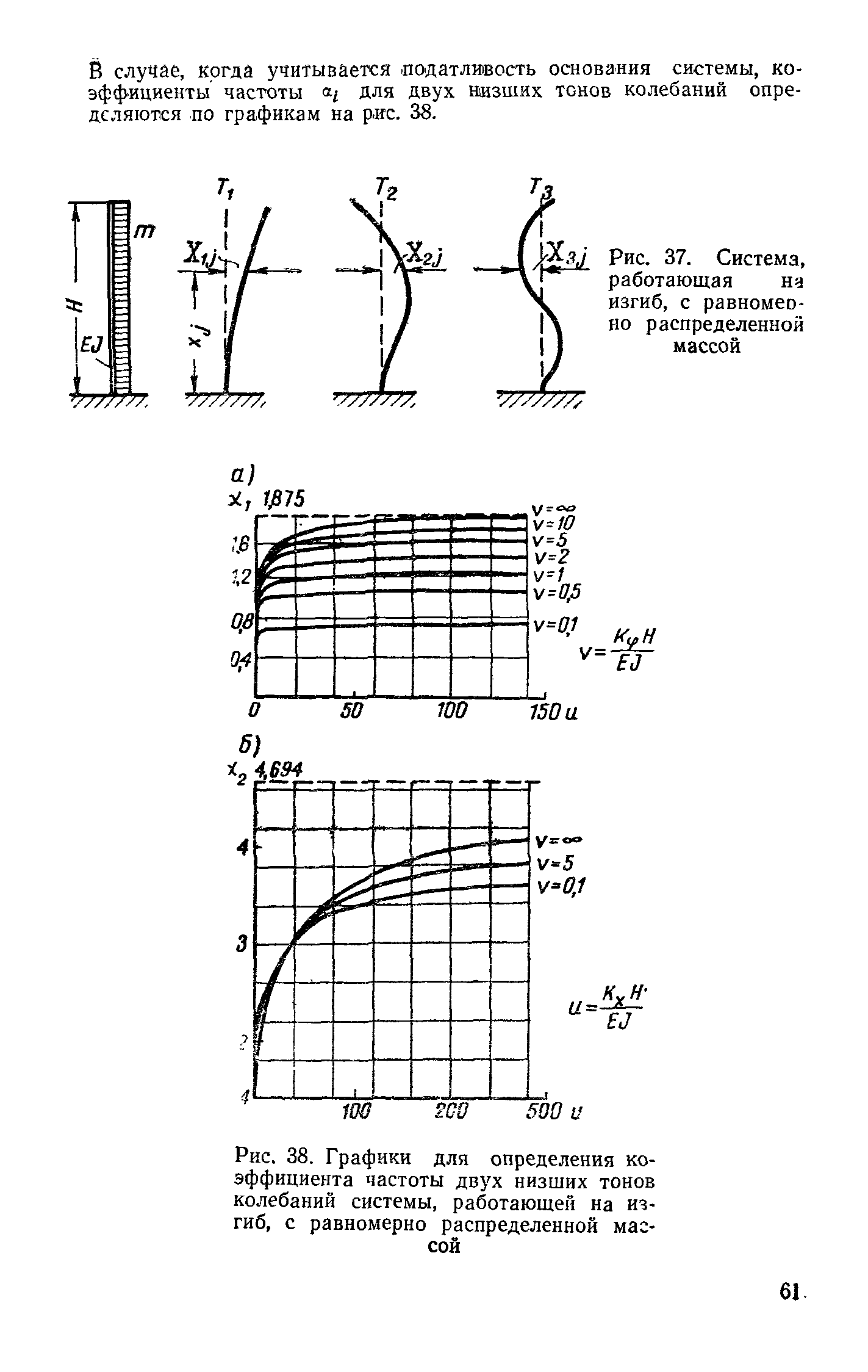
| ||||||||||||||||||||
Скачать Инструкция по определению расчетной сейсмической нагрузки для зданий и сооруженийДата актуализации: 10.08.2017 |
| Статус: | не действует |
| Название рус.: | Инструкция по определению расчетной сейсмической нагрузки для зданий и сооружений |
| Дата добавления в базу: | 01.09.2013 |
| Дата актуализации: | 05.05.2017 |
| Область применения: | Инструкция составлена как дополнение и разъяснение раздела II главы II-А.12-62 СНиП, в котором изложена методика расчета сооружений на действие сейсмических сил. |
| Оглавление: | Введение Принятые обозначения Сейсмическая нагрузка А. Общие положения Б. Нагрузка на сооружения В. Расчет соединений и неосновных конструкций Особенности расчета на действие сейсмических сил Приложение I. Вычисление перемещений и жесткости конструкций в горизонтальном направлении Приложение II. Определение периодов и форм свободных колебаний сооружений Приложение III. Примеры расчета 1. Водонапорная башня 2. Водонапорная башня 3. Эстакада с резервуарами 4. Мельница. Здание со сложной конструктивной схемой 5. Двухэтажное кирпичное здание 6. Крупноблочный жилой дом 7. Крупнопанельный дом 8. Элеватор 9. Одноэтажный цех 10. Трехэтажное каркасное здание фабрики 11. Дымовая труба 12. Вертикальный аппарат химического производства |
| Разработан: | ЦНИИСК АСиА СССР |
| Расположен в: |































































































































