Скачать ОСТ 26-02-2048-79 Люки из двухслойных сталей с уплотнительной поверхностью типа выступ-впадина на Ру от 1,6 до 4,0 МПа. Конструкция и размерыДата актуализации: 10.08.2017 ОСТ 26-02-2048-79
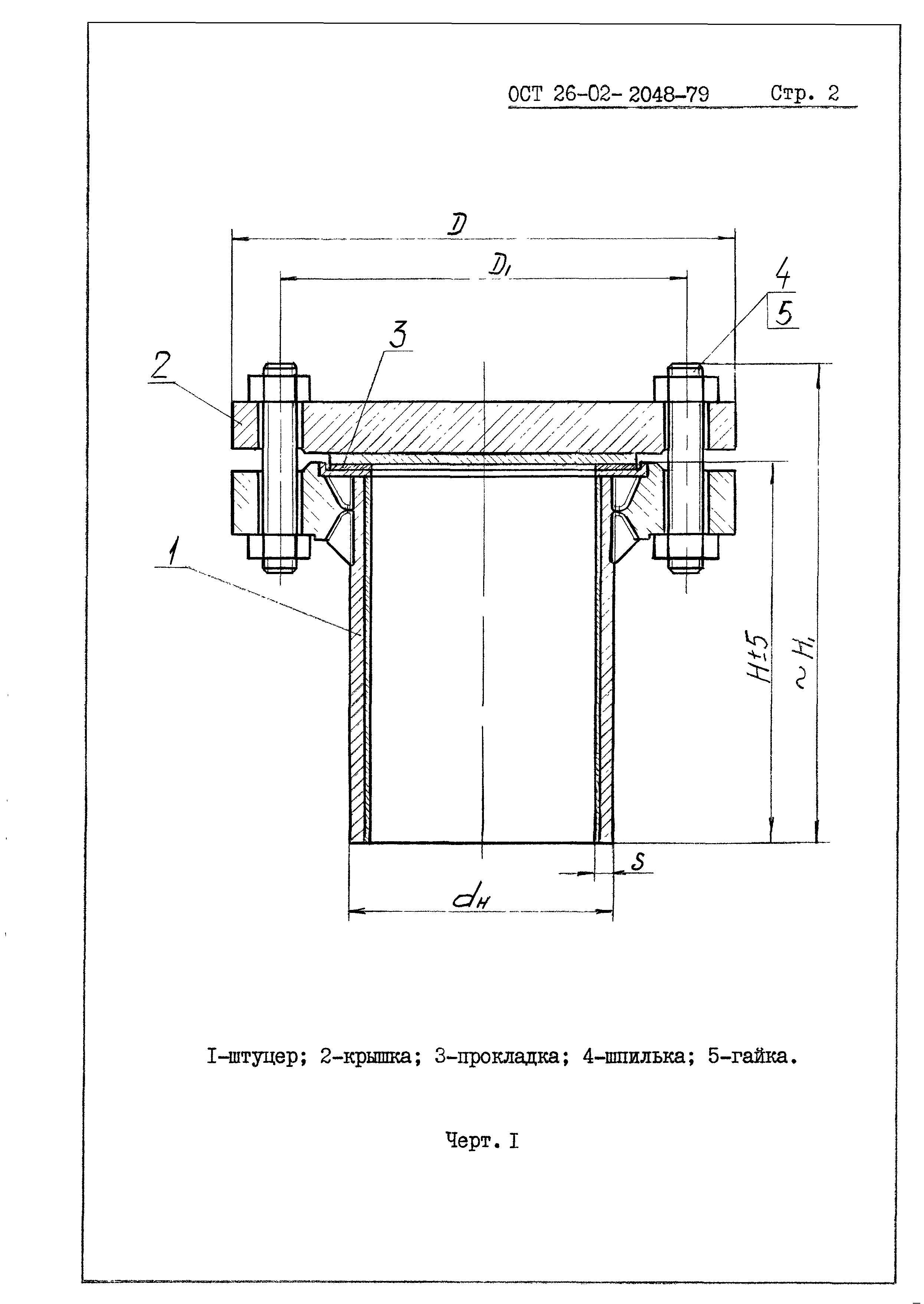
Люки из двухслойных сталей с уплотнительной поверхностью типа выступ-впадина на Ру от 1,6 до 4,0 МПа. Конструкция и размеры| Обозначение: | ОСТ 26-02-2048-79 | | Обозначение англ: | OST 26-02-2048-79 | | Статус: | не определен законодательством | | Название рус.: | Люки из двухслойных сталей с уплотнительной поверхностью типа выступ-впадина на Ру от 1,6 до 4,0 МПа. Конструкция и размеры | | Дата добавления в базу: | 01.09.2013 | | Дата актуализации: | 05.05.2017 | | Дата введения: | 30.06.2003 | | Область применения: | Стандарт распространяется на люки из двухслойных сталей с плоскими приварными фланцами на условный проход Ду от 400 до 500 мм, условное давление Ру 1,6 и 2,5 МПа (16 и 25 кгс/см кв.) и температуру от минус 60 до 475 град. С, также на люки с приварными встык фланцами на условный проход Ду от 400 до 500 мм, условное давление Ру 4,0 МПа (40 кгс/см кв.) с наплавленной уплотнительной поверхностью типа "выступ-впадина" и температуру от минус 60 до 560 градусов Цельсия | | Утверждён: | 16.07.1979 Минхимнефтемаш СССР (USSR Minkhimneftemash )
| | Расположен в: |
| | Список изменений: | | | Заменяет собой: | |
    
Текстовое изменение № 3 от 01.01.1991
 
Текстовое изменение № 4 от 01.09.1993
|